Характеристики компонентов волоконно-оптических систем передачи
1. Оптические кабели и разъемы, их конструкции и параметры.
1.1 ТЕХНИЧЕСКАЯ РЕАЛИЗАЦИЯ ВОЛС
Элементную базу ВОЛС составляют волоконно-оптические кабели, передающие и приемные оконечные устройства (модули), оптические соединители, разветвители, коммутаторы. Именно из этих аппаратурных средств создаются системы оптической связи. Но каждый из названных элементов представляет собой сложное.
1. Это обратное рассеяние, в особенности рассеяние Мандельштама — Бриллюэна, позитивно используется как прецизионный «инструмент» исследования характеристик световода вдоль его длины устройство, в свою очередь состоящее из нескольких комплектующих элементов, свойства и характеристики которых в конечном счете определяют возможности ВОЛС. Эти оптические, опто-, микроэлектронные, оптико-механические элементы (изделия, материалы) также входят в элементную базу ВОЛС.
Оптические волокна. Определяющими в технике ВОЛС являются кварцевые двухслойные волокна трех основных разновидностей: многомодовые ступенчатые и градиентные, а также одномо-довые (рис. 1). В одномодовых волокнах закон изменения показателя преломления внутри сердцевины неважен, поэтому эти волокна, как правило, близки к ступенчатым. Показанный на

Рис. 1 Геометрия и профиль изменения показателя преломления кварцевых двухслойных многомодовых ступенчатых (а), градиентных (б), одномодовых (в) волокон.
Геометрия сердцевины и числовые апертуры кварц-полимерных (г), из многокомпонентных стекол (д) и полимерных (е) световодов рисунке третий наружный слой в механизме светопередачи участия не принимает.

Рис. 2 Ход световых лучей в оптических волокнах с разными коэффициентами преломления
Волоконно-оптический кабель (ВОК). Наиболее широкое распространение получили четыре основные конструкции ВОК (рис. 9.9): повивная, в которой волоконные модули обвиваются вокруг центрального упрочняющего элемента; кабели пучковой скрутки, в которых навивке подвергаются группы (пучки) модулей, предварительно уложенные в трубки; кабели с профильным упрочняющим элементом, в которых волоконные модули свободно укладываются в винтообразные пазы упрочняющего элемента; ленточные кабели, в которых скручиванию подвергаются ленты, содержащие несколько волокон и набранные стопой. Первые две конструкции являются классическими, заимствованными из электротехнической практики.

Рис. 3. Основные разновидности волоконно-оптических кабелей: повивная конструкция (а), кабели пучковой скрутки (б), с профильным упрочняющим элементом (б), ленточный (г): 1 — волоконно-оптический модуль; 2 — упрочняющий элемент; З — защитная оболочка
Независимо от конкретной конструкции основными элементами кабеля (кроме волоконных модулей) являются (на рис. 3 показаны упрощенные варианты): упрочняющие элементы, обычно полимерные, иногда металлические, служащие для придания кабелю необходимой разрывной прочности и разгрузки волокон от растяжения; наружные защитные покрытия, нередко многооболочечные, предохраняющие от проникновения влаги, паров вредных веществ и от внешних механических воздействий; армирующие элементы, повышающие сопротивляемость кабеля радиальным механическим воздействиям; изолированные металлические провода, монтируемые в кабеле наряду с оптическими волокнами и обеспечивающие электропитание ретрансляторов на линии связи; внутренние разделительные слои и ленты, скрепляющие отдельные группы элементов и уменьшающие давление различных элементов конструкции друг на друга; гидрофобный заполнитель, ослабляющий вредное воздействие влаги на оптические волокна.
Обширные исследования световодных кабелей, создание огромного числа разнообразных конструкций, более -чем 15-летний опыт производства и применения этих изделий — все это не привело, однако, к выработке окончательных оптимизированных решений. Появление микронзгибов волокна в составе кабеля, терморассогласование волокна и кабельных материалов, гарантированная защита от воздействия влаги на волокно — эти проблемы по-прежнему далеки от полного разрешения.
Передающие и приемные модули. Назначение передающего модуля (рис. 4) состоит в преобразовании входной информации в виде, электрических сигналов в оптические сигналы, согласованные с каналом передачи (волоконным световодом); при этом модуль должен надежно функционировать при всех возможных изменениях внешних воздействующих факторов (температуры, -влажности, вибрации, колебаний напряжений питания и т. п.).
В устройстве возбуждения сигнал, поступающий через входной электрический разъем, преобразуется в мощные импульсы накачки, превышающие порог генерации лазера. Это устройство может осуществлять и некоторые дополнительные функции: задание постоянного смещения (предпороговая подпитка); придание импульсу накачки специальной формы, обеспечивающей форсирование начала и обрыва генерации; изменение длительности импульса возбуждения по сравнению с поступающим импульсом (например,, для улучшения теплового режима работы лазера) и т. п. В устройство возбуждения могут быть введены и блоки, выполняющие

Рис.4. Структурные схемы:
а
— передающего
модуля (1 — входной
электрический
соединитель;
2 — схема возбуждения;
3 — схема обратной
связи; 4 — оптическое
устройство
(
—
светоделитель;
—
согласующие
элементы;
—оптический
соединитель);
5 — термоэлектрический
охладитель
(
—
активный элемент;
—схема
управления;
—датчик
температуры);
6 — корпус); 6—
приемного
модуля (1 — оптический
соединитель;
2— усилитель
(включая предварительный
усилитель
);
3 — схема оптимальной
(квазиоптимальной)
обработки
(фильтр); 4— схема
принятия
решения; б —
электрический
соединитель;
в — корпус)
электрические
информационные
цепи;
цепи
питания;
оптические
сигналы
совершенно иные функции: аналого-цифровое преобразование сигнала, кодирование, мультиплексирование и др. В этом случае передающий модуль фактически превращается в оконечное устройство линии передачи информации; -его описание выходит за рамки данного рассмотрения. Устройство возбуждения выполняется в виде интегральной монолитной или гибридной микросхемы.
«Центром»
передающего
модуля является
излучатель
— именно в нем
происходит
оптоэлектронное
преобразование.
Основные излучатели
ВОЛС — полупроводниковые
инжекционные
гетеролазеры
на основе соединений
(для
диапазона длин
волн 0,8 ... 0,9 мкм) и
(1,3... 1,6 мкм). Используются
практически
все структуры,
предназначенные
для получения
низкого тока
накачки и высокой
степени когерентности:
полосковые
лазеры, лазеры
с зарощенной
структурой,
с распределенной
обратной связью
и сдвоенные
лазеры со
сколото-связанными
резонаторами.
Модуль может
содержать
одновременно
несколько
лазеров, излучающих
на разных длинах
волн (для целей
спектрального
мультиплексирования),
в этом случае
структурная
схема соответственно
видоизменяется
и усложняется.
Излучение лазера поступает на выходное оптическое устройство, включающее элементы согласования (селективные фильтры или смесители мод; элементы, преобразующие диаграмму направленности излучения к оптимальному для ввода в волокно виду) и оптический соединитель. Часть светового потока лазера с помощью светоделителя (или путем использования внеапертурного излучения) направляется на фотоприемник обратной связи, который через микроэлектронное устройство управления так воздействует на устройство возбуждения к на лазер, чтобы осуществлялась компенсация температурных, деградационных и других изменений мощности на выходе модуля. Для ослабления температурных эффектов в модуль вводится термоэлектрический охладитель, включающий измеритель и схему автоматической регулировки температуры.
Важнейшей частью модуля является корпус, выполняемый обычно в виде плоской прямоугольной металлической коробочки с электрическим и оптическим соединителями на противоположных торцах. В тех случаях, когда предполагается монтаж модуля непосредственно на печатную плату, электрический соединитель заменяется системой выводов.
Для коротких ВОЛС с невысокими скоростями передачи информации удобно вместо лазера использовать светодиоды: это повышает надежность и долговечность передающего модуля, снижает его стоимость, резко упрощает структурную схему. В этом случае термоэлектрические охладители не нужны, исключается также цепь фоточувствительной обратной связи.
Передающие модули на основе полупроводниковых инжекционных излучателей (лазеров и светодиодов) характеризуются всеми достоинствами, присущими этим приборам: малыми габаритными размерами, долговечностью и надежностью, экономичностью, малыми питающими напряжениями, простотой модуляции.
Приемный
модуль (рис.
9.10,6) предназначен
для обратного
преобразования
оптического
сигнала, поступающего
из канала передачи
(световода), в
электрический
и его восстановление
до исходного
вида; через
оптический
согласующий
элемент (обычно
оптический
соединитель,
а иногда и
фокусирующая
линза) излучение
поступает на
чувствительную
площадку
фотоприемника,
в качестве
которого практически
повсеместно
используются
фотодиоды:
лавинные и
с
-структурой.
Для спектрального
диапазона
=
0,8... 0,9 мкм это кремниевые
фотодиоды, для
диапазона
=
1,3... 1,6 мкм — фотодиоды
на основе германия
и главным образом
на основе
соединений
или
Определенные
перспективы
для фотоприема
в ВОЛС имеют
гетерофототранзисторы
со сверхтонкой
базовой областью
и планарные
фоторезисторы
(на основе кремния,
арсенида галлия
и др.).
Назначение последующих каскадов структурной схемы рис. 9.10,6 состоит в обеспечении оптимального (или квазиоптимального) приема, т. е. в реализации такого алгоритма, который позволяет получить наилучшие характеристики (порог чувствительности, полоса частот и др.) при неизбежном действии шумов и искажениях. Конкретное исполнение этих каскадов зависит от типа используемого фотоприемника и вида поступающих информационных сигналов (их амплитуды, частоты следования, кода и др.).
Предварительные усилители обычно выполняются в одном из двух вариантов: высокоимпедансный (интегрирующий) усилитель тока (рис. 4) или трансимпедансный усилитель — преобразователь тока в напряжение, охваченный глубокой отрицательной обратной связью (рис. 4). Первый вариант характеризуется наименьшим уровнем шумов и соответственно максимальной пороговой чувствительностью, но вместе с тем и ограниченным динамическим диапазоном, а также сложностью изготовления и индивидуальной настройкой. Для второго варианта, напротив, типичны большой динамический диапазон и широкая полоса частот, но он уступает первому по порогу срабатывания. В широкополосных трансимпедансных усилителях наилучшие шумовые характеристики достигаются при использовании биполярных транзисторов.
Схема обработки сигнала представляет собой специальный электронный фильтр, предназначенный для уменьшения межсимвольной интерференции, т. е. частичного наложения импульсов на выходе усилителя вследствие дисперсионных явлений в световоде и динамических искажений в приемопередающих модулях. В схеме принятия решения (как правило, компараторе) сигнал сравнивается с заданным смещением (порогом) и принимается решение об истинности поступившей информации.
Кроме передающих и приемных модулей в линиях дальней связи необходимы также ретрансляторы, в данном случае активные устройства с оптическими входом и выходом, в которых осуществляется регенерация (восстановление) оптических сигналов по мере их затухания при прохождении по световоду. Практически ретранслятор представляет собой объединение приемного и передающего модулей, т. е. оптоэлектронное устройство с двойным преобразованием энергии вида свет — электричество-—свет. Развитие интегральной оптики и бистабильных оптических устройств обещает привести к созданию ретранслятора ВОЛС, непосредственно оперирующего с оптическими сигналами во всех звеньях.

Рис. 4. Схемы предварительных усилителей приемного модуля:
а
— с интегрирующей
-цепочкой;
б — трансимпедансного
усилителя (
—
полная входная
емкость,
—
резистор обратной
связи, ,
—
эквивалентное
входное сопротивление,
— интегрирующая
емкость,
—операционный
усилитель)
Коммутационные элементы (элементы связи). Это набор пассивных оптических элементов, приборов, устройств, обеспечивающих объединение линейного тракта (кабеля) и активных приемно-передающих модулей в единую систему передачи с произвольной структурной конфигурацией и с заданным алгоритмом распределения световых сигналов в этой системе. Коммутационные элементы содержат несколько групп изделий.
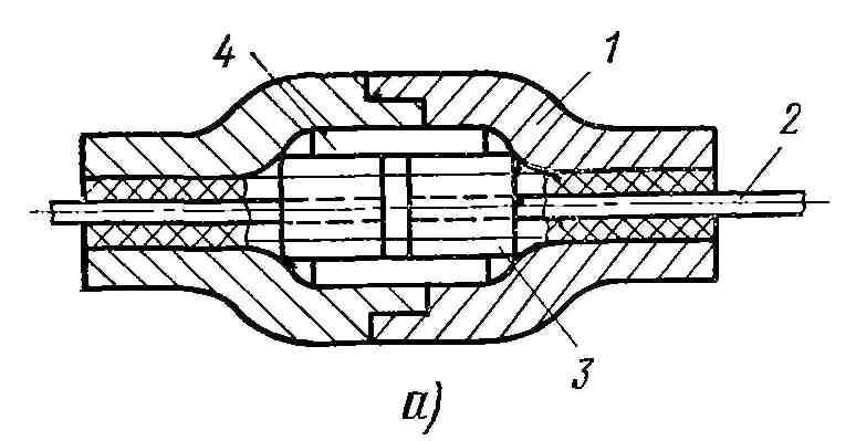
Оптические соединители предназначены для многократного сочленения-расчленения концов двух отрезков кабеля (соединители типа кабель — кабель) или конца кабеля с передающим (приемным) модулем (блочные соединители). По числу одновременно соединяемых световодов они делятся на одно- и многоволоконные. В типичном одноволоконном (однополюсном) оптическом соединителе (рис. 9.12,а) конец кабеля армируется жестким калиброванным цилиндрическим элементом так, чтобы оси этого элемента и сердцевины волокна строго совпадали. В этом случае при соединении цилиндрические элементы совмещаются с помощью направляющей муфты, автоматически обеспечивая и совмещение осей волокон. В многоволоконных (многополюсных) соединителях (рис. 9.12,6) чаще всего используют конструкцию с У-образными канавками, в которых и размещаются отдельные световоды. Кроме соединителей линейного типа (рис. 5) известны матричные с числом одновременно сочленяемых световодов .до 100... 150. Заметим, что число разновидностей опторазъемов, отличающихся друг от друга принципом сведения сочленяемых элементов, чрезвычайно велико: число наименований патентной литературы по этому направлению превышает несколько тысяч.



Рис. 5. Оптические коммутационные элементы:
а,
б — однополюсный
и многополюсный
соединители;
в — голографический
коммутатор;
1 — кожух; 2 — волокно;
3 — армиров-ка;
4 — направляющая
муфта; 5 — корпус;
6 — волокна; 7 —
цилиндрические
выравнивающие
элементы; 8 —
плоскость
излучения
волокон); 9 —
отклоняющий
элемент; 10 —
плоскость
приема Г
волокон)

Рис. 6. Зависимость вносимых потерь сочленения двухслойных волокон от зазора между торцами (а), угла перекоса (б) и несоосности (в)
Чисто внешне оптические соединители обычно оформляются так же, как электрические для унификации в сфере применения.
Основной
параметр оптического
соединителя
вносимые ш>
тери пропускания
;
приемлемый
уровень этих
потерь 1 дБ.
Величину
составляют
неидеальность
механизма
соединителя
(допуски при
обработке
деталей, истирание
и усадка, различие
температурных
коэффициентов
используемых
материалов
и т. п.); несовершенство
используемых
волокон (линейные
колебания
диаметра и
числовой апертуры,
допуски на
диаметры сердцевины
и оболочки,
эллипсность
их сечений,
эксцентриситет
и т. п.); технологические
погрешности
при заделке
(армировании)
конца кабеля,
обусловливающие
разъюстировку
центров сердцевины
волокна и
направляющего
элемента; воздействие
внешних факторов
(ударов, вибраций,
температуры,
влажности и
т. п.) в процессе
эксплуатации.
При расчете
используют
зависимости
(теоретические
или эмпирические),
подобные тем,
которые представлены
на рис. 6. Из этих
графиков видно,
что
1
дБ вполне реально,
однако требует
высокой прецизионности
во всех компонентах
сочленения.
Оптические разветвители, составляющие другую значительную группу рассматриваемых пассивных элементов, представляют собой устройства, в которых излучение, подаваемое на вход (или входы), распределяется по заданному закону между его выходами; наибольшее распространение получили направленные ответ-вители (разветвители) и типа «звезда» (рис. 6). В направленном ответвителе (рис. 7) выходы 3 и 4 должны быть связаны со входами 1 и 2 определенным образом, а входы / и 2 развязаны между собой. Основными параметрами этих устройств являются: коэффициент связи (от 0 до 100%, при 100% вся мощность входа / поступает только на выход 3); коэффициент направленности, характеризующий развязку входов / и 2, который обычно должен превышать 40... 60 дБ; вносимые потери, приемлемый уровень которых, как и в случае соединителя, близок к 1 дБ. Принцип

Рис. 7. Оптические двухполюсный направленный разветвитель (а) и типа «звезда» (б): 1 — сердцевина; 2 — зеркало; 3 — оболочка
действия ответвителя основан на «просачивании» части световой энергии из сердцевины в оболочку и через нее в другое волокно, контактирующее с первым на некотором протяжении. Практически такие элементы изготавливают путем спекания волокон цилиндрического или фоконного (конического) типа,, при этом для получения требуемых значений коэффициентов связи и направленности варьируют углы конусности, близость расположения волокон, длину области взаимодействия, размеры и состав характерных частей волокон.
Оптический разветвитель типа «звезда» предназначен для распределения входного сигнала между большим числом (до нескольких десятков) однотипных абонентов. Основу конструкции на рис. 9.14,6 составляет оптический смеситель, представляющий собой отрезок двухслойного световода большого диаметра с посеребренным торцом, в котором световой поток благодаря многократному отражению равномерно распределяется во все выходные световоды. Устройство обеспечивает минимальные потери сигнала, равенство этих потерь для любой пары выходов,, слабую зависимость потерь от числа обслуживаемых терминалов, надежность связи.
Оптические
коммутаторы
представляют
собой устройства,
функционально
реализующие
полнодоступную
схему с пг входами
и п выходами,
т. е. с
полюсами;
в частном случае
при
устройство
называют оптическим
переключателем.
К числу основных параметров этих приборов относятся вносимые потери, степень подавления перекрестных помех (ослабление сигнала между незамкнутыми полюсами), а также быстродействие, оцениваемое временем переключения из одного состояния в другое. Кроме того, важны потребляемая устройством мощность* спектральная полоса пропускания, вносимые модовые искажения.
В
устройстве
оптических
коммутаторов
используется
много различных
физических
принципов.
Исторически
первые электромеханические
коммутаторы
(например, с
поворачивающимися
зеркалами или
призмами) позволяют
относительно
просто коммутировать
большое число
каналов (до 8x8
и более), однако
быстродействие
их очень мало
(около
с).
Кроме того, они
громоздки и
не выдерживают
всего комплекса
эксплуатационных
воздействий
(в частности,
ударов и вибраций).
Значительно
более совершенны
коммутаторы,
использующие
электро-,, магнито-,
акус-тооптические
эффекты, особенно
при изготовлении
этих устройств
в интегрально-оптическом
исполнении.
Субнаносекундные
скорости
переключения,
вносимые потери
на уровне 3... 6 дБ,
подавление
перекрестных
помех более
чем на 50 дБ, микроваттный
режим управления
— все это представляется
достижимым
для интегрально-оптических
коммутаторов.
При этом одной
из важнейших
и сложных проблем
остается оптимальная
стыковка этих
устройств с
цилиндрическими
волокнами.
Кроме того,
интегрально-оптические
коммутаторы
удобны лишь
при сопряжении
небольшого
(до 10) числа каналов.
Кардинальное
решение проблемы
коммутации
большого числа
каналов (
)
связано с созданием
голографических
дифракционных
решеток в оптических
реверсивных
средах (рис.
9). При изготовлении
отклоняющей
пластины, например
из оксида
висмута-кремния
(В80), можно записывать
и стирать
голографические
дифракционные
решетки в реальном
масштабе времени.
Изменением
пространственной
частоты дифракционной
решетки можно
получать различные
отклонения
луча света в
двух взаимно
перпендикулярных
направлениях
и осуществлять
тем самым
коммутацию
каналов.
Дополнительное
достоинство
В80-кристаллов
— наличие внутренней
памяти: наведенная
решетка сохраняется
и после прекращения
записывающего
воздействия.
Кроме рассмотренных
трех основных
групп пассивных
элементов ВОЛС
имеется много
других. Оптические
аттенюаторы,
фильтры, линии
задержки, смесители
мод, оптические
мультиплексоры,
светоделители
оказываются
очень полезными,
а часто и необходимыми
при создании
разветвленных
волоконно-оптических
сетей передачи.
Новыми и достаточно специфическими являются элементы ввода-вывода излучения. Они выполняют функцию оптического согласования угловых апертур активных элементов (в первую очередь излучателя) и волокна. Оптимизация ввода излучения в волокно (рис. 10) может дать выигрыш по мощности до 10 дБ.
Объединение элементов в систему. Волоконно-оптическая связь с момента своего появления основывается на принципах передачи цифровой информации. Это обусловлено тремя основными причинами.

Во-первых, появление ВОЛС совпало со временем,, когда преимущества цифровых методов обработки и передачи информации перед аналоговыми стали очевидными; при этом зарождающееся направление не было связано какими-то старыми традиционными решениями. Во-вторых, широкопол осность ВОЛС сразу удовлетворяла требованиям цифровой связи. В-третьих, оптоэлектронный канал лазер — волокно — фотодиод не обладает необходимой линейностью передаточной характеристики и линеаризация ее очень сложна.
При передаче аналоговой информации (а исходная, первичная информация чаще всего имеет аналоговую форму) она перед поступлением в ВОЛС проходит ряд преобразований: дискретизацию (стробирование), кодирование (аналого-цифровое преобразование) и мультиплексирование (уплотнение отдельных информационных каналов).
Код передачи (или код системы связи) характеризует такие специфические отметки в передаваемой двоичной информации, которые в приемнике позволяют установить их однозначное соответствие цифровому сигналу, возбуждающему передатчик. Известно много вариантов кодирования; при выборе оптимального кода руководствуются такими соображениями, как простота кодирующего устройства, узкая полоса рабочих частот (это упрощает схему приемника и уменьшает эквивалентный входной шум), возможность одновременно с сообщением передавать и синхросигналы, исключение случайных ошибок передачи и т. п.
Широко
распространенными
являются (рис.
11) код «без возврата
к нулю» (БВН
или
в английском
написании) и
двухфазный
код типа
(или
«Манчестер-П»).
Для подавляющего
большинства
случаев простейший
код БВН удовлетворяет
всем требованиям
передачи данных.


Рис. 12. Кодирование:а — передаваемая информация; б — тактовые (синхро-) сигналы; в — код «без возврата к нулю»; г — код «Манчестер-П»
а — передаваемая информация; б — такто- мой мощности на входе приемного
вые (синхро-) сигналы; в — код «без воз- модуля и скорости передачи дискрет-
/
—
фотодиод
и полевые транзисто-
ры;
2 —
-фотодиод
и биполярные
тран-
зисторы; 3 — ЛФД и полевые транзисторы;.
4 — ЛФД н биполярные транзисторы
Поскольку он не требует операций кодирования и декодирования и эффективно использует полосу частот канала связи, характеристики кода задают некоторый стандарт, относительно которого оцениваются показатели других кодов. В БВН-коде поток данных отображается серией уровней напряжений, постоянных на интервале каждого передаваемого разряда. В манчестерском коде, напротив, каждый двоичный разряд соответствует переходу уровней, причем направление перехода определяет значение двоичной переменной (лог. 1 —- переход «вниа»-,. лог. О — переход «вверх»), В БВН-коде длинная последовательность единиц (или нулей) образует постоянный уровень, поэтому спектр БВН-сигнала занимает полосу от постоянной составляющей до половины тактовой частоты; манчестерский код занимает полосу от половины до полного значения тактовой частоты (поэтому приемник может быть узкополосным). Другими достоинствами манчестерского кода являются свойство самосинхронизации (передача тактового сигнала одновременно с сообщением), простота обнаружения ошибок, сбалансированность по постоянной составляющей. Эти особенности кода «Манчестер-П» проявляются с наибольшим эффектом при мультиплексировании нескольких каналов передачи информации в одном световоде; для одноканальной связи вполне достаточным (и оптимальным) является БВН-код.
Ошибки
па приемном
конце (восприятие
лог. 1 вместо
лог. О или наоборот)
возникают из-за
искажения
сигнала при
прохождении
по тракту (затухание,
дисперсия,
шумы). Мерой
качества передачи
сигнала является
вероятность
ошибки У, приемлемый
уровень этого
параметра
,
т. е. не более
одного сбоя
на
бит
информации.
Дальнейшее
повышение
надежности
передачи
обеспечивается
не аппаратурными,
а логическими
методами защиты;
Если шумовой
ток на входе
приемника
есть
случайная
гауссовская
переменная,
то его колебания
подчиняются
распределению
Пуассона и
нетрудно получить

где
— ток фотоприемника,
обусловленный
оптическим
сигналом. Из
(У.21)
следует, что
обеспечивается
при
При
расчете
системы учитывается
последовательное
ослабление
сигнала во всех
элементах ВОЛС:

где
в правой части
приведены
потери сигнала
в излучателе,
при вводе в
волокно, в тракте
[
из
(13)], в
оптических
соединителях,
при выводе и
в фотоприемнике.
При наличии
кроме соединителей'других
коммутационных
элементов их
потери пропускания
также вводятся
в правую часть
(9.22). Из-за неопределенности
ряда членов
правой части
(в частности,
практически
невозможно
оценить значения
в
(9.20)) недопустимо
работать на
уровне
;
реально должен
быть обеспечен
запас энергетического
потенциала
линии.
' Расчет по (9.22) справедлив лишь для статического низкочастотного режима работы; с ростом скорости передачи информации необходимая минимальная мощность бессбойно передаваемого сигнала растет (рис. 9.17).
Приведенные соображения касаются простейшей линии связи, соединяющей две