Учебное пособие: Методические указания по выполнению курсовго проекта
|
Название: Методические указания по выполнению курсовго проекта Раздел: Остальные рефераты Тип: учебное пособие | |||||||||||||||||||||||||||||||||||||||||||||||||||||||||||||||||||||||||||||||||||||||||||||||||||||||||||||||||||||||||||||||||||||||||||||||||||||||||||||||||||||||||||||||||||||||||||||||||||||||||||||||||||||||||||||||||||||||||||||||||||||||||||||||||||||||||||||||||||||||||||||||||||||||||||||||||||||||||||||||||||||||||||||||||||||||||||||||||||||||||||||||||||||||||||||||||||||||||||||||||||||||||||||||||||||||||||||||||||||||||||||||||||||||||||||||||||||||||||||||||||||||||||||||||||||||||||||||||||||||||||||||||||||||||||||||||||||||||||||||||||||||||||||||||||||||||||||||||||||||||||||||||||||||||||||||||||||||||||||||||||||||||||||||||||||||||||||||||||||||||||||||||||||||||||||||||||||||||||||||||||||||||||||||||||||||||||||||||||||||||||||||||||||||||||||||||||||||||||||||||||||||||||||||||||||||||||||||||||||||||||||||||||||||||||||||||||||||||||||||||||||||||||||||||||||||||||||||||||||||||||||||||||||||||||||||||||||||||||||||||||||||||||||||||||||||||||||||||||||||
| ФЕДЕРАЛЬНОЕ АГЕНТСТВО ПО ОБРАЗОВАНИЮ ФЕДЕРАЛЬНОЕ ГОСУДАРСТВЕННОЕ ОБРАЗОВАТЕЛЬНОЕ УЧРЕЖДЕНИЕ ВЫСШЕГО ПРОФЕССИОНАЛЬНОГО ОБРАЗОВАНИЯ «РОССИЙСКИЙ ГОСУДАРСТВЕННЫЙ УНИВЕРСИТЕТ ТУРИЗМА И СЕРВИСА» ФГОУВПО «РГУТиС»
(название факультета)
(название кафедры) УТВЕРЖДАЮ Проректор, к.и.н., доцент ______________________Юрчикова Е.В. «____»________________________201_ г. МЕТОДИЧЕСКИЕ УКАЗАНИЯ ПО ВЫПОЛНЕНИЮ КУРСОВГО ПРОЕКТА Дисциплина «ТЕОРИЯ, РАСЧЕТ И ПРОЕКТИРОВАНИЕ БЫТОВОЙ ХОЛОДИЛЬНОЙ ТЕХНИКИ И КОНДИЦИОНЕРОВ» (индекс и наименование дисциплины) Специальность 150408 «Бытовые машины и приборы» (код и наименование специальности) Специализация 150408.02 Бытовая холодильная техника, кондиционирование и приборы микроклимата Москва 2010 г. Методические указания по выполнению курсовой работы составлены на основании примерной программы дисциплины «ТЕОРИЯ, РАСЧЕТ И ПРОЕКТИРОВАНИЕ БЫТОВОЙ ХОЛОДИЛЬНОЙ ТЕХНИКИ И КОНДИЦИОНЕРОВ» (индекс и наименование дисциплины) При разработке методических указаний по выполнению курсовой работы в основу положен Государственный образовательный стандарт по специальности
(код и наименование специальности) Методические указания по выполнению курсовой работы рассмотрены и утверждены на заседании кафедры
(название кафедры) Протокол №_______ «_____» ____________________201_ г. Зав.кафедрой к.т.н., доцент Сумзина Л.В. Методические указания по выполнению курсовой работы рекомендованы Научно-методической секцией
(название факультета) Протокол №_______ «_____» ____________________201_ г. Председатель Научно-методической секции к.т.н., доцент Сумзина Л.В. Методические указания по выполнению курсовой работы одобрены Научно-методическим советом ФГОУВПО «РГУТиС» Протокол №_______ «_____»______________________201_ г. Ученый секретарь Научно-методического совета к.с.н. Артамонова М. В. Методические указания по выполнению курсовой работы разработал: Преподаватель кафедры профессор А.И. Набережных старший преподаватель А.В. Деменев ПРЕДИСЛОВИЕ Холодильная техника получила широкое применение в коммунальном и особенно в бытовом обслуживании. Эффективность работы холодильной техники, прежде всего, определяется техническим состоянием герметичного хладонового компрессора (ГХК). В последние годы наблюдается стабильная тенденция увеличения производства комбинированных холодильников-морозильников, агрегаты которых снабжены двумя компрессорами. Это приводит, с одной стороны, к ресурсосбережению и расширению функциональных возможностей, а с другой – к повышению уровня звуковой мощности холодильной техники. Возникает проблемная ситуация, суть которой заключается в необходимости увеличения энергоемкости ГХК при снижении уровня звуковой мощности и затратообразующих технических показателей производственных ресурсов. Поэтому решение обозначенной проблемы является актуальной задачей, реализация которой требует комплекса научно-исследовательских и конструкторско-технологических решений. 1. ОБЩИЕ ПОЛОЖЕНИЯ 1.1. Цель и задача курсовой работы. Целью выполнения курсового проекта м (КП) работы по дисциплине «ТЕОРИЯ, РАСЧЕТ И ПРОЕКТИРОВАНИЕ БЫТОВОЙ ХОЛОДИЛЬНОЙ ТЕХНИКИ И КОНДИЦИОНЕРОВ» является развитие и закрепление знаний, конструкторских навыков, полученных при изучении данной дисциплины, освоение методик расчета основных элементов конструкции машин и аппаратов бытового назначения. Основной задачей курсового проектирования является разработка конструкции бытовых машин и приборов и их элементов с учетом современных методов оценки их технического уровня и тенденций развития. 1. 2. Содержание и структура КП. КП состоит из расчетно-пояснительной записки (РПЗ) и графической части. Содержание РПЗ Аннотация. В аннотации приводится структура КП – состав и объем расчетно-пояснительной записки, а также цель и содержание поставленных задач, формулируется объект и предмет исследования. Аннотация должна ориентировать читателя в дальнейшем раскрытии темы, но и содержит все необходимые его квалификационные характеристики. Введение. Здесь обосновывается актуальность выбранной темы, Актуальность — обязательное требование к любой КР (КП). Поэтому вполне понятно, что ее введение должно начинаться с обоснования актуальности выбранной темы. Аналитический раздел. Обзор и сравнительный анализ существующих конструктивных решений бытовой техники. Дается краткое описание известной в настоящее время по литературным источникам конкретной бытовой техники (объект исследования). Приводятся результаты патентного поиска. Обзор проводится как по отечественной, так и по зарубежной литературе, в том числе с использованием научных периодических изданий. Анализируются и сравниваются параметры бытовой техники, отмечаются их достоинства и недостатки. Оценки должны проводиться для условий, оговоренных в задании на (КП) или для близких к ним. В разделе четко должно быть показано достоинство разрабатываемой бытовой техники по сравнению с существующими. Конструкторский раздел. Создается техническое задание объекта проектирования. Описание конструкции и работы разработанного холодильника-морозильника. Расчет теоретических циклов холодильных агрегатов для холодильной и морозильной камер на реальном холодильном агенте.Расчет теплопритоков в шкаф холодильника и определение холодопроизводительности холодильного агрегата и их конструктивного исполнения. Подобрать компрессоры в соответствие с рассчитанной холодопроизводительностью холодильных агрегатов и их теплообменных агрегатов. Выводы. Кратко излагаются основные результаты разработки, отмечаются оригинальные решения, полученные дипломником. Приводятся основные характеристики и технике-экономические показатели разработанной СКВ. Список используемой литературы Приложение Используемые табличные данные Спецификации на сборочные чертежи Оглавление 1.3. П орядок и правила оформления расчетно-пояснительной записки и чертежно-графической части проекта. 1.3.1. Графическая часть КП Графическая часть КП выполняется в среде AutoCAD -, и включает: Общий вид холодильника, компоновочные схемы агрегата, схема холодильника. сборочный чертеж компрессоров для холодильной и морозильной камеры. Оформление графической части КП должно соответствовать требованиям ГОСТа [24]. Расчетно-пояснительная записка КР является текстовым документом, следовательно, на неё распространяется требования ЕСКД ГОСТ 2.105 – 68. Текстовые документы необходимо выполнять на форматах ЕСКД – форма 2 и форма 2а. Каждый раздел, например, введение, аналитический раздел, начинается с новой страницы и оформляется в форму 2. Основная надпись, заполняется по ГОСТ 2.105 – 68 Документ обозначается в графе 2 следующим образом: КР - ****/** - 200* Где, первые две буквы - аббревиатура типа работы, цифры «****/**» - номер студенческого билета, «200*» - год, в который выполняется работа. КР 1234/98 – 2004 Нумерация в графе (7) основной надписи, заполняется по ГОСТ 2.105 – 68 и производится по разделам, а не сквозная. Сквозная нумерация ставится в правом верхнем углу. Содержание КП, разделяют на разделы и подразделы. Нумерацию листов документа производят в пределах каждого раздела. Разделы должны иметь порядковые номера, обозначенные арабскими цифрами с точкой в пределах всего документа (части). Подразделы должны иметь порядковые номера в пределах каждого раздела. Номера подразделов состоят из номеров раздела и подраздела, разделенных точкой. В конце номера подраздела также должна ставиться точки. Содержание каждого документа, при необходимости, разбивают на пункты - а пункты на подпункты, независимо от того, разделен документ на части, разделы, подразделы или нет. Если документ не имеет подразделов, то нумерация пунктов в нем должна быть в пределах каждого раздела и номер пункта должен состоять, из номеров раздела и пункта, разделенных точкой. В конце номера пункта также должна ставится точка, например: 1. Титульный лист.2. Задание3. Аннотация.4. Введение.5. Аналитический раздел.5.1. Направления развития бытовой холодильнй техники;5.2. Анализ схемных решений бытовых компрессионных холодильников;6. Конструкторский раздел6.1. Разработка технического задания на проектируемый холодильник;6.2. Обоснование проектирования холодильника;6.2.1. Описание базового холодильника;6.3. Разработка схемного решения холодильника;Каждый подпункт в пределах пункта должен начинаться с новой строки со строчной буквы и обозначаться строчными буквами русского алфавита со скобкой. В конце подпункта, если за ним следует еще подпункт, ставят точку с запятой. Содержащиеся в пунктах или подпунктах документа отдельные требования, указания или положения, излагаемые в виде вывода (перечисления), записывают с абзаца и заканчивается - « ; ». Наименования частей и разделов должны быть краткими, соответствовать содержанию и записываться в виде заголовков (в красную строку) прописными буквами (допускается строчными буквами). Наименование подразделов записывают в виде заголовков строчными буквами (кроме первой прописной). Переносы слов в заголовках не допускаются. Точку в конце не ставят. Если заголовок состоит из двух предложений, их разделяют точкой. Расстояние между заголовком и последующим текстом должно быть равно двум интервалам. Такое же расстояние выдерживают между заголовками раздела и подраздела. Расстояние между основаниями строк заголовка принимают таким же, как и в тексте. Для разделов, текст которых записывают на одном листе с текстом предыдущего раздела, а также для подразделов расстояние между последней строкой текста и последующим заголовком должно быть равно четырем интервалам. Текст пояснительной записки контрольной работы должен быть напечатан на одной стороне стандартного листа белой односортной бумаги через полтора интервала, черно-белого цвета с полями вокруг текста. Размер левого поля 30 мм, правого — 10 мм, верхнего — 20 мм, нижнего — 20 мм. Поля слева оставляют для переплета, справа — во избежание того, чтобы в строках не было неправильных переносов из-за неуместившихся частей слов. При таких полях каждая страница должна содержать приблизительно 1800 знаков (30 строк, по 60 знаков в строке, считая каждый знак препинания и пробел между словами также за печатный знак). Текст пояснительной записки контрольной работы печатается строго в последовательном порядке. Не допускаются разного рода текстовые вставки и дополнения, помещаемые на отдельных страницах или на оборотной стороне листа, и переносы кусков текста в другие места. Все сноски и подстрочные примечания перепечатывают (через один интервал) на той странице, к которой они относятся. Все страницы нумеруются начиная с титульного листа. Цифру, обозначающую порядковый номер страницы, ставят в правом верхнем поле страницы. Каждый новый раздел начинается с новой страницы. Это же правило относится к другим основным структурным частям работы: введению, заключению, списку литературы, приложениям, указателям. Фразы, начинающиеся с новой (красной) строки, печатают с абзацным отступом от начала строки, равным пяти ударам. Таблицы, рисунки, чертежи, графики, фотографии как в тексте контрольной работы, так и в приложении должны быть выполнены на стандартных листах размером 210 х 297 мм или наклеены на стандартные листы белой бумаги. Подписи и пояснения к фотографиям, рисункам должны быть обязательно и располагаться с лицевой стороны. Рисунки, фотографии должны быть без пометок, карандашных исправлений, пятен и загибов, набивка буквы на букву и дорисовка букв чернилами не допускается. Все ошибки и опечатки необходимо исправить. Число исправлений должно быть минимальным: на страницу не более пяти исправлений от руки чернилами черного цвета (если не возможно перепечатать). 1. РАСЧЕТ ОСНОВНЫХ РАЗМЕРОВ ШКАФА ДВУХКАМЕРНОГО ХОЛОДИЛЬНИКА
Геометрические размеры шкафа холодильника
6.6.1. Конструкторский расчет шкафа холодильника.
Толщина стенки холодильной камеры δХК = 45 мм. Толщина стенки морозильной камеры δМК = 68 мм. Длина шкафа холодильника а = 590 мм. Длина холодильной камеры аХК = 500 мм. аХК = а - 2δХК = 590 - 2 × 45 = 500 мм. Длина морозильной камеры аМК = 454 мм. аМК = а - 2δМК = 590 - 2 × 68 = 454 мм. Ширина шкафа холодильника b = 600 мм. Ширина холодильной камеры bХК = 510 мм. bХК = b - 2δХК = 600 - 2 × 45 = 510 мм. Ширина дверки морозильной камеры bДВ = 50 мм. Ширина морозильной камеры bМК = 482 мм. bМК = b – δМК – bДВ = 600 – 68 – 50 = 444 мм. Высота холодильной камеры hХК = 902 мм. hХК = (230 · 106 )/(500 × 510) = 902 мм Высота морозильной камеры hМК = 717 мм. hМК = (120 · 106 + 36,9 · 106 )/(454 + 482) = 717 мм Объем компрессионного отделения Vкомп = 36,9 дм3 . Vкомп = 250 × 250 × 590 = 36,9 дм3 Высота холодильника Н = 1800 мм. Н = hХК + hМК + 2 × δМК + δХК = 902 + 549 + 2 × 68 + 45 = 1800 мм 2. РАСЧЕТ ПЛОЩАДЕЙ СТЕНОК ХОЛОДИЛЬНИКА : Расчет площадей теплопередающих поверхностей: 1- верх низкотемпературной камеры; F1 = 0,59 × 0,6 = 0,354 м2 2- боковые стенки низкотемпературной камеры; F2 = 2 × (0,6 × 1,049) = 1,2588 м2 3- задняя стенка низкотемпературной камеры; F3 = 0,59 × 1,049 = 0,6189 м2 4- дверь низкотемпературной камеры; F4 = 0,59 × 1,049 = 0,6189 м2 5- боковые стенки холодильной камеры; F5 = 2 × (0,6 × 0,583) = 0,6996 м2 6- задняя стенка холодильной камеры; F6 = 0,59 × (0,583 - 0,25) = 0,1965м2 7- дверь холодильной камеры; F7 = 0,59 × (0,583 - 0,034) = 0,3239 м2 8- дно холодильной камеры; F8 = 0,59 × (0,6 - 0,25) = 0,2065 м2 9- компрессионное отделение. F9 = (0,59 × 0,25) + (0,6 × 0,25) = 0,295 м2 Окружающая температура воздуха - +55 о С; Температура воздуха у задней стенки - +57 о С; Температура воздуха в компрессионном отделении - +58 о С; Материал изоляции - пенополиуретан; Толщина изоляции - δ = 55 мм (0,055 м); Коэффициент теплопроводности - 0,021 Вт/м2 ·К; Средняя температура в холодильном отделении по ТУ - +5 о С; Средняя температура в морозильном отделении - -18 о С; Общий объём холодильника - 300 дм3 ; Внутренний объем испарителя с заизолированным поддоном и крышками от объёма холодильного отделения - 80 дм3 ; Теплоизоляция морозильной камеры холодильника - пенополиуретан, λ = 0,021 Вт/м·К; Теплоизоляция холодильной камеры и дверей - базальтовое волокно, λ = 0,035 Вт/м·К; 4. ТЕПЛОВОЙ РАСЧЕТ ХОЛОДИЛЬНИКА 4.1. Тепловая нагрузка на холодильную установку При проведении теплового расчета холодильных машин бытового назначения общую тепловую нагрузку ( Q ) разбивают на ряд составляющих теплопритоки из окружающей среды через стены и теплоизоляцию ( Q Q= Q 4.1.1. Теплопритоки из окружающей среды.Теплопритоки из окружающей среды составляют значительную часть общей тепловой нагрузки холодильной установки. Тепловой поток ив окружающего воздуха постоянно проникает в камеры холодильника за счет теплопроводности. Количество теплоты, передаваемой через поверхности наружного, внутреннего шкафа и слой теплоизоляции в камеры холодильника (Q
где n - количество теплопередающих поверхностей холодильной установки.
Расчет коэффициента теплопередачи производится по формуле (4)
где
Знаменатель формулы (4) представляет собой сумму термических сопротивлений плоской многослойной стенки, включая сопротивление тонкого слоя воздуха, непосредственно прилегающего к наружной и внутренней поверхности. Термическое сопротивление отдельного материала равно отношению Расчет термических сопротивлений стен наружного и внутреннего шкафа холодильника производится с учетом теплофизических свойств материала из которых они изготовлены. Наружные шкафы бытовых холодильников изготавливают в основном из листовой стали толщиной 0,8 …1мм. Двери наружных шкафов изготавливают из стального листа толщиной 0,8 мм, в некоторых моделях холодильников их выполняют из древесностружечной плиты или ударопрочного полистирола. Коэффициент теплопроводности для стали в расчетах можно принять pавным 20 Вт/м*К, для древесностружечной плиты - 0,087 Вт/м*К, для полистирола - 0,038 Вт/м*К. Внутренние шкафы в настоящее время изготавливают в основном из ударопрочного полистирола методом вакуумного формования, толщина листа составляет 2…3 мм. В некоторых моделях бытовых холодильников применяют металлические внутренние шкафы из стального листа толщиной 0,7…0,9 мм. Термическое сопротивление изоляции рассчитывается на основе заданной толщины слоя теплоизоляции соответствующей теплопередающей поверхности и свойств применяемого теплоизоляционного материала. В качестве теплоизоляционного материала наиболее ,широко применяется пенополиоретан с коэффициентом теплопроводности, равным 0,029…0,035 Вт/м*К, и пенополистирол с коэффициентом теплопроводности, находящимся в пределaх 0,038…0,041 Вт/м*К. Расчет коэффициентов теплоотдачи наружных и внутренних стенок теплопередающих поверхностей ,холодильника производится на основе уравнения, теплового баланса:
где При проведении расчетов температура Значение температуры воздуха внутри соответствующей камеры В случае, если поверхность испарителя непосредственно прилегает к внутренней стенке теплопередающей поверхности, значение Определение значений температур наружных и внутренних стенок камер холодильника производится расчетным путем с учетом сопротивления слоя воздуха, прилегающего к данным поверхностям. Для этого вычисляются предварительные значения термического сопротивления наружного (
где При проведении расчетов термических сопротивлений Суммарное термическое сопротивление i-ой теплопередающей поверхности (
где Разность температур по обе стороны каждого из элементов i-ой теплопередающей поверхности (
Температура стенки наружного шкафа i-ой теплопередающей поверхности холодильника (
Температура стенки внутреннего шкафа i-ой теплопередающей поверхности холодильника (
После вычисления температур
Значения коэффициентов теплоотдачи наружной и внутренней стенок i-ой теплопередaющей поверхности также вычисляется из уравнения теплового баланса:
На основе полученных значений коэффициентов теплоотдачи Площади наружных стенок теплопередающих поверхностей Значения разности температур После вычисления составляющих уравнения (3) рассчитываются значения теплопритоков Пример инженерного расчета: 3.1. Определяем коэффициент теплопередачи горизонтальных стенок. 1
1 0,05 1 ------- + --------- + --------- 6,98 0,021 6,98 1
1 0,05 1 -------- + ---------- + ---------- 6,98 0,021 6,98 3.2. Определяем коэффициент теплопередачи вертикальных стенок. 1
1 0,05 1 -------- + --------- + -------- 11,63 0,021 11,63 1
1 0,05 1 -------- + --------- + -------- 11,63 0,035 11,63 3.3. Принимаем среднее значение температур в камере. t СР. МК = -18 o C , tC Р.ХК = + 5 о С, t СР.ПК = + 10 о С. 3.4. Определяем температуры наружного воздуха у стенок шкафа холодильника . температура окружающей среды tос = + 55о С, температура воздуха у задней стенки tЗАДН = tос + 2о С = 57о С, температура воздуха в компрессионном отделении tКО = tОС + 3о С = 58о С, температура воздуха у боковых стенок и дверей холодильника tБОК = tос = 55 о С, температура воздуха над верхом холодильника tВЕРХ = tос + 3о С = 58о С, температура воздуха у дна холодильника tДН = tос = 55о С. 3.5. Определяем разность температур снаружи и внутри рассчитываемых поверхностей. 1 – Задняя стенка морозильной камеры, Δ t 1 = t ЗАДН - t МК = 55 – ( - 18 ) = 73о С. 2 – Верх морозильной камеры, Δ t 2 = t ВЕРХ – t МК = 58 – ( - 18 ) = 76 о С. 3 – Боковые стенки морозильной камеры, Δ t 3 = t БОК – t МК = 55 – ( -18 ) = 73 о С. 4 – Верх промежуточной камеры, Δ t 4 = t ВЕРХ – t ПК = 58 – 10 = 48 о С. 5 – Боковые стенки промежуточной камеры, Δ t 5 = t БОК – t ПК = 55 – 10 = 45 о С. 6- Задняя стенка холодильной камеры, Δ t 6 = t ЗАДН – t ХК = 57 – 5 = 52 о С. 7 – Боковые стенки холодильной камеры, Δ t 7 = t БОК – t ХК = 55 – 5 = 50 о С. 8 – Дно холодильной камеры, Δ t 8 = t ДН – t ХК = 55 – 5 = 50 о С. 9 – Компрессионное отделение, Δ t 9 = t БОК – t ХК = 58 – 5 = 53 о С. 3.6. Определяем теплопритоки в шкаф холодильника. Q ИЗ = 0,7812 · 0,62 · 57 + 1,968 · 0,62 · 55 + 0,822 · 0,62 · 55 + 0,15 · 0,58 · 55 + 0,322 · 0,58 · 55 + 0,15 · 0,58 · 58 + 0,15 · 0,62 · 58 = 141,24 Вт. 3.7. Определяем суммарные теплопритоки в шкаф холодильника по таблице: Таблица расчета теплопритоков чрез стенки холодильника:
Общая тепловая нагрузка рассчитывается: QO = 1,3 · Q ИЗ = 192, 72 Вт. 4.1.2.Теплопритоки от воздухообмена.Воздухообмен в охлаждаемом пространстве камер холодильной установки происходит за счёт инфильтрации при открывании дверей и через уплотнения дверных проемов. Количество наружного воздуха, поступающего в камеры в результате воздухообмена, зависит от внутреннего объема камеры, поддерживаемой в ней температуры, ее назначения, пространственного расположения, частоты и длительности открывания дверей, профиля дверного уплотнителя, плотности его прилегания к поверхности. Точный учет всех перечисленных факторов при проведении расчетов произвести невозможно, поэтому при вычислении величины тепловой нагрузки от воздухообмена используют экспериментальные данные. Средние теплопритоки от, воздухообмена
где Количество циркулирующего воздуха обычно выражается в единицах объема, поэтому зависимость для расчета тепловой нагрузки после соответствующих преобразований приобретает следующий вид:
где
При6лизительные экспериментальные значения средней интенсивности инфильтрации 4.1.3. Теплопритоки от продуктов.Расчет тепловой нагрузки от продуктов производится в зависимости от ряда факторов, в том числе, температуре в камере холодильника. В случае, если температура в холодильной камере(
где Значения коэффициентов теплоемкости основных групп продуктов приведены в приложении 8. При расчетах максимальных теплопритоков от продуктов необходимо учитывать, что в начальный период охлаждения имеет место более высокая разность температур между продуктами и воздухом в камере, и , следовательно, наибольшие значения тепловых нагрузок. Если это обстоятельство не учитывается при выборе компрессора для холодильной установки и принимается допущение о равномерности распределения тепловой нагрузки течение всего цикла охлаждения, то в начальный период при максимальной нагрузке произойдёт значительное повышение температуры в камере. В тех случаях, когда повышение температуры недопустимо, необходимо учитывать коэффициент скорости охлаждения (
Рекомендуемые значения скорости охлаждения для различных продуктов приведены в приложении 8 . При замораживании и хранении продуктов в низкотемпературной и морозильной камерах ниже точки их замерзания общее количество выделяемой теплоты cклaдывается из трех составляющих: теплоты, отдаваемой при охлаждении продуктов от начaльной температуры до температуры замерзания; теплоты, отдаваемой продуктами при их замораживании, и теплоты, отдаваемой при охлаждении продуктов от точки замерзания до конечной температуры хранения. Удельные теплопритоки при понижении температуры продуктов до точки замерзания (
где Удельное количество теплоты, отдаваемой при замораживании продуктов (
где Удельное количество теплоты, отдаваемой при охлаждении от температуры замерзания до температуры хранения в низкотемпературной или морозильной камерах (
где При одновременном замораживании разнородны продуктов величины yдeльных тепловых нагрузок
Общая тепловая нагрузка от продуктов для холодильников или комбинированных холодильников-морозильников определяется как сумма теплопритоков в холодильную и низкотемпературную или морозильнyю камеры:
Пример расчета При хранении продуктов в холодильной камере ниже точки их замерзания общее количество выделяемой теплоты складывается из трех составляющих: 1. теплоты, отдаваемой при охлаждении продуктов от начальной температуры до температуры охлаждения; 2. теплоты, отдаваемой продуктами при их охлаждении; 3. теплоты, отдаваемой при охлаждении продуктов от температуры окружающей среды до конечной температуры хранения. 5.1.
где tз = 0°С – температура охлаждения продуктов, m = 6 кг – масса продуктов, tн =12°С – начальная температура продуктов, с¢= 3,18 ´103 Дж/кг. К – удельная теплоемкость продуктов выше точки замерзания.
5.2.
где г=235´103 Дж – скрытая теплота продуктов.
5.3. Удельное количество теплоты, отдаваемой при охлаждении от температуры замерзания до температуры хранения в морозильной камере:
где c´´=1,72´103 Дж/кг. К - удельная теплоемкость замороженных продуктов, tк =-22°С - температура хранения продуктов в холодильной камере.
Эквивалентная тепловая нагрузка от продуктов в морозильной камере:
, где τ =24 часа, продолжительность охлаждения продуктов от начальной температуры до температуры воздуха в камере [сек]. ω =1, коэффициент скорости охлаждения.
4.1.4. Дополнительные теплопритокиИсточниками дополнительной тепловой нагрузки в бытовых холодильниках и морозильниках являются лампы освещения, электродвигатели привода вентиляторов для циркуляции охлажденнго воздуха в системах «No frost» , электронагреватели для оттаивания снегового покров а с поверхности испарителей и электронагреватели для обогрева дверных проемов низкотемпературных и морозильных камер. При проведении расчетов теплотой, выделяемой лампами освещения, можно пренебречь, т. к. мощность ламп не превышает 15 Вт, а их включение производится только на время открывания дверей. Теплопритоки от электродвигателей вентиляторов, электронагревателей для оттаивания снегового покров а и обогрева дверных проемов рассчитываются по формуле:
где
где
Значения коэффициента трансформации мощности в тепловую энергию зависит от расположения и назначения электродвигателя или электронагревателя. Для электродвигателей вентиляторов, осуществляющих циркуляцию охлажденного воздуха в камеры, и электронагревателей дверных проемов низкотемпературных и морозильных камер значения коэффициента При наличии нескольких дополнительных источников теплоты производится расчет теплопритоков от каждого из них и затем определяется суммарное значение дополнительной тепловой нагрузки. пример расчете дополнительных теплопритоков Источниками дополнительной тепловой нагрузки в холодильнике являются лампы освещения, электродвигатели привода вентиляторов для циркуляции охлажденного воздуха в системе “No frost”, электронагреватели для оттаивания снегового покрова с поверхности испарителя, обогрев дверных проемов морозильной камеры. При проведении расчетов теплоты, выделяемой источниками дополнительной тепловой нагрузки, можно пренебречь, так как мощность ламп не превышает 10 Вт, а их тепловая нагрузка минимальная в связи с применением галагеновых ламп, включение вентилятора производится только на время короткое время, нагреватель для оттаивания снегового покрова в сутки включается на 30 минут в сутки, при этом теплопритоки составляют меньше 1 Вт. Общая тепловая нагрузка по формуле (1): Qо = 141,24 + 16,32 + 19,2 = 176,76 Вт 4.1.5. Упрощенный расчет эксплуатационной тепловой нагрузки.Теплопритоки от продуктов, воздухообмена и дополнительные теплопритоки в сумме представляют собой эксплуатационную тепловую нагрузку. При проведении тепловых расчетов морозильников и морозильных камер комбинированных холодильников-морозильников задается значение мощности замораживания, поэтому вычисление всех составляющих эксплуатационной нагрузки по приведенной выше методике не вызывает трудностей. В случае теплового расчета холодильных и низкотемпературных камер холодильников невозможно с достаточной степенью точности определить теплопритоки от продуктов, т.к. их ассортимент, масса и продолжительность хранения изменяется в широких пределах. В связи со сложностью учета перечисленных выше факторов для холодильных и низкотемпературных камер целесообразно применение упрощенного способа расчета эксплуатационной тепловой нагрузки. При применении упрощенного способа эксплуатационная тепловая нагрузка вычисляется по следующему уравнению:
где
Общая тепловая нагрузка соответствующей камеры определяется суммой теплопритоков из окружающей среды и эксплуатационной тепловой нагрузки. Расчет эксплуатационной тепловой нагрузки:
где
Qэ.хк
= 0,23 Qэ.мк
= 0,12 4.1.6. Выбор холодопроизводительности холодильного агрегата и компрессора.Полученное в результате расчетов по формуле (1) значение суммарных теплопритоков является тепловой нагрузкой испарителя. При расчетах двухкамерных холодильников с двухиспарительной системой охлаждения и комбинированных холодильников-морозильников производится расчет теплопритоков в каждую из камер и полученное значение является тепловой нагрузкой испарителя соответствующей камеры. Определение холодопроизводительности холодильного агрегата (
где Необходимая холодопроизводительность компрессора рассчитывается, исходя из того, что потери холодопроизводительности в холодильном агрегате составляют, в среднем, 20%:
После расчета необходимой холодопроизводительности герметичного компрессора по соответствующему графику производится подбор компрессора для холодильника или морозильника в зависимости от полученного значения Расчет потерь холодопроизводительности в холодильном агрегате:
Q0хк
= 1,2 Q0мк
= 1,2 Выбираем компрессор. На основании параметров теоретического цикла выполнили расчет теоретического компрессора по формулам:
где кQ — удельная теоретическая холодопроизводительность, [Вт/см3 ]
q0 – удельная холодопроизводительность, [кДж/кг]
V1 – удельный объем в начале процесса всасывания,[кг/см3 ]; Vраб — рабочий объем цилиндра, [см3 /ход]. где kn – удельная теоретическая потребляемая мощность, [Вт/см3 ]; lад — адиабатическая работа сжатия, [кДж/кг].
где Qд — действительная холодопроизводительность, [Вт]
где λ — коэффициент подачи (холодильный коэффициент); Nд — действительная потребляемая мощность, [Вт]
где λм — коэффициент потерь потребляемой мощности. Исходные данные для подбора компрессора
Результаты расчета
Круговым процессом или циклом называется такая совокупность термодинамических процессов, в результате которых система возвращается в исходное состояние. Равновесные круговые процессы изображаются в диаграммах р — V , р — Т и др. в виде замкнутых кривых, ибо двум тождественным состояниям — началу и концу кругового процесса — соответствует в любой диаграмме одна и та же точка. Тело, совершающее круговой процесс и обменивающееся энергией с другими телами, называется рабочим телом. Обычно таким телом является газ. Круговые процессы лежат в основе всех тепловых машин — двигателей внутреннего сгорания паровых и газовых турбин, холодильных машин и др. Поэтому изучение свойств раз личных круговых процессов — одна из важнейших задач термодинамики. Рассмотрим обратимый круговой процесс, впервые изученный С. Карно (1824) и потому называемый циклом Карно. Этот цикл состоит из четырех обратимых процессов: двух изотермических и двух адиабатных. Цикл Карно сыграл большую роль в развитии термодинамики и теплотехники, так как позволил подойти к анализу коэффициентов полезного действия тепловых двигателей. В обратном цикле Карно количество теплоты Q { отводится от газа в процессе 1'—1 изотермического сжатия при температуре T1 , а количество теплоты Q2 подводится к газу в процессе 2` — 2 изотермического расширения при температурe T2 <0.(Следовательно, Q 1 <(), Q 2 >0) работа, совершаемая газом за один цикл, отрицательна . Этот вывод справедлив для любого обратного цикла. Если рабочее тело совершает обратный цикл, то при этом осуществляется передача теплоты от холодильного тела к горячему за счет совершения внешними силами соответствующей работы. По такому принципу работают многие холодильные установки. Величина, равная отношению теплоты QOTB , отведенной в обратном цикле от охлаждаемого тела, к работе, затраченной в этом цикле, называется холодильным коэффициентом. Помимо внутренней энергии, в термодинамике широко пользуются и другими функциями состояния термодинамической системы. Особое место среди них занимает энтропия. Пусть элементарное количество теплоты, сообщаемое нагревателем системе при малом изменении ее состояния, а Т — температура нагревателя. Если процесс обратимый, то температура системы тоже равна Т. Можно показать, что в отличие от dQ и отношение dQ /T в обратимом процессе есть полный дифференциал функции состояния системы, называемой энтропией S системы. Таким образом, в обратимом процессе температура Т является интегрирующим делителем, который обращает элементарную теплоту dQ в полный дифференциалом ds. Процессы образования каких-либо соединений из элементарных веществ сопровождаются энергетическими эффектами, не одинаковыми для .различных соединений. Если при реакции образования соединений из элементарных веществ выделилась энергия, то это значит, что энтальпия определенной массы соединения меньше суммы энтальпий пошедших на эту реакцию масс элементарных веществ. Энергетический эффект реакции образования одного моля соединения из элементарных, веществ называется энтальпией (или теплотой) образования данного соединения. Энтальпии образования зависят от температуры. Стандартные значения энтальпий образования, обычно приводимые в справочных таблицах, относятся к температуре 25°С и давлению 101,3 кПа (1 атм). В большинстве случаев при образовании различных соединений из элементарных веществ энергия выделяется; в этих случаях энтальпии образования А принято считать отрицательными. Энтальпии образования характеризуют термическую прочность соединений, поскольку из закона Гесса следует, что по абсолютному значению энтальпия образования должна быть равна энергии, необходимой для разложения одного моля соединения на элементарные вещества. Однако для некоторых соединений энтальпии образования принято считать положительными. Такие соединения называются эндотермическими; они непрочны, так как для их разложения не требуется затраты энергий? а наоборот, при нем энергия выделяется. Практически по энтальпиям образования различных соединений, участвующих в какой-либо реакции, можно рассчитать энергетический эффект последней. Так, согласно закону Гёсса, энергетический эффект реакции равен разности между суммой энтальпий образования конечных, продуктов и суммой энтальпий образования исходных, веществ (с учетом коэффициентов при формулах этих соединений в уравнении реакции). Ясно, что для реакций, в которых участвуют элементарные вещества, энтальпию образования последних следует считать равной нулю. Энтальпию образования соединений из элементарных веществ следует отличать от энтальпии образования молекул из атомов, которую принято всегда считать отрицательной. Для определения параметров рабочего тела при расчетах циклов холодильных машин применяют таблицы сухих насыщенных паров холодильных агентов, а также тепловые диаграммы энтольпия – температура ( s — Т) и энтальпия — давление [ i — р). Термодинамическая эффективность работы компрессора определяется его коэффициент эффективности
где:
Потери компрессора по холоду определяются коэффициентом подачи по формуле:
где:
Qo т - теоретическая холодопроизводительность компрессора в калориметрическом цикле, Вт, Теоретическая холодопроизводительность равна:
где:
n - количество оборотов,
или
где:
Теоретическая потребляемая мощность компрессора равна
n - количество оборотов,
где:
6.5. Расчет теоретического цикла проектируемого холодильника, работающего на озонобезопасном холодильном агенте R 600 a . Параметры точки 5 (Ро , v5 , i5 , S5 ) находятся по заданной температуре кипения tо для насыщенного пара R600а. Термодинамические характеристики точки 8 (Рк, v8 , i8 , S8 ), соответствующей началу процесса конденсации, определяются по заданной температуре конденсации tк для насыщенного пара хладагента. Параметры точки 9 (Рк , v9 , i9 , S9 ) выбираются также по температуре tк , но для жидкой фазы хладагента. Термодинамические параметры точки 3 (Р3 , v3 , i3 , S3 ) определяются по заданной температуре t3 =tос для насыщенной жидкости. Термодинамические характеристики точки 1, соответствующей началу процесса дросселирования и находящейся в области переохлажденной жидкости (v1 , i1 , S1 ), определяются по заданной температуре переохлаждения t1 = tп для жидкой фазы хладагента. В случае, если температура tп не задана, ее значение рассчитывается из соотношения: t1 = tк - (2 … 4) о С Так как точка 1 располагается в зоне переохлажденной жидкости, давление хладагента не соответствует давлению насыщения при температуре t1 и вычисляется в зависимости от давления Рк : Р1 = Рк - (0,03 - 0,05)×105 Па. Основные параметры точек 6 и 7, соответствующих процессу изоэнтропического сжатия, определяются из термодинамических свойств перегретых паров хладагента. Все характеристики состояния рабочего вещества в данной таблице определяются по двум исходным параметрам, одним из которых является давления, а вторым - температура перегрева или другой известный показатель. Значения удельного объема, энтальпии и энтропии перегретых паров в точке 6 (v6 , i6 , S6 ) определяются по давлению Ро и температуре перегрева tпр = t6 . Термодинамические параметры точки 7, соответствующей окончанию процесса сжатия в цилиндре компрессора, по давлению Рк . Вторым исходным параметром является энтропия, которая в изоэнтропическом процессе постоянна: S7 = S6 . В случае, если величина S7 не совпадает с табличными, по двум ближайшим табличным значениям энтропии методом линейной интерполяции рассчитывается температура перегрева t7 , а затем удельный объем v7 и энтальпия i7 . Точки 4 и 2 цикла холодильного агрегата соответствуют процессу дросселирования, который сопровождается образованием некоторого количества паров хладагента. Данные точки расположены на диаграмме в области парожидкостной смеси холодильного агента. Температура и энтальпия хладагента в точке 4 (t4 , i4 ) рассчитывается из уравнения теплового баланса регенеративного теплообменника:
где С(3-4) , С(5-6) - средняя удельная теплоемкость хладагента соответственно в капиллярной трубке и всасывающем трубопроводе; Значения удельной теплоемкости в точке 3 находится по температуре tос , в точках 5 и 6 - по температурам tо и tпр . Удельная теплоемкость в точке 4 задается в зависимости от температуры окружающей среды следующим образом: при tос =20о С удельная теплоемкость С4 выбирается по температуре -15о С, при tос =25о С удельная теплоемкость С4 выбирается по температуре -13о С, при tос =32о С удельная теплоемкость С4 выбирается по температуре -10о С, при tос =43о С удельная теплоемкость С4 выбирается по температуре -5о С. По рассчитанному значению температуры t4 определяется давление Р4 . Массовое расходное паросодержание в точке 4 (Х4 ) вычисляется из соотношения:
где i4 ', i4 '' - энтальпия жидкой и паровой фазы хладагента при температуре t4 . Значения удельного объема и энтропии вычисляются с помощью табличных данных и паросодержания Х4 :
где v4 ', v4 '' - удельный объем жидкого и парообразного хладагента при температуре t4 ; S4 ', S4 '' - энтропия жидкого и парообразного хладагента при температуре t4 . В точке 2 цикла холодильного агрегата заданы значения температуры хладагента t2 = tо , давления Р2 = Ро и известно значение энтальпии i2 =i4 , т.к. процесс дросселирования 4 - 2 является изоэнтальпическим. Массовое расходное паросодержание Х2 вычисляется из соотношения:
где i2 ', i2 '' - энтальпия жидкой и паровой фазы хладагента при температуре t2 = tо . Значения удельного объема и энтропии рассчитываются по табличным данным и паросодержания Х2 :
где v2 ', v2 '' - удельный объем жидкой и паровой фазы хладагента при температуре tо ; S2 ', S2 '' - энтропия жидкого и парообразного хладагента при температуре tо .
7. РАСЧЕТ НЕОБХОДИМОЙ ПОВЕРХНОСТИ ИСПАРИТЕЛЯ Тепловоспринимающая поверхность испарителя определяется:
где Ku
- коэффициент теплопередачи испарителя Вт /( м2
tср - средняя логарифмическая разность температур в цикле (° С) Она определяется как :
где Dt1 и Dt2 - разность температур воздуха и поверхности испарителя вначале и в конце работы компрессора в цикле (° С) Расчет ведется на две поверхности испарителя. В практических расчетах средне логарифмическая разность температур заменяется среднеарифметической
где t 1 - температура поверхности испарителя в начале работы компрессора (°С ) t2 - температура поверхности испарителя в конце работы компрессора (° С ) Тепловая нагрузка испарителя выразится так:
Qо = Qн +Qвн где Qн - теплоприток к наружной поверхности испарителя (Дж) Qвн - теплоприток к внутренней поверхности испарителя Тогда воспользовавшись формулой (12) запишем:
где
где tˆср.в - средняя температура в морозильном отделении холодильника заданная по ТУ Коэффициент теплопередачи Ku
- лежит в пределах (5—9) Вт /( м2
По данным зарубежных источников (8—8,2) Вт /( м2
На основании формул 15, 16, 17 получим:
пример 1 Принимаем КИ = 12 Вт/м2 · К, и подставим в формулу (14)∆tСР = ( t1 + t2 ) / 2, где t1 – температура поверхности испарителя в начале работы компрессора, о С; t1 = При запуске компрессора поверхность испарителя = - 12 о С ; t2 – температура поверхности испарителя в конце работы компрессора, о С; t2 = -18о С. 1. Рассчитываем площадь испарителя холодильной камеры. Тепловая нагрузка на испаритель составляет 25% от Qо : Q1 = 0,25 · Qо = 0,25 · 192,72 = 48,2 Вт. Средняя температура в камере 0о С = t1 t2 = (0 + ( - 30 )) / 2 = - 15о С, где ( - 30 ) – температура кипения хладагента ∆tСР. И = (0 + ( - 15 )) / 2 = - 7,5о С Q1 = 48,2 Вт, КИ = 12 Вт / м2 · К
КИ · │tСР. И │ 12 · │- 7,5 │ 40% площади испарителя приходится на площадь трубопровода и 60% на площадь оребрения: FТР = 0,4 · 0,54 = 0,216 м2 ; FОРЕБ = 0,6 · 0,54 = 0,324 м2 . 2. Рассчитываем площадь испарителя морозильной камеры. Средняя температура в камере t1 = - 18о С Тепловая нагрузка на испаритель , Q2 Q2 = 0,75 × Qо = 144,54 Вт. Коэффициент теплопередачи выбираем КИ = 12 Вт/ м2 · К t1 = tC Р = - 18о С t2 = ( - 18 + ( - 30 ) ) / 2 = - 24 о С ∆tСР. И = ( - 18 + ( - 24 ) ) / 2 = - 21о С
12· │- 21 │ 40% площади испарителя приходится на площадь трубопровода и 60% на площадь листа: FТР = 0,4 · 0,57 = 0,228 м2 ; FОРЕБ = 0,6 · 0,57 = 0,342 м2 . 8. ТЕПЛОВОЙ РАСЧЕТ КОНДЕНСАТОРА Теплоотдающая поверхность конденсатора определяется из формулы:
где Qкон - тепловая нагрузка конденсатора Дж Кк
– коэффициент теплопередачи конденсатора Вт /( м2
Dtср - средний температурный напор (°С) Тепловая нагрузка конденсатора определяется из выражения:
Где W - мощность электродвигателя компрессора Вт Теплоотводящими элементами холодильного агрегата являются конденсатор и компрессор. Причем, компрессором отводятся 30—40 % тепла.
Средний температурный напор Dtср конденсатора принимает близким к разности температур конденсирующего хладагента и воздуха омывающего конденсатор Dtср =(tср -tвз ) (21) Во всех расчетах t конденсирующего хладагента принимается постоянной + 55 °С Экспериментально установлено, что для ребристо трубных конденсаторов tср =0,9 (tср –tвз ) (22) В инженерных расчетах ребристо трубных конденсаторов коэффициент теплопередачи Кк определяется как:
Таким образом:
Пример 1. Определяем необходимую площадь теплопередающей поверхности конденсатора: FКД = QКД / ( ККД · ∆tКД ) , м2 где QКД – тепловая нагрузка конденсатора, Вт; ККД – коэффициент теплопередачи конденсатора, Вт/ м2 · К; ∆tКД – средний температурный напор, о С. QКД = 0,7 ( Qо / m + 0,6 W ), где m – коэффициент рабочего времени холодильника, m = 0,8; W – мощность, потребляемая электродвигателем компрессора, W = = 400 Вт; Qо – суммарные теплопритоки в шкаф холодильника, Qo = 192,72 Вт. QКД = 0,7 ( 192,72 / 0,8 + 0,6 · 400 ) = 337 Вт
где tК = 65 о С – температура конденсации; tОС = 55 о С – температура окружающей среды. tКД = 0,9 (tК – tОС ) = 0,9 ( 65 – 55 ) = 9 о С FКД = 337 / ( 27,7 · 9 ) = 1,35 м2 40% площади конденсатора приходится на предконденсатор FПК = 0,4 · 1,35 = 0,54 м2 Площадь оребрения листа конденсатора составляет 30% площади конденсатора: FТР.пк = 0,54 · 0,7 = 0,378 м2 FТро = 1,35 · 0,7 = 0,945 м2 . LТР = FТР. ОБЩ / ПD = 1,32 / ( 3,14 · 0,003 ) = 10,1 метров. Длина каналов конденсаторов LТР = 10,1 м. Длина каналов предварительного конденсатора составляет: LТР.ПК = 4,04 м. Длина каналов конденсатора составляет: LТР.КД = 6,06 м. 10. РАСЧЕТ КАПИЛЛЯРНЫХ ТРУБОК В капиллярной трубке происходят процессы адиабатического (с подводом или отводом тепла ) течения с большой скоростью и , соответственно, с большой потерей напора в начале жидкого , а затем смеси жидкого и парообразного хладонов. Сложность расчета капиллярных трубок связана с большим числом факторов, влияющих на процессы течения. Так, например, при непрерывной работе машины в установившемся тепловом режиме следует учитывать: состояние хладона на входе в трубку ( давление, степень переохлаждения жидкости или паросодержание, скорость ), длину и диаметр трубки, её шероховатость, число витков, диаметр витков, давление за трубкой, теплообмен с окружающей средой и с теплообменником, размеры теплообменника ( длина, конструкция, место расположения по длине капиллярной трубки ), форму и размеры спиральных участков трубки с обеих сторон теплообменника, состояние масло – хладоновой смеси, поступающей в теплообменник из испарителя. Наиболее практичным является расчет (выбор размеров) по номограмме, составленной для непрерывной работы в установившемся тепловом режиме. Последующая корректировка размеров трубки проводится после экспериментальной проверки работы холодильника при различных режимах и условиях эксплуатации. Расчеты выполняются в двух вариантах: конструктивном – определение размеров трубки при заданной пропускной способности и условиях работы; проверочном – определение пропускной способности по заданным размерам в условиях работы. Используя номограммы для расчета капиллярных трубок на хладоне R 134а при Ро £ Рк, определим длины капиллярных трубок. 1. Определяем длину основной трубки по данным : G = 0,323 ·10 –3 кг/ с = 11,641 кг/ час – теоретический массовый расход хладагента; Р1 = 13,526 ·105 Па – давление перед трубкой; t1 ’’ = 62 о С – температура насыщения; Dt1 КГ = t1 КГ ’’ – t1 КГ = 62 – 55 = 7 о С – степень переохлаждения хладона ; dВН = 0,83·10 –3 м – внутренний диаметр капиллярной трубки. Используя эти данные, по номограмме находим длину: L = 2,5 м, l = L / dВН = 3000 2. Определяем длину капиллярной трубки для испарителя холодильной камеры: GХК = 0,3 · G = 0,3 · 0,323 ·10 –3 = 0,696 ·10 –3 кг/с = 3,345 кг/час; Р2 = 2,346 ·105 Па; t2 КГ ’’ = - 5 о С; Dt2 КГ = - 5 – ( - 30 ) = 25 о С; dВН = 0,83 · 10 –3 м. Используя выше написанные данные, по номограмме находим длину трубки: L = 0,25 м = 250 мм, l = 250 / 0,83 = 300. 3. Определим длину капиллярной трубки для испарителя морозильной камеры: G3 = 0,7 · G = 0,7 · 0,323 · 10 –3 = 0,2261 · 10 –3 кг/с = 7,805 кг/ час; Р3 = 2,346 · 105 Па; t3 КГ = - 5 о С; Dt3 КГ = 25 о С; dВН = 0,83 · 10 –3 м. Используя данные, по номограмме расчета капиллярных трубок на хладоне R – 134а, определяем длину нашей капиллярной трубки: L = 0,6 м = 600 мм, l = 600 / 0,83 = 720. 4 Расчет капиллярной трубки морозильной камеры. Капиллярная трубка морозильной камеры была выбрана с помощью программы «DanCap». В эту программу были введены заданные параметры хладагента: 1) Название хладагента – R600a; 2) Тепловая нагрузка = 182,7Вт; 3) Температура кипения = -200 С; 4) Температура конденсации = 550 С; 5) Температура перегрева = 320 С. По результатам расчета строится график зависимости рекомендуемые размеры капиллярной трубки и выбирается наиболее оптимальный:
Наиболее оптимальной выбирается капиллярная трубка длиной 1,62 м и диаметром 0,8 мм. 5. Расчет капиллярной трубки холодильной камеры. Капиллярная трубка холодильной камеры была выбрана с помощью программы «DanCap». В эту программу были введены заданные параметры хладагента: 1) Название хладагента – R600a; 2) Тепловая нагрузка = 192,1Вт; 3) Температура кипения = -100 С; 4) Температура конденсации = 550 С; 5) Температура перегрева = 320 С. По результатам расчета строится график зависимости рекомендуемые размеры капиллярной трубки и выбирается наиболее оптимальный:
Наиболее оптимальной выбирается капиллярная трубка длиной 1,6 м и диаметром 0,8 мм. 11. Определяем класса энергопотребления холодильника ГОСТ Р 51388 (92/75/ЕЕС) Для того, чтобы российская бытовая техника были конкурентноспособны на мировом (европейском рынке) Госстандарт России от 8 февраля 2000 года принял и ввел в действие ГОСТ Р 51388, который по аналогии с директивой 92/75/ЕЕС устанавливает семь классов энергетической эффективности, представленных в таблице 1 Таблица 1
Индекс энергетической эффективности I определяют по формуле:
где: Ефакт – фактическое годовое потребление электроэнергии холодильным прибором, кВт ч; Естанд – стандартное годовое потребление электроэнергии для холодильного прибора данной категории, определяемое расчетным путем, кВт ч. Стандартное годовое потребление электроэнергии холодильным прибором Естанд определяют по формуле: Естанд = V пр М+ N , где: V пр – приведенный объем холодильного прибора, дм3 M , N – коэффициенты Приведенный объем холодильного прибора, Vпр дм3 определяется по формуле: V пр = V 1 + V 2 Q , где: V 1 – Объем для хранения свежих продуктов, дм3 V 2 – Объем для хранения свежих продуктов, дм3 Q – коэффициент. Приведенный объем холодильника с морозильным отделением и многодверного холодильного прибора, Vпр дм3 определяется по формуле:
где: Тс – Температура, установленная для каждого отделения прибора, 0 С V с – Объем для хранения продуктов каждого отделения, дм3 n – число отделений Значение коэффициентов N , M и Q для различных категорий холодильных приборов приведены в таблице 2 Таблица 2
Для многодверного холодильного прибора коэффициенты M и N следует выбирать в зависимости от температуры самого холодного отделения прибора в соответствие с таблицей 3
Фактическое годовое потребление электроэнергии холодильным прибором
ФЕДЕРАЛЬНОЕ АГЕНТСТВО ПО ОБРАЗОВАНИЮ ФЕДЕРАЛЬНОЕ ГОСУДАРСТВЕННОЕ ОБРАЗОВАТЕЛЬНОЕ УЧРЕЖДЕНИЕ ВЫСШЕГО ПРОФЕССИОНАЛЬНОГО ОБРАЗОВАНИЯ «РОССИЙСКИЙ ГОСУДАРСТВЕННЫЙ УНИВЕРСИТЕТ ТУРИЗМА И СЕРВИСА» (ФГОУВПО «РГУТиС») ФАКУЛЬТЕТ СЕРВИСА КАФЕДРА БЫТОВАЯ ТЕХНИКА КУРСОВОЙ ПРОЕКТ по дисциплине «Теория, расчет и проектирование холодильной техники и кондиционеров»
Выполнил(а) студент(ка) группы _____ дневной формы обучения Руководитель: канд. тех. наук, профессор Набережных А.И Дата сдачи: «_____»________20___г. Дата защиты: «____»_________20__г. Оценка:__________________ __________________________________ (подпись руководителя) 20.. г. ФЕДЕРАЛЬНОЕ ГОСУДАРСТВЕННОЕ ОБРАЗОВАТЕЛЬНОЕ УЧРЕЖДЕНИЕ ВЫСШЕГО ПРОФЕССИОНАЛЬНОГО ОБРАЗОВАНИЯ «РОССИЙСКИЙ ГОСУДАРСТВЕННЫЙ УНИВЕРСИТЕТ ТУРИЗМА И СЕРВИСА» (ФГОУВПО «РГУТИС»)
З А Д А Н И ЕНА КУРСОВОЙ ПРОЕКТ по дисциплине «Теория, расчет и проектирование холодильной техники и кондиционеров»
Вариант №1
2. Исходные данные к работе: 2.1. Разработать комбинированный холодильник-морозильник с нижним расположением морозильной камеры и двумя независимыми холодильными агрегатами на базе параметрического ряда холодильников-морозильников Минского завода домашних холодильников «Атлант» [приложение 1, пример 1]. Объект проектирования должен отвечать мировому уровню по основным функциональным показателям: класс энергопотребления – А+, корректированный уровень звуковой мощности - не более 38 дБА. 2.2. Холодильник должен содержать два независимых агрегата для холодильной и морозильной камер. Алюминиевый испаритель холодильной камеры с системой No-frost располагается на задней стенке внутреннего шкафа и запенивается [приложение 1, рис. 12]. Испаритель морозильной камеры – листотрубный двух пример 25а. Конденсатор холодильных агрегатов выполнен в виде змеевика с горизонтальный расположением и двухсторонним проволочным оребрением [приложение 1, пример 26]. Холодильный агент: холодильной камеры R-134a и R-134a морозильной камеры. Разработать конструктивное исполнение поршневого герметичного хладонового компрессора на безе параметрического ряда компрессоров С-КО, отвечающего мировому уровню по основным функциональным показателям и расчетными параметрами холодопризводительности и потребляемой мощности. Компрессора должны содержать: съемный блок цилиндра; выносной всасывающий глушитель; нагнетательный глушитель, штампованный с вертикальным расположением камер; пружинную подвеску на четырех точках крепления к пакету статора с виброизоляционными втулками; нагнетательный змеевик с промежуточным креплением на пакете статора; клапанный механизм, состоящий из составной клапанной плиты, съемными седлами на стороне всасывания и нагнетания и базовым всасывающим и нагнетательным клапанами; механизм движения - кривошипно-шатунный с нижней самоустанавливающейся головкой шатуна; электродвигатель асинхронный двухфазный с конденсатором в рабочей обмотке (КПД=0,85%). 2.3. Шкаф комбинированного холодильника-морозильника должен иметь верхнее расположение холодильной камеры и нижнее – морозильной камеры [приложении 1, рис.12] . Внутренний шкаф камер холодильника изготовляется из ударопрочного полистерола толщиной 1мм методом вакуумной формовки. Наружный шкаф из листовой стали толщиной 0,8 – 1 мм. Теплоизоляционный материал пенопролиуретан ППУ-17 на озонобезопасном вспенивателе – циклопентане. Дверь морозильной камеры должна иметь уплотнение на двух уровнях [приложение 1, рис.14]. Камеры холодильника-морозильника должны содержать необходимые элементы для удобного хранения продуктов (Приложение 1, рис.12) 2.4. Исходные параметры объекта проектирования: Vхк =170 дм3 – объем холодильной камеры с min температурой в камере - tхк = 0 0 С; Vмк =80 дм3 – объем морозильной камеры с температурой в камере - tнтк = -18 0 С; V0 =250 дм3 – общий полезный объем холодильника –морозильника; tос = 32 0 С – максимальная температура окружающей среды; t0 ХК = -8 0 С – температура кипения хладона R-134a в испарителе холодильной камеры; t0 МК = -250 С– температура кипения хладона R-134a в испарителе морозильной камеры; tк =44 0 С– температура конденсации хладона R-134a в конденсаторе холодильной и морозильной камеры; tпер = 320 С– температура паров хладона R-134a на выходе из регенеративного теплообменника и на входе в кожух компрессора; А = 0,6 м, В = 0,6 м; габаритные параметры ширины и глубины холодильника-морозильника; dхк =25 мм и d*хк = 50 мм – толщина боковых и задней стенки холодильной камеры; dмк =50 мм - толщина стенок морозильной камеры; mпр =8кг – масса замораживаемых продуктов ; Расчетная схема геометрических параметров холодильной и морозильной камеры представлена в приложении 1[рис.7]. 3. Содержание пояснительной записки: 3.1. Титульный лист 3.2. Задание на контрольную работу 3.3. Аннотация 3.4. Введение (Назначение, классификация) 3.5. Аналитический раздел. 3.5.1. Аналитический обзор схемных решений и конструкции холодильников. 3.5.1.1. Анализ схемных решений бытовых компрессионных холодильников в зависимости от объемов холодильной и морозильной камер. 3.5.1.3. Процессы теплообмена в бытовых холодильниках. 3.6. Конструкторский раздел 3.6.1. Разработка технического задания на комбинированный холодильник-морозильник [приложение 1, пример 29]. 3.6.2. Описание конструкции и работы разработанного холодильника-морозильника. 3.6.3. Расчет теоретических циклов холодильных агрегатов для холодильной и морозильной камер на реальном холодильном агенте R-134a [приложение 1, пример 30a]. 3.6.4. Расчет теплопритоков в шкаф холодильника и определение холодопроизводительности холодильного агрегата и их конструктивного исполнения. 3.6.5. Подобрать компрессоры в соответствие с рассчитанной холодопроизводительностью холодильных агрегатов [приложение 1, пример 20а]. 3.7. Выводы 3.8. Список используемой литературы 3.9. Приложение 3.9.1. Спецификации на сборочные чертежи 3.10. Оглавление 4. Перечень графического материала (с указанием обязательных чертежей) (на листах формата А1) 5.1. Общий вид холодильника [приложение 1, рис. 5,11]. 5.2 Компоновочные схемы агрегата, [приложение 1, примеры: 4, 6, 9, 12]. 5.2 Компоновочная схема холодильника. 5.3. Сборочный чертеж компрессоров для холодильной и морозильной камеры 5. Консультанты по проекту: ____________________________кафедра ______________________________________ 6. Дата выдачи задания «___»______________200__г.Руководитель проекта _____________________/___________________ 7. Задание получил ________________ студент ____________________ 8. Дополнительные указания 9. График индивидуальных консультаций
Приложение
На основе анализа конструкций и технических данных холодильников зарубежного производства составляем техническое задание на проектирование холодильника-морозильника 1.Наименование и область применения. Бытовой холодильник с морозильным отделением предназначен для хранения продуктов и охлаждения напитков в холодильной камере (ХК); замораживания и длительного хранения продуктов в морозильной камере (МК) и приготовления льда при индивидуальном пользовании в капитальных жилых помещениях при температуре окружающего воздуха от +16°С до +32°С и относительной влажности до 50% при +25°С. 2. Основание для разработки. Основанием для разработки является задание на курсовой проект. Тема проекта: «Проект бытового холодильника объемом 350/120 дм3 с принудительной конвекцией воздуха в камерах холодильника и модернизированным конденсатором». 3.Цель и назначение разработки. Холодильник предназначен как для длительного хранения свежих и замороженных продуктов, так и для замораживания. Разработка ведется с целью позволяющей оптимизировать энерго- затраты на поддержание требуемой температуре в камере. 4. Источники разработки. Разработка ведётся на основе изучения образцов, выпускаемых за рубежом и собственных разработок ОАО «Микромашина» в области проектирования бытовых машин и приборов. Авторские свидетельства и образцы не используются. 5.Технические требования. 5.1.Состав продукции.
5.2.Требования к конструктивному устройству. Конструкция кухонной машины должна обеспечивать: - звуковую сигнализацию допустимого времени открывания двери холодильника (не более 30с); - возможность отдельного включения(отключения) морозильной или холодильной камер; - возможность регулировки температурных режимов; - цифровую или светодиодную индикацию температурных режимов. Усилие нажатия кнопок должно быть не более 5 Н. Холодильник, содержащий запененный шкаф, двери с изоляцией, на задней стенке расположен воздуховод, отделяющий плоский испаритель, установленный с зазорами между воздуховодом и задней внутренней стенкой шкафа, от объема шкафа с утепленным воздухом, в верхней части шкафа установлен вентилятор, установленный параллельно верхней стенке шкафа с направлением потока на дверь, закрытый кожухом, внутри шкафа установлены полки с кассетами, по четыре на каждой полке, выполненными с отдельными ячейками, конденсатор и компрессор, отличающийся тем, что имеет микропроцессорный блок управления, вентилятор тангенциального типа, а кожух имеет отверстия
Показатели назначения. 5.3.1. Холодильник должен изготавливаться для работы от сети переменного однофазного тока с напряжением 220 В ± 10, частотой 50 ± 1 Гц. 5.3.2. Расход электроэнергии, не более, 690 кВт/ч в сутки. 5.3.3. Количество компрессоров, шт. 2. 5.3.4. Система оттаивания ХК, МК автоматическая. 5.3.5. Замораживающая способность, кг/сут, не менее 10,5 . 5.3.6. Рекомендуемая равномерная нагрузка на полку-решетку, кг, не более 16 . 5.3.7. Габаритные размеры кофемолки, мм, не более: длина – 600, высота – 1800, ширина – 590. 5.3.8. Размораживание морозильной и холодильной камеры - No Frost 5.3.9. Масса машины, кг, не более –60,0. 5.3.10. Полезный объем — 350 дм3 . 5.4. Требования к надёжности. 5.4.1. Установленная безотказная наработка, не менее, - 60 часов. 5.4.2. Средняя наработка на отказ, не менее, - 40 часов. 5.4.3. Установленный срок службы, не менее 15 лет. 5.4.5. Гарантийный срок службы – 3 года. 5.5.Требования безопасности. 5.5.1. Конструкция холодильника-морозильника должна обеспечивать соответствие ГОСТ 27570.7, ГОСТ 9043, ГОСТ 25005-94 и другим нормативным документам, устанавливающим требования, обеспечивающие безопасность жизни и здоровья потребителя. 5.5.2. Конструкция кофемолки должна обеспечивать II класс защиты от поражения электрическим током. 5.5.3. Конструкция кухонной машины должна обеспечивать обычную степень защиты от влаги.
5.5.5.Класс нагревостойкости изоляции обмоток электродвигателя не ниже класса В, ГОСТ 8865. 5.5.6. Уровень радиопомех, создаваемый электродвигателем не должен превышать норм, устанавливаемых ГОСТ 23511, ГОСТ Р 50033. 5.5.7. Корректированный уровень звуковой мощности кухонной машины, дБ(А), не более 43. 5.5.8. Холодильный агрегат должен быть заправлен озонобезопасный хладагент R600a, согласно ИСО-817; 5.5.9. Размеры, цветовое решение, способ и место нанесения символов органов управления должно соответствовать конструкторской документации. 5.6. Условия эксплуатации – климатическое исполнение УХЛ по ГОСТ 15150, группа условий эксплуатации М23 по ГОСТ 17516. 5.7. Требования к маркировке и упаковке. 5.7.1. Маркировка холодильника должна быть выполнена в соответствии с ГОСТ 14087, ГОСТ 19423 и конструкторской документацией завода изготовителя. Маркировка транспортной тары должна содержать данные об упакованных изделиях. Состав данных должен соответствовать конструкторской документации согласно условному обозначению изделия. 5.7.2. Упаковка. Требования к потребительской и транспортной таре (тип ящиков, марка картона и т.п.), количество изделий в таре в соответствии с конструкторской документацией завода-изготовителя. 5.8.Транспортирование и хранение. 5.8.1.Кухонные машины могут транспортироваться всеми видами транспорта в крытых транспортных средствах, в температурных условиях от –40°С до +40°С. 5.8.2.Хранение кухонных машин допускается только в отапливаемых и вентилируемых хранилищах при температуре от +16°С до +32°С.
6.1.Лимитная цена изделия, руб/дм3 . – 101. 6.2.Предполагаемая годовая потребность в продукции, тыс. шт. – 20. 6.3. Срок окупаемости затрат, 1 лет 7. Компании-производители холодильников-морозильников. Наиболее популярные модели холодильников выпускаются компаниями Liebherr, Bosch, Gorenje.
6.6.3. Тепловой и конструктивный расчет испарителей. 6.6.3.1. Расчет испарителя морозильной камеры. Необходимая площадь теплопередающей поверхности испарителя рассчитывается из уравнения:
где Q - тепловая нагрузка на испаритель; Ки - коэффициент теплопередачи; DТи - средняя логарифмическая разность температур. Средняя логарифмическая разность температур рассчитывается из соотношения:
где Тв1 =255К - температура воздуха в камере холодильника в конце рабочей части цикла; Тв2 =258 К- температура воздуха в камере холодильника в начале рабочей части цикла; То = 253 К - температура кипения холодильного агента. Коэффициент теплопередачи испарителя вычисляется из уравнения:
где a1и - коэффициент теплоотдачи на внутренней поверхности каналов испарителя; a2и - коэффициент теплоотдачи на наружной поверхности испарителя; dи =0,002 - толщина стенки каналов испарителя; lи
=202 Вт/м Еи - коэффициент эффективности оребрения; yи = 6 - коэффициент оребрения испарителя.
где F'и - площадь внутренней поверхности каналов испарителя. Коэффициент теплопередачи испарителя для системы «No frost» рассчитывается по формуле: Кип
= 1,5 Значение коэффициента теплопроводности стенки для алюминиевых испарителей в диапазоне температур от 263 до 243 К находятся в пределах lи =200 ¸203 Вт/м×К. Коэффициент теплоотдачи на внутренней поверхности испарителя рассчитывается для пузырькового режима течения парожидкостной смеси хладагента в процессе кипения:
где rо ¢,rо ¢¢- плотность соответственно жидкого и парообразного хладагента при температуре кипения То ; lо ¢- коэффициент теплопроводности жидкого хладагента при температуре То ; uо ¢- коэффициент кинематической вязкости жидкого хладагента при То ; sо - коэффициент поверхностного натяжения жидкого хладагента на границе с насыщенным паром; q1и - плотность теплового потока. Значения теплофизических диаметров хладагента при температуре кипения. Коэффициент поверхностного натяжения для хладагента R600а при То =243 К составляет sо = 16,7´10-3 Н/м, при То = 273 К - sо = 12,0´10-3 Н/м, для промежуточных значений То , sо вычисляется методом линейной интерполяции, при То = 253 К - sо = 13,6´10-3 Н/м Плотность теплового потока в процессе кипения хладагента R600а определяется по формуле:
где wи - средняя скорость парожидкостной смеси хладагента в испарителе ; d1и - внутренний диаметр каналов испарителя; Тс1 - температура внутренней стенки испарителя; А - коэффициент, зависящий от температуры кипения хладагента. Средняя скорость потока хладагента определяется из условия неразрывности потока:
где vи - средний удельный объем хладагента в испарителе.
где v2 = 0,0473 м3 /кг, v5 =0,4819 м3 /кг - удельный объем хладагента в точках 2 и 5 цикла холодильного агрегата; Хи - среднее значение массового расходного паросодержания хладагента в процессе кипения в испарителе: Хи = 0,5·(1 - Х2 )=0,5·(1-0,095)=0,4525, (9) где Х2 - массовое расходное паросодержание хладагента на входе в испаритель. Коэффициент А для хладагента R600а в диапазоне температур кипения То = 243 ¸ 263 К вычисляется из соотношения: А = 0,0085 Вследствие высокой теплопроводности материала стенки испарителя разность температур (Тсi - То ) рекомендуется задавать в пределах (0.5 ¸ 0,8) К. В связи со сложным характером теплообмена между воздухом и наружной поверхностью испарителя, обусловленный одновременно протекающими процессами конвективного теплообмена и теплообмена излучением, коэффициент теплоотдачи на наружной оребренной поверхности испарителя складывается из двух составляющих: a2и = a2к +a2л = 4,2394 + 1,0853 =5,3225 [Вт/м2 ·К], (11) где a2к - коэффициент теплоотдачи на наружной поверхности испарителя, учитывающий влияние конвективного теплообмена; a2л - коэффициент теплоотдачи на наружной поверхности испарителя, учитывающий влияние лучистого теплообмена. Средняя величина конвективной составляющей коэффициента теплоотдачи a’2к при свободной конвекции воздуха у поверхности испарителя рассчитывается по уравнению:
где Nuи - критерий Нуссельта; d2и - наружный диаметр каналов испарителя; lв - коэффициент теплопроводности влажного воздуха при температуре Tw =0,5(Ткм +Тс2 )=0,5(255+254) = 254,5К; Ткм - заданная температура воздуха в камере; Тс2 = 254К - температура наружной поверхности испарителя.
где Рrв - число Прандтдя для воздуха при Tw , характеризующее соотношение молекулярных свойств в процессе переноса теплоты Рrв =0,713; Сг - число Грасгофа, характеризующее эффективность подъемной силы, вызывающей свободную конвекцию воздуха.
где g - ускорение свободного падения; b=1/Ткм
= 3,92 uв
= 11,87 Температура наружной поверхности испарителя Тc2 зависит от температуры кипения и температуры в камере. Для испарителя морозильной камер Тc2 = То + (1 ¸ 2 ) К, для испарителя холодильной камеры - Тc2 = То +(2 ¸ 10) К На процесс конвективного теплообмена оказывают также влияние такие факторы, как термическое сопротивление слоя снегового покрова, образующегося на поверхности испарителя, термическое сопротивление контакта оребрения с трубами испарителя. С учетом влияния перечисленных факторов уравнение для расчета конвективной составляющей коэффициента теплоотдачи a2к принимает следующий вид:
где dсн - допустимая толщина слоя снегового покрова на поверхности испарителя, составляющая, в среднем dсн = 0,002 м; lсн - коэффициент теплопроводности слоя снегового покрова, lсн =0,12 Вт/м×К; Rкн - термическое сопротивление контакта оребрения с трубами испарителя, в среднем, Rкн = 4,5´10-3 м2 ×К/Вт. Лучистая составляющая коэффициента теплоотдачи a2л рассчитывается на основе закона Ньютона-Рихмана:
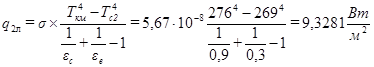
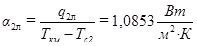
где q2л - плотность теплового потока на наружной поверхности испарителя. Величина плотности теплового потока вычисляется из уравнения:
где s - постоянная Стефана-Больцмана. s = 5,67´10-8 Вт/м2 × К4 eс - коэффициент полного нормального излучения поверхности, в расчетах принимается равным eс =0,9. eв - коэффициент полного нормального излучения влажного воздуха, принимается, в среднем, равным eв = 0,3. После расчета коэффициента теплоотдачи на наружной поверхности испарителя по уравнению (3) вычисляется значение коэффициента теплопередачи Ки , площадь внутренней поверхности каналов испарителя вычисляется из соотношения: F¢и
=Fи
/yи
= Длина трубопровода испарителя - из известной зависимости:
Для морозильной камеры морозильника или комбинированного холодильника – морозильника выбираем испаритель, выполненный в виде пространственного змеевика с листовым оребрением. Испаритель состоит из трех горизонтальных секций, каждая из которых состоит из нескольких витков трубопровода с оребрением в виде приваренных точечной сваркой листов железа. При известном внутреннем объеме можно задается внутренними размерами морозильной камеры: ширина а = 0,454м, глубина b = 0,482 м, высота h = 0,717м Расстояние между полками, т.е. горизонтальными секциями испарителя, можно принять равным h1 = 0,26м тогда число горизонтальных секций составит N = h / h1 = 2,76 Первая секция испарителя располагается в верхней части камеры, а остальные - с заданным по высоте шагом. 6.6.3.2. Расчет испарителя холодильной камеры. Необходимая площадь теплопередающей поверхности испарителя рассчитывается из уравнения:
где Q - тепловая нагрузка на испаритель; Ки - коэффициент теплопередачи; DТи - средняя логарифмическая разность температур. Средняя логарифмическая разность температур рассчитывается из соотношения:
где Тв1 =276К - температура воздуха в камере холодильника в конце рабочей части цикла; Тв2 =278К- температура воздуха в камере холодильника в начале рабочей части цикла; То = 263К - температура кипения холодильного агента. Коэффициент теплопередачи испарителя вычисляется из уравнения.
где a1и - коэффициент теплоотдачи на внутренней поверхности каналов испарителя; a2и - коэффициент теплоотдачи на наружной поверхности испарителя; dи =0,002 - толщина стенки каналов испарителя; lи =202 Вт/м×К - коэффициент теплопроводности стенки испарителя; Еи - коэффициент эффективности оребрения yи =3 - коэффициент оребрения испарителя.
где F'и - площадь внутренней поверхности каналов испарителя. Коэффициент теплопередачи испарителя для системы «No frost» рассчитывается по формуле: Кип
= 1,5 Значение коэффициента теплопроводности стенки для алюминиевых испарителей в диапазоне температур от 263 до 243 К находятся в пределах lи =200 ¸203 Вт/м×К. Коэффициент теплоотдачи на внутренней поверхности испарителя рассчитывается для пузырькового режима течения парожидкостной смеси хладагента в процессе кипения:
где rо ¢,rо ¢¢- плотность соответственно жидкого и парообразного хладагента при температуре кипения То ; lо ¢- коэффициент теплопроводности жидкого хладагента при температуре То ; uо ¢- коэффициент кинематической вязкости жидкого хладагента при То ; sо - коэффициент поверхностного натяжения жидкого хладагента на границе с насыщенным паром; q1и - плотность теплового потока. Значения теплофизических диаметров хладагента при температуре кипения. Коэффициент поверхностного натяжения для хладагента R600а при То = 243 К составляет sо = 16,7´10 -3 Н/м, при То = 273 К - sо = 12,0´10-3 Н/м, для промежуточных значений То , sо вычисляется методом линейной интерполяции, при То = 263 К - sо = 15,1´10-3 Н/м. Плотность теплового потока в процессе кипения хладагента R600а определяется по формуле: где wи - средняя скорость парожидкостной смеси хладагента в испарителе; d1и - внутренний диаметр каналов испарителя; Тс1 - температура внутренней стенки испарителя; А - коэффициент, зависящий от температуры кипения хладагента. Средняя скорость потока хладагента определяется из условия неразрывности потока:
где vи - средний удельный объем хладагента в испарителе.
где v2 = 0,0293 м3 /кг, v5 =0,3309 м3 /кг - удельный объем хладагента в точках 2 и 5 цикла холодильного агрегата; Хи - среднее значение массового расходного паросодержания хладагента в процессе кипения в испарителе: Хи = 0,5·(1 - Х2 )=0,5·(1-0,084)=0,458 , где Х2 - массовое расходное паросодержание хладагента на входе в испаритель. Коэффициент А для хладагента R600а в диапазоне температур кипения То = 243 ¸ 263 К вычисляется из соотношения: А = 0,0085·То –1,223 = 1,0125, Вследствие высокой теплопроводности материала стенки испарителя разность температур (Тсi - То ) рекомендуется задавать в пределах (0.5 ¸ 0,8) К. В связи со сложным характером теплообмена между воздухом и наружной поверхностью испарителя, обусловленный одновременно протекающими процессами конвективного теплообмена и теплообмена излучением, коэффициент теплоотдачи на наружной оребренной поверхности испарителя складывается из двух составляющих: a2и = a2к +a2л = 7,534 + 1,3326 =8,8666 [Вт/м2 ·К], где a2к - коэффициент теплоотдачи на наружной поверхности испарителя, учитывающий влияние конвективного теплообмена; a2л - коэффициент теплоотдачи на наружной поверхности испарителя, учитывающий влияние лучистого теплообмена. Средняя величина конвективной составляющей коэффициента теплоотдачи a¢2л при свободной конвекции воздуха у поверхности испарителя рассчитывается по уравнению:
где Nuи - критерий Нуссельта; d2и - наружный диаметр каналов испарителя; lв - коэффициент теплопроводности влажного воздуха при температуре Tw =0,5(Ткм +Тс2 ) = 0,5(276+269) = 272,5К; Ткм - заданная температура воздуха в камере; Тс2 = 269К - температура наружной поверхности испарителя.
где Рrв - число Прандтдя для воздуха при Tw , характеризующее соотношение молекулярных свойств в процессе переноса теплоты Рrв =0,712; Сг - число Грасгофа, характеризующее эффективность подъемной силы, вызывающей свободную конвекцию воздуха.
где g - ускорение свободного падения; b=1/Ткм = 3,62×10-3 К-1 - температурный коэффициент объемного расширения воздуха; uв = 11,87×10-6 м2 /с - коэффициент кинематической вязкости воздуха при температуре Тw . Температура наружной поверхности испарителя Тc2 зависит от температуры кипения и температуры в камере. Для испарителя морозильной камер Тc2 = То + (1 ¸ 2 ) К, для испарителя холодильной камеры - Тc2 = То +(2 ¸ 10) К На процесс конвективного теплообмена оказывают также влияние такие факторы, как термическое сопротивление воды, образующегося на поверхности испарителя, термическое сопротивление контакта оребрения с трубами испарителя. С учетом влияния перечисленных факторов уравнение для расчета конвективной составляющей коэффициента теплоотдачи a2к принимает следующий вид:
где dв - условная толщина слоя воды на поверхности испарителя, принимается равной dв = 0,001 м; lв - коэффициент теплопроводности воды, lв =0,56 Вт/м×К; Rкн - термическое сопротивление контакта оребрения с трубами испарителя, в среднем, Rкн = 4,5×10-3 м2 ×К/Вт. Лучистая составляющая коэффициента теплоотдачи a2л рассчитывается на основе закона Ньютона-Рихмана:
где q2л - плотность теплового потока на наружной поверхности испарителя. Величина плотности теплового потока вычисляется из уравнения:
где s - постоянная Стефана-Больцмана, s = 5,67×10-8 Вт/м2 × К4 eс - коэффициент полного нормального излучения поверхности, в расчетах принимается равным eс =0,9. eв - коэффициент полного нормального излучения влажного воздуха, принимается, в среднем, равным eв = 0,3. После расчета коэффициента теплоотдачи на наружной поверхности испарителя по уравнению (3) вычисляется значение коэффициента теплопередачи Ки , площадь внутренней поверхности каналов испарителя вычисляется из соотношения: F¢и =Fи /yи =0,3712/6=0,1237 м2 , Длина трубопровода испарителя - из известной зависимости:
6.6.3.3. Конструктивные параметры испарителя холодильной камеры Для холодильной камеры комбинированного холодильника – морозильника выбираем испаритель, выполненный в виде пространственного змеевика с листовым оребрением, расположенный вертикально. 6.6.4. Тепловой и конструкторский расчет конденсатора морозильной камеры. 6.6.4.1. Тепловая стабилизация Зона тепловой стабилизации включает в себя нагнетательный патрубок компрессора, нагнетательный трубопровод и часть конденсатора. На участке тепловой стабилизации происходит отвод теплоты от перегретых паров хладагента за счет теплообмена с окружающей средой. Температура паров хладагента снижается до температуры насыщения при данном давлении, т.е. до температуры конденсации. Площадь теплопередающей поверхности участка тепловой стабилизации рассчитывается из уравнения:
где Qt - количество теплоты, отводимой от хладагента на участке тепловой стабилизации; Кt - коэффициент теплопередачи; ΔТt - средняя логарифмическая разность температур. Количество теплоты, отводимой от хладагента в зоне тепловой стабилизации, рассчитывается из соотношения: Qt = ( i7 - i8 ) × Ga = (721,09·103 – 629,76·103 ) ×1,29·10-3 = 117,816Вт, где i7 , i8 - энтальпия соответственно перегретых и насыщенных паров хладагента, определяемая из расчета цикла холодильного агрегата; Средняя логарифмическая разность температур вычисляется следующим образом:
где Tc1 = 351,95К - температура стенки нагнетательного патрубка у выхода из компрессора; Тc2 = 306К - температура стенки конденсатора в конце участка тепловой стабилизации. При проведении расчетов температура Tс1 , в среднем, принимается равной Tс1 = Т7 - 20К, температура Тс2 задается из условия: Тс2 = ТK – 2К. Коэффициент теплопередачи участка тепловой стабилизации рассчитывается из уравнения:
где α1 t , α2 t коэффициенты теплоотдачи соответственно на внутренней и наружной поверхностях; λм - коэффициент теплопроводности материала трубопроводом при температуре Тс = 0,5(Tс1 + Tс2 ) = 338,975К δс - толщина стенки трубопровода. Коэффициент теплопроводности для трубопроводов из меди при Т=273К составляет λм = 393 Вт/м · К, при Т = 373К – λм = 385 Вт/м · К, для промежуточных значений температуры вычисляется на основе приведенных данных методом линейной интерполяции. Коэффициент теплоотдачи на внутренней поверхности участка тепловой стабилизации рассчитывается на основе критериального уравнения:
где Nu1 t - число Нуссельта, характеризующее интенсивность теплоотдачи от паров хладагента; λ1 t - коэффициент теплопроводности паров хладагента при температуре Тх = 0,5 [(T7 -15) + Тk ] =332,475К; d1 k - внутренний диаметр трубопровода.
Re1 t - число Рейнольдса, характеризующее соотношение сил инерции и сил вязкости в потоке паров хладагента; Рr1 t -число Прандтля, характеризующий соотношение молекулярных свойств переноса количества движения и теплоты и определяемый при температуре Тx .
где W1 t - средняя скорость хладагента на участке тепловой стабилизации; υ1 t = 0,2418× 10-6 м2 /с - коэффициент кинематической вязкости хладагента при температуре Тx .
где υ7 , υ8 - удельный объем перегретых и насыщенных паров хладагента, определяемый при расчете цикла холодильного агрегата.
где Δ - эквивалентная абсолютная шероховатость внутренней поверхности трубопровода, для медных трубопроводов Δ = 1,5×10-6 м. Коэффициент теплоотдачи на наружной поверхности участка термической стабилизации рассчитывается как сумма двух составляющих: a2 t = aКТ +aЛТ = 10,352 + 2,1003 =12,4523 [Вт/м2 ·К], коэффициента теплоотдачи αкт учитывающего влияние конвективного теплообмена, и коэффициента теплоотдачи αлт учитывающего влияние теплообмена избиением:
где Nu2 t - число Нуссельта; λв =2,688×10-2 Вт/м·К - коэффициент теплопроводности воздуха при температуре Тос ; d2K - наружный диаметр трубопровода.
где Рrв =0,699 - число Прандтля для воздуха при температуре Тос ; Сгt - число Грасгофа, характеризующее эффективность подъемной силы, которая вызывает свободно-конвективное движение потока:
где β = 1 / Toс - температурный коэффициент объемного расширения воздуха; Тст = 0,5(Тс1 +Тс2 ) = 328,975К - средняя температура наружной поверхности участка тепловой стабилизации; υв - коэффициент кинематической вязкости воздухе при температуре Tст . Лучистая составляющая коэффициента теплоотдачи рассчитывается на основе закона Ньютона - Рихмана:
где qЛТ - плотность теплового потока, определяемая из уравнения:
где σ = 5,67 × 10-8 Вт / м ·К - постоянная Стефана - Больцмана; εс = 0,9 - коэффициент полного нормального излучения поверхности конденсатора; εв = 0,3 - коэффициент полного нормального излучения влажного воздуха. 6.6.4.2. Конденсация хладагента Площадь теплопередающей поверхности основной части конденсатора, в которой происходит процесс конденсации хладагента, вычисляется из уравнения:
где Qк - тепловая нагрузка конденсатора; Кк - коэффициент теплопередачи конденсатора; ΔТк - средняя разность температур. Тепловая нагрузка конденсатора рассчитывается следующим образом:
где qк - удельное количество теплоты, отводимой от конденсатора, определяемое в результате расчета цикла холодильного агрегата, qк = 295,78 кДж/кг Средняя разность температур представляет собой разность между температурой конденсации хладагента и температурой окружающей среды: ΔTк = Tк - Tос =328 – 305 = 23К Коэффициент теплопередачи конденсатора рассчитывается из уравнения
где α1К - коэффициент теплоотдачи конденсирующегося хладагента, приведенный к внутренней поверхности конденсатора; α2К - коэффициент теплоотдачи на наружной поверхности конденсатора; ψк - коэффициент оребрения конденсатора. Коэффициент теплоотдачи на внутренней поверхности при конденсации хладагента рассчитывается из уравнения:
где С – коэффициент, зависящий от расположения каналов: для горизонтального С= 0,07; для вертикального C = 0,11 λк - коэффициент теплопроводности жидкого хладагента при температуре Тк ; Vк - коэффициент кинематической вязкости жидкого хладагента при температуре Тк ; 1к - определяющий размер конденсатора; ΔТ1K - средняя разность между температурой конденсации хладагента и температурой внутренней стенки. Разность температур ΔТ1K в расчетах принимается равной (1 ÷ 2) К. Определяющий размер конденсатора зависит от пространственного расположения его каналов. Для конденсаторов с вертикальным расположением каналов величина 1к соответствует высоте конденсатора: 1к = (0,8÷1,2)м. Для конденсаторов с горизонтальным расположением каналов за определяющий размер принимается внутренний диаметр трубопровода. Коэффициент теплоотдачи на наружной поверхности конденсатора рассчитывается как сумма двух составляющих: коэффициента теплоотдачи, учитывающего влияние конвективного теплообмена и коэффициента теплоотдачи, учитывающего влияние теплообмена излучением: α2к = αк +αл =10,2567+2,0651=12,3218Вт/м2 ·К Конвективная составляющая коэффициента теплоотдачи рассчитывается ив критериального уравнения теории подобия:
где Nuк - число Нуссельта; λв - коэффициент теплопроводности воздуха при температуре Тос ; d2к - наружный диаметр трубопровода. Значение критерия Нуссельта рассчитывается в зависимости от расположения каналов конденсатора. Для конденсаторов с горизонтальным расположением каналов число Нуссельта рассчитывается из уравнения:
Число Грасгофа вычисляется из соотношения:
где δ = 1/ Toс - температурный коэффициент объемного расширения воздуха; Тск = Тк - (2÷3)К - средняя температура наружной поверхности конденсатора; Vв - коэффициент кинематической вязкости воздуха при температуре Тос . Лучистая составляющая коэффициента теплоотдачи рассчитывается на основе закона Ньютона - Рихмана:
где qл - плотность теплового потока. Плотность теплового потока при лучистом теплообмене рассчитывается по уравнению с учетом средней температуры поверхности конденсатора Тск , полученное в результате расчета по уравнению значение представляет собой площадь наружной оребренной поверхности конденсатора. Площадь внутренней поверхности конденсатора определяется с учетом коэффициента оребрения:
На основе значения площади внутренней поверхности и внутреннего диаметра трубопровода рассчитывается длина трубопровода конденсатора, шаг змеевика, задается шаг ребер для проволочно - трубных конденсаторов и вычисляется количество ребер. 6.6.4.3. Переохлаждение жидкого хладагента Переохлаждение жидкого хладагента после конденсации позволяет снизить величину потерь холодопроизводительности в процессе дросселирования и повысить удельную холодопроизводительность холодильного агрегата. Зоной переохлаждения жидкости является часть конденсатора, в которой происходит гидродинамическая и тепловая стабилизация потока жидкого хладагента при снижении его температуры от температуры конденсации Тк до температуры переохлаждения Tпо . Площадь теплопередающей поверхности участка переохлаждения жидкого хладагента рассчитывается ив уравнения:
где Qп - количество теплоты, отводимой на участке переохлаждения; Кп - коэффициент теплопередачи: ΔТп - средняя логарифмическая разность температур между наружной поверхностью участка переохлаждения и температурой окружающей среды. Количество теплоты, отводимой от хладагента в зоне переохлаждения, рассчитывается из уравнения: Qп = (i9 - i1 )×Ga =(333,98·103 - 275,28·103 ) ×1,29 ·10-3 =75,723Вт где i9 , i1 - энтальпия жидкого хладагента в точках 9 и 1 цикла холодильного агрегата. Средняя разность температур вычисляется следующим образом:
где Тп1 - температура стенки конденсатора в начале участка переохлаждения жидкого хладагента; Тп2 - температура стенки конденсатора в конце участка переохлаждения. При проведении расчетов принимается, что Тп1 = Тк - 1К; Тп2 = Т1 -1 К. Коэффициент теплопередачи зоны переохлаждения жидкого хладагента Кп вычисляется аналогично коэффициенту теплопередачи Кт участка тепловой стабилизации по формулам. Коэффициент теплопередачи участка тепловой стабилизации рассчитывается из уравнения:
где α1п , α2п - коэффициенты теплоотдачи соответственно на внутренней и наружной поверхностях; λм - коэффициент теплопроводности материала трубопроводом при температуре Тп = 0,5× (Tп1 + Tп2 ) = 315,5К δс - толщина стенки трубопровода. Коэффициент теплопроводности для трубопроводов из меди при Т=273К составляет λм = 393 Вт/м · К, при Т = 373 К – λм = 385 Вт/м · К, для промежуточных значений температуры вычисляется на основе приведенных данных методом линейной интерполяции. Коэффициент теплоотдачи на внутренней поверхности участка тепловой стабилизации рассчитывается на основе критериального уравнения:
где Nu1п - число Нуссельта, характеризующее интенсивность теплоотдачи от паров хладагента; λ1п - коэффициент теплопроводности паров хладагента при температуре Тх = 0,5×[(T7 -15) + Тк ]=342,475К; d1к - внутренний диаметр трубопровода.
где ε - коэффициент гидравлического сопротивления; Re1п - число Рейнольдса, характеризующее соотношение сил инерции и сил вязкости в потоке паров хладагента; Рг1п - число Прандтля, характеризующее соотношение молекулярных свойств переноса количества движения и теплоты и определяемый при температуре Тх .
где W1п - средняя скорость хладагента на участке тепловой стабилизации; V1п - коэффициент кинематической вязкости хладагента при температуре Тх .
где υ1 , υ9 - удельный объем перегретой и насыщенной жидкости хладагента, определяемый при расчете цикла холодильного агрегата.
где Δ - эквивалентная абсолютная шероховатость внутренней поверхности трубопровода, для медных трубопроводов Δ = 1,5×10-6 м. Коэффициент теплоотдачи на наружной поверхности участка термической стабилизации рассчитывается как сумма двух составляющих: коэффициента теплоотдачи αкп учитывающего влияние конвективного теплообмена, и коэффициента теплоотдачи αлп учитывающего влияние теплообмена избиением: α2п = αкп +αлп =7,1804+1,9643=9,1447Вт/м2 ·К
где Nu2п - число Нуссельта λв - коэффициент теплопроводности воздуха при температуре Тос d2к - наружный диаметр трубопровода.
где Рrв - число Прандтля для воздуха при температуре Тос Сгп - число Грасгофа, характеризующее эффективность подъемной силы, которая вызывает свободно-конвективное движение потока
где β = 1 / Toс - температурный коэффициент объемного расширения воздуха; Тп = 0,5 × (Тп1 +Тп2 ) – средняя температура наружной поверхности участка тепловой стабилизации; Vв - коэффициент кинематической вязкости воздухе. Лучистая составляющая коэффициента теплоотдачи рассчитывается на основе закона Ньютона - Рихмана:
где qлп - плотность теплового потока, определяемая из уравнения:
где σ = 5,67×10-8 Вт/м · К - постоянная Стефана - Больцмана; εс = 0,9 - коэффициент полного нормального излучения поверхности конденсатора; εв = 0,3 - коэффициент полного нормального излучения влажного воздуха. 6.6.5. Тепловой и конструкторский расчет конденсатора холодильной камеры. 6.6.5.1. Тепловая стабилизация Зона тепловой стабилизации включает в себя нагнетательный патрубок компрессора, нагнетательный трубопровод и часть конденсатора. На участке тепловой стабилизации происходит отвод теплоты от перегретых паров хладагента за счет теплообмена с окружающей средой. Температура паров хладагента снижается до температуры насыщения при данном давлении, т.е. до температуры конденсации. Площадь теплопередающей поверхности участка тепловой стабилизации рассчитывается из уравнения:
где Qt - количество теплоты, отводимой от хладагента на участке тепловой стабилизации; Кt - коэффициент теплопередачи; ΔТt - средняя логарифмическая разность температур. Количество теплоты, отводимой от хладагента в зоне тепловой стабилизации, рассчитывается из соотношения: Qt = ( i7 - i8 ) × Ga = (706,84·103 – 629,76·103 ) ×1,51·10-3 = 116,391Вт, где i7 , i8 - энтальпия соответственно перегретых и насыщенных паров хладагента, определяемая из расчета цикла холодильного агрегата; Средняя логарифмическая разность температур вычисляется следующим образом:
где Tc1 = 345,25К - температура стенки нагнетательного патрубка у выхода из компрессора; Тc2 = 326К - температура стенки конденсатора в конце участка тепловой стабилизации. При проведении расчетов температура Tс1 , в среднем, принимается равной Tс1 = Т7 - 20К, температура Тс2 задается из условия: Тс2 = ТK – 2К. Коэффициент теплопередачи участка тепловой стабилизации рассчитывается из уравнения:
где α1 t , α2 t коэффициенты теплоотдачи соответственно на внутренней и наружной поверхностях; λм - коэффициент теплопроводности материала трубопроводом при температуре Тс = 0,5(Tс1 + Tс2 ) = 335,625К δс - толщина стенки трубопровода. Коэффициент теплопроводности для трубопроводов из меди при Т=273К составляет λм = 393 Вт/м · К, при Т = 373К – λм = 385 Вт/м · К, для промежуточных значений температуры вычисляется на основе приведенных данных методом линейной интерполяции. Коэффициент теплоотдачи на внутренней поверхности участка тепловой стабилизации рассчитывается на основе критериального уравнения:
где Nu1 t - число Нуссельта, характеризующее интенсивность теплоотдачи от паров хладагента; λ1 t - коэффициент теплопроводности паров хладагента при температуре Тх = 0,5 [(T7 -15) + Тk ] =339,125К; d1 k - внутренний диаметр трубопровода.
где ε - коэффициент гидравлического сопротивления; Re1 t - число Рейнольдса, характеризующее соотношение сил инерции и сил вязкости в потоке паров хладагента; Рr1 t -число Прандтля, характеризующий соотношение молекулярных свойств переноса количества движения и теплоты и определяемый при температуре Тx .
где W1 t - средняя скорость хладагента на участке тепловой стабилизации; υ1 t = 0,2342 × 10-6 м2 /с - коэффициент кинематической вязкости хладагента при температуре Тx .
где υ7 , υ8 - удельный объем перегретых и насыщенных паров хладагента, определяемый при расчете цикла холодильного агрегата.
где Δ - эквивалентная абсолютная шероховатость внутренней поверхности трубопровода, для медных трубопроводов Δ = 1,5×10-6 м. Коэффициент теплоотдачи на наружной поверхности участка термической стабилизации рассчитывается как сумма двух составляющих: a2 t = aКТ +aЛТ = 10,7112+ 2,1689=12,88 [Вт/м2 ·К], коэффициента теплоотдачи αкт учитывающего влияние конвективного теплообмена, и коэффициента теплоотдачи αлт учитывающего влияние теплообмена избиением:
где Nu2 t - число Нуссельта; λв =2,688×10-2 Вт/м·К - коэффициент теплопроводности воздуха при температуре Тос ; d2K - наружный диаметр трубопровода.
где Рrв =0,699 - число Прандтля для воздуха при температуре Тос ; Сгt - число Грасгофа, характеризующее эффективность подъемной силы, которая вызывает свободно-конвективное движение потока:
где β = 1 / Toс - температурный коэффициент объемного расширения воздуха; Тст = 0,5(Тс1 +Тс2 ) = 335,625К - средняя температура наружной поверхности участка тепловой стабилизации; υв - коэффициент кинематической вязкости воздуха при температуре Tст . Лучистая составляющая коэффициента теплоотдачи рассчитывается на основе закона Ньютона - Рихмана:
где qЛТ - плотность теплового потока, определяемая из уравнения:
где σ = 5,67 × 10-8 Вт / м ·К - постоянная Стефана - Больцмана; εс = 0,9 - коэффициент полного нормального излучения поверхности конденсатора; εв = 0,3 - коэффициент полного нормального излучения влажного воздуха. 6.6.5.2. Конденсация хладагента Площадь теплопередающей поверхности основной части конденсатора, в которой происходит процесс конденсации хладагента, вычисляется из уравнения:
где Qк - тепловая нагрузка конденсатора; Кк - коэффициент теплопередачи конденсатора; ΔТк - средняя разность температур. Тепловая нагрузка конденсатора рассчитывается следующим образом:
где qк - удельное количество теплоты, отводимой от конденсатора, определяемое в результате расчета цикла холодильного агрегата, qк = 295,78 кДж/кг Средняя разность температур представляет собой разность между температурой конденсации хладагента и температурой окружающей среды: ΔTк = Tк - Tос =328 – 305 = 23К Коэффициент теплопередачи конденсатора рассчитывается из уравнения
где α1К - коэффициент теплоотдачи конденсирующегося хладагента, приведенный к внутренней поверхности конденсатора; α2К - коэффициент теплоотдачи на наружной поверхности конденсатора; ψк - коэффициент оребрения конденсатора. Коэффициент теплоотдачи на внутренней поверхности при конденсации хладагента рассчитывается из уравнения:
где С – коэффициент, зависящий от расположения каналов: для горизонтального С= 0,07; для вертикального C = 0,11 λк - коэффициент теплопроводности жидкого хладагента при температуре Тк ; Vк - коэффициент кинематической вязкости жидкого хладагента при температуре Тк ; 1к - определяющий размер конденсатора; ΔТ1K - средняя разность между температурой конденсации хладагента и температурой внутренней стенки. Разность температур ΔТ1K в расчетах принимается равной (1 ÷ 2) К. Определяющий размер конденсатора зависит от пространственного расположения его каналов. Для конденсаторов с вертикальным расположением каналов величина 1к соответствует высоте конденсатора: 1к = (0,8÷1,2)м. Для конденсаторов с горизонтальным расположением каналов за определяющий размер принимается внутренний диаметр трубопровода. Коэффициент теплоотдачи на наружной поверхности конденсатора рассчитывается как сумма двух составляющих: коэффициента теплоотдачи, учитывающего влияние конвективного теплообмена и коэффициента теплоотдачи, учитывающего влияние теплообмена излучением: α2к = αк +αл =10,2565+2,0651=12,3216Вт/м2 ·К Конвективная составляющая коэффициента теплоотдачи рассчитывается ив критериального уравнения теории подобия:
где Nuк - число Нуссельта; λв - коэффициент теплопроводности воздуха при температуре Тос ; d2к - наружный диаметр трубопровода. Значение критерия Нуссельта рассчитывается в зависимости от расположения каналов конденсатора. Для конденсаторов с горизонтальным расположением каналов число Нуссельта рассчитывается из уравнения:
Число Грасгофа вычисляется из соотношения:
где δ = 1/ Toс - температурный коэффициент объемного расширения воздуха; Тск = Тк - (2÷3)К - средняя температура наружной поверхности конденсатора; Vв - коэффициент кинематической вязкости воздуха при температуре Тос . Лучистая составляющая коэффициента теплоотдачи рассчитывается на основе закона Ньютона - Рихмана:
где qл - плотность теплового потока. Плотность теплового потока при лучистом теплообмене рассчитывается по уравнению с учетом средней температуры поверхности конденсатора Тск , полученное в результате расчета по уравнению значение представляет собой площадь наружной оребренной поверхности конденсатора. Площадь внутренней поверхности конденсатора определяется с учетом коэффициента оребрения:
На основе значения площади внутренней поверхности и внутреннего диаметра трубопровода рассчитывается длина трубопровода конденсатора, шаг змеевика, задается шаг ребер для проволочно - трубных конденсаторов и вычисляется количество ребер. 6.6.5.3. Переохлаждение жидкого хладагента Переохлаждение жидкого хладагента после конденсации позволяет снизить величину потерь холодопроизводительности в процессе дросселирования и повысить удельную холодопроизводительность холодильного агрегата. Зоной переохлаждения жидкости является часть конденсатора, в которой происходит гидродинамическая и тепловая стабилизация потока жидкого хладагента при снижении его температуры от температуры конденсации Тк до температуры переохлаждения Tпо . Площадь теплопередающей поверхности участка переохлаждения жидкого хладагента рассчитывается из уравнения:
где Qп - количество теплоты, отводимой на участке переохлаждения; Кп - коэффициент теплопередачи: ΔТп - средняя логарифмическая разность температур между наружной поверхностью участка переохлаждения и температурой окружающей среды. Количество теплоты, отводимой от хладагента в зоне переохлаждения, рассчитывается из уравнения: Qп = (i9 - i1 )×Ga =(333,98·103 - 275,28·103 ) ×1,51 ·10-3 =88,637Вт где i9 , i1 - энтальпия жидкого хладагента в точках 9 и 1 цикла холодильного агрегата. Средняя разность температур вычисляется следующим образом:
где Тп1 - температура стенки конденсатора в начале участка переохлаждения жидкого хладагента; Тп2 - температура стенки конденсатора в конце участка переохлаждения. При проведении расчетов принимается, что Тп1 = Тк - 1К; Тп2 = Т1 -1 К. Коэффициент теплопередачи зоны переохлаждения жидкого хладагента Кп вычисляется аналогично коэффициенту теплопередачи Кт участка тепловой стабилизации по формулам. Коэффициент теплопередачи участка тепловой стабилизации рассчитывается из уравнения:
где α1п , α2п - коэффициенты теплоотдачи соответственно на внутренней и наружной поверхностях; λм - коэффициент теплопроводности материала трубопроводом при температуре Тп = 0,5× (Tп1 + Tп2 ) = 315,5К δс - толщина стенки трубопровода. Коэффициент теплопроводности для трубопроводов из меди при Т=273К составляет λм = 393 Вт/м · К, при Т = 373 К – λм = 385 Вт/м · К, для промежуточных значений температуры вычисляется на основе приведенных данных методом линейной интерполяции. Коэффициент теплоотдачи на внутренней поверхности участка тепловой стабилизации рассчитывается на основе критериального уравнения:
где Nu1п - число Нуссельта, характеризующее интенсивность теплоотдачи от паров хладагента; λ1п - коэффициент теплопроводности паров хладагента при температуре Тх = 0,5×[(T7 -15) + Тк ]=339,125К; d1к - внутренний диаметр трубопровода.
где ε - коэффициент гидравлического сопротивления; Re1п - число Рейнольдса, характеризующее соотношение сил инерции и сил вязкости в потоке паров хладагента; Рг1п - число Прандтля, характеризующее соотношение молекулярных свойств переноса количества движения и теплоты и определяемый при температуре Тх .
где W1п - средняя скорость хладагента на участке тепловой стабилизации; V1п - коэффициент кинематической вязкости хладагента при температуре Тх .
где υ1 , υ9 - удельный объем перегретой и насыщенной жидкости хладагента, определяемый при расчете цикла холодильного агрегата.
где Δ - эквивалентная абсолютная шероховатость внутренней поверхности трубопровода, для медных трубопроводов Δ = 1,5х10-6 м. Коэффициент теплоотдачи на наружной поверхности участка термической стабилизации рассчитывается как сумма двух составляющих: коэффициента теплоотдачи αкп учитывающего влияние конвективного теплообмена, и коэффициента теплоотдачи αлп учитывающего влияние теплообмена избиением: α2п = αкп +αлп =7,1804+1,9643=9,1447Вт/м2 ·К
где Nu2п - число Нуссельта λв - коэффициент теплопроводности воздуха при температуре Тос d2к - наружный диаметр трубопровода.
где Рrв - число Прандтля для воздуха при температуре Тос Сгп - число Грасгофа, характеризующее эффективность подъемной силы, которая вызывает свободно-конвективное движение потока
где β = 1 / Toс - температурный коэффициент объемного расширения воздуха; Тп = 0,5 × (Тп1 +Тп2 ) – средняя температура наружной поверхности участка тепловой стабилизации; Vв - коэффициент кинематической вязкости воздухе. Лучистая составляющая коэффициента теплоотдачи рассчитывается на основе закона Ньютона - Рихмана:
где qлп - плотность теплового потока, определяемая из уравнения:
где σ = 5,67×10-8 Вт/м · К - постоянная Стефана - Больцмана; εс = 0,9 - коэффициент полного нормального излучения поверхности конденсатора; εв = 0,3 - коэффициент полного нормального излучения влажного воздуха. 4.6.8.4 Конструктивный расчет конденсатора для двух холодильных агрегатов. В результате расчета процесса конденсации холодильных агрегатов в конденсаторе получено значение площади наружной теплопередающей поверхности конденсатора Fк для обоих камер. Для определения площади теплопередающей поверхности для каждого холодильного агрегата, зная, общую площадь определим в процентном отношении. Для холодильного агрегата морозильной камеры Fк =0,1738м2 , для холодильного агрегата холодильной камеры Fк =0,19001м2 Определим конструктивные параметры конденсатора холодильного агрегата холодильной камеры: Минимальная площадь внутренней поверхности конденсатора: Fк ’ = Fк / i =0,19001 / 4 =0,0475м2 Длина трубопровода конденсатора Lт = Fк ’ / (p × d1 ) = 0,0475 / (p × 0,004) =3,78 м Площадь наружной поверхности трубопровода Fт = p × d2 × Lт =p × 0,005 × 3,8 =0,0594 м2 Площадь оребрения конденсатора Fо = Fк – Fт = 0,19001-0,0594 =0,1306 м2 Конструктивное решение конденсатора выбираем проволочно-трубчатого типа с вертикальным расположением каналов и горизонтальным расположением ребер. Исходя из конструктивных размеров наружного шкафа холодильника, задаемся шириной a и шагом труб Zт конденсатора в следующих пределах: А = (0,50...0,55) = 0,525 м , Zт = (0,05...0,06) = 0,055 м Число витков трубопровода конденсатора Nт = Lт / (2 × a) = 3,78 / (2 × 0,525) =3,6. Принимаем 4 Высота конденсатора H = Zт × (2 × Nт - 1) = 0,055 × (2 × 4 - 1) = 0,0079м Определим конструктивные параметры конденсатора холодильного агрегата морозильной камеры: Минимальная площадь внутренней поверхности конденсатора: Fк ’ = Fк / i = 0,1738 / 4 =0,0434м2 Длина трубопровода конденсатора Lт = Fк ’ / (p × d1 ) = 0,0434 / (p × 0,004) = 3,46 м Площадь наружной поверхности трубопровода Fт = p × d2 × Lт =p × 0,005 × 3,46 = 0,0543м2 Площадь оребрения конденсатора Fо = Fк – Fт = 0,1738-0,0543=0,1195м2 Конструктивное решение конденсатора ХК выбираем проволочно- трубчатого типа с вертикальным расположением каналов и горизонтальным расположением ребер. Исходя из конструктивных размеров наружного шкафа холодильника, задаемся шириной a и шагом труб Zт конденсатора в следующих пределах: А = (0,50...0,55) = 0,525 м , Zт = (0,05...0,06) = 0,055 м Число витков трубопровода конденсатора Nт = Lт / (2 × a) = 3,46 / (2 × 0,525) =3,3 Принимаем 4 Высота конденсатора H = Zт × (2 × Nт - 1 ) = 0,055 × (2 × 4 - 1) = 0,0079м Оребрением конденсатора служат ребра из стальной проволоки, диаметр которой составляет do = (1....2) = 1,5 мм Площадь одного ребра Fo1 = p × do × H =p × 1,5 × 0,0079 = 0,0372м2 Число ребер Nр = Fо / Fo1 = 0,1195/0,0372=3,19. Принимаем 4 Ребра привариваются к змеевику с двух сторон и располагаются напротив друг друга, поэтому число ребер с каждой стороны Np ’ = Np / 2 = 4/2= 2 Шаг ребер Zp = (a – Zт ) / Np ’ = (0,525 – 0,055 ) / 2=0,235 В результате расчета получился один конденсатор для холодильной камеры число витков 4, а в конденсаторе морозильной камеры число витков 4. Теплофизические свойства насыщенной жидкости R12
Приложение 2
Таблица 7.3
|
|||||||||||||||||||||||||||||||||||||||||||||||||||||||||||||||||||||||||||||||||||||||||||||||||||||||||||||||||||||||||||||||||||||||||||||||||||||||||||||||||||||||||||||||||||||||||||||||||||||||||||||||||||||||||||||||||||||||||||||||||||||||||||||||||||||||||||||||||||||||||||||||||||||||||||||||||||||||||||||||||||||||||||||||||||||||||||||||||||||||||||||||||||||||||||||||||||||||||||||||||||||||||||||||||||||||||||||||||||||||||||||||||||||||||||||||||||||||||||||||||||||||||||||||||||||||||||||||||||||||||||||||||||||||||||||||||||||||||||||||||||||||||||||||||||||||||||||||||||||||||||||||||||||||||||||||||||||||||||||||||||||||||||||||||||||||||||||||||||||||||||||||||||||||||||||||||||||||||||||||||||||||||||||||||||||||||||||||||||||||||||||||||||||||||||||||||||||||||||||||||||||||||||||||||||||||||||||||||||||||||||||||||||||||||||||||||||||||||||||||||||||||||||||||||||||||||||||||||||||||||||||||||||||||||||||||||||||||||||||||||||||||||||||||||||||||||||||||||||||||
Работы, похожие на Учебное пособие: Методические указания по выполнению курсовго проекта




(2)
(4)
(5)
;
(6)
(7)
(8)
(10)
(11)
(12)
;
(13)
(16)
(17)
(21)
,
(24)
(26)



, (2)
, (3)
, (5)
, (6)
, (12)
, (13)
, (14)
, (16)
,
,
,
,
,
,
,
,
,
,где ε - коэффициент гидравлического сопротивления; 








,

,
,
,
,
,








,
,
,






