Учебное пособие: Методические указания по выполнению курсовых проектов и лабораторных работ для специальностей фтф составили
|
Название: Методические указания по выполнению курсовых проектов и лабораторных работ для специальностей фтф составили Раздел: Остальные рефераты Тип: учебное пособие | ||
| Министерство общего и профессионального образования Российской Федерации Томский политехнический университет УТВЕРЖДАЮ Декан ФТФ, проф., д-р физ.-мат. наук ______________ В.И. Бойко "___"_________1999г. ИДЕНТИФИКАЦИЯ ДИНАМИЧЕСКИХ ЗВЕНЬЕВ СИСТЕМ АВТОМАТИЧЕСКОГО РЕГУЛИРОВАНИЯ Методические указания по выполнению курсовых проектов и лабораторных работ для специальностей ФТФ Составили: доцент кафедры ЭАФУ Дядик В.Ф. доцент кафедры ЭАФУ Ливенцов С.Н., старший преподаватель кафедры ЭАФУ Лысенок А.А. Томск 1999 УДК Идентификация динамических звеньев систем автоматического регулирования: Методические указания по выполнению курсовых проектов и лабораторных работ для специальностей ФТФ.- Томск: Изд. ТПУ, 1999.- 18 с. Составители: доцент, канд. техн. наук Дядик В.Ф. доцент, канд. техн. наук Ливенцов С.Н. старший преподаватель Лысенок А.А. Рецензент доцент, канд. техн. наук Онищук А.Н. Методические указания рассмотрены и рекомендованы к изданию методическим семинаром кафедры ЭАФУ "___"___________ 1999г. Зав. кафедрой доцент, канд. техн. наук ______________ В.Ф.Дядик Зарегистрировано в редакционно-издательском отделе ТПУ №______ от _________________ Одобрено методической комиссией ФТФ. Предс. метод. комиссии, доцент, канд. техн. наук _________________________ В.Д.Каратаев "____"_______________1999г. Содержание Введение................................................................................................... 4 1. Идентификация объекта управления.............................................. 5 1.1. Типовые модели объектов управления.................................... 5 1.2. Определение характеристик объекта управления................... 6 1.3. Пример определения характеристик технологического объекта управления по экспериментальной переходной функции (кривой разгона)........................................................ 9 2. Идентификация регулятора........................................................... 12 2.1. Определение параметров настройки П-регулятора.............. 12 2.2. Определение параметров настройки ПИ-регулятора........... 12 2.3. Определение параметров настройки ПИД-регулятора......... 14 2.4. Особенности кривых разгона цифровых регуляторов......... 15 Заключение............................................................................................ 16 Литература............................................................................................. 17 Настоящие методические указания содержат методику идентификации статических и астатических звеньев полунатурных моделей систем автоматического регулирования. В методике используются экспериментально полученные кривые разгона исследуемых звеньев. Объектом управления в этих САР является апериодическое звено до второго порядка с запаздыванием, а в качестве регуляторов используются стандартные регулирующие блоки систем "Каскад", АКЭСР или ремиконт Р-130. Данная аппаратура позволяет реализовывать П-, ПИ-, ПИД- законы регулирования. Поэтому настоящая методика предназначена для определения параметров следующих динамических звеньев: · апериодического звена до второго порядка с запаздыванием; · пропорционального звена; · изодромного звена; · пропорционально-интегрально-дифференциального звена. Эти указания предназначены для использования студентами специальностей 200.600, 250.900, 251.700 при выполнении лабораторных работ и курсовых проектов по следующим курсам: · "Теория автоматического управления"; · "Средства автоматизации и приборы контроля химических производств отрасли"; · "Автоматика, автоматизация и автоматизированные системы управления технологическими процессами"; · "Электрические элементы систем автоматического управления". Для использования указаний необходимо знание основ теории автоматического регулирования: аппарата передаточных функций, временных характеристик элементарных звеньев, типовых структурных схем регуляторов. 1. Идентификация объекта управления Для обеспечения устойчивой работы САР с удовлетворительными показателями качества управления требуется рассчитать оптимальные значения параметров регулирующего устройства. Для этого, в первую очередь, необходимо определить статические и динамические характеристики объекта управления. /1/ 1.1. Типовые модели объектов управления В общем виде объект управления рассматривается как звено, имеющее выходную координату y(t), которая является управляемой переменной, и входную переменную x(t), которая является управляющим воздействием. Математической моделью объекта является выражение, определяющее зависимость между выходной и входной переменными: y(t)=F[x(t)]; иначе модель объекта может быть представлена его передаточной функцией /2/:
где s – оператор Лапласа; X(s) – изображение входной переменной в операторной форме; Y(s) – изображение выходной координаты в операторной форме. На практике объект управления обычно аппроксимируется звеном с передаточной функцией не выше 2-го порядка с запаздыванием /3/. Типовые уравнения, описывающие объект управления с самовыравниванием, могут быть представлены в виде дифференциальных уравнений с постоянными коэффициентами /1,3/. Для объекта 1-го порядка с запаздыванием:
где T0 – постоянная времени; t0 – время запаздывания; k0 – коэффициент передачи объекта по каналу управления. Для объекта 2-го порядка с разными постоянными времени:
где T01 и T02 – постоянные времени. Для объекта 2-го порядка с одинаковыми постоянными времени:
Передаточные функции, соответствующие уравнениям (1.1)¸(1.3) имеют вид:
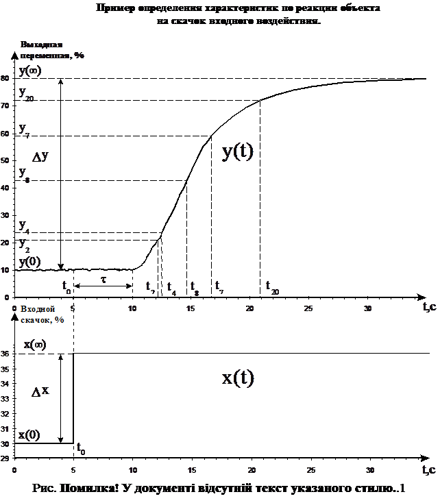
Поскольку объект в диапазоне отклонений выходной и входной переменных от их программных значений рассматривается как линейный, его статическая характеристика задается коэффициентом передачи k0 , а параметрами динамических характеристик объекта являются значения постоянных времени T0 , T01 , T02 и времени запаздывания t0 /1/. При отсутствии запаздывания в выражениях (1.1)¸(1.6) t0 =0. 1.2. Определение характеристик объекта управления Наиболее распространенным и эффективным способом определения статических и динамических характеристик объекта является исследование реакции объекта управления на скачкообразное изменение входной переменной. /3/ Пример реакции объекта управления на скачкообразное изменение входной переменной приведен на рис.1.1. Как правило, реальный объект описывается уравнением достаточно высокого порядка, но относительно больших (доминирующих) постоянных времени – одна или две. Поэтому, получив реакцию объекта на скачок управляющего воздействия, можно аппроксимировать полученную кривую переходного процесса уравнением 1-го или 2-го порядка с запаздыванием и определить его коэффициенты. Порядок определения параметров динамических характеристик объекта управления по экспериментальным переходным функциям. 1. Задается скачок управляющего воздействия на входе объекта управления с фиксацией начального значения x(t0 ) и конечного значения x(¥). Скачок подается в момент, когда объект находится в стационарном состоянии. Величина скачка подбирается экспериментально таким образом, чтобы реакция на него выходной переменной составляла 80¸90% шкалы регистрирующего прибора, но не выходила из его диапазона измерения. 2. Регистрируется реакция объекта y(t) на скачок Dx=x(¥)-x(t0 ). При этом необходимо зафиксировать момент подачи скачка Dx на диаграммной ленте самопишущего прибора. Переходный процесс регистрируется в виде графика на диаграммной ленте прибора с известной скоростью протяжки ленты. Размер получившегося графика должен быть таким, чтобы обеспечивалась приемлемая погрешность (2¸3%) измерений отрезков на нем с помощью обычной ученической линейки. Обычно для этого достаточно длины графика 300¸500 мм. Процесс регистрируется до достижения установившегося режима. 3. Определяется "чистое" запаздывание t0 из условия, что при (t-t0 )£t y(t) @y(t0 ). 4.
Определяется коэффициент передачи объекта k0 по значениям входной и выходной переменных в установившихся режимах:
5. Определяется значение времени t7 , при котором y(t)=y7 =0,7k0 . Dx+y(t0 ), а затем определяют Q7 = t7 -t0 -t. 6. Находится значение y(t)=y2
в момент времени t2
=t0
+t+Q7
/3 и определяется значение 7. Объект при
здесь k0 определяется в соответствии с п.4. Для определения динамических характеристик находят значение времени t3 , при котором y(t)=y3 =0,33k0 . Dx+y(t0 ), и вычисляют значение Q3 =t3 -t0 -t. Затем определяют динамические характеристики /3/: t0 =t+0,5. (3Q3 -Q7 ); и T0 =1,25. (Q7 -Q3 ), где t – "чистое" запаздывание, определенное в п.3, Q7 определено в п.5. Таким образом, для объекта 1 порядка найдены все необходимые характеристики: k0 , T0 и t0 . Для проверки правильности определения характеристик можно сравнить кривые переходного процесса и кривую, вычисленную по выражению (1.8). При расчете необходимо учесть условия по времени и соответствующий сдвиг по этой координате. 8. Объект при 0,19<y2 £0,33 аппроксимируется уравнением 2-го порядка (1.2), решение которого для переходного процесса при подаче скачкообразного воздействия величины Dx имеет вид /1/:
где k0 – определяется в соответствии с п.4; t0 =t, где t определяется в соответствии с п.3;
Q7 – определенное в п.5;
Для проверки правильности определения характеристик сравнивают значения кривой переходного процесса и значений аппроксимирующей кривой, полученной по выражению (1.9), при значении времени t8 =t0 +t0 +0,8(T01 +T02 ) и t20 =t0 +t0 +2(T01 +T02 ). При правильном определении характеристик значения должны совпадать в пределах допустимой погрешности. 9. Объект при
где k0 – определяется в соответствии с п.4. Для определения динамических характеристик находят значение времени t4 , при котором y(t)=y4 =0,19k0 . Dx + y(t0 ), и вычисляют значение Q4 =t4 -t0 -t. Затем определяют время запаздывания: t0 =t+0,5(3Q4 -Q7 ); где t – определено по п.3; Q7 – определено по п.4; и постоянную времени: T0 =0,625(Q7 -Q4 ). Для проверки правильности определения характеристик сравнивают значения кривой переходного процесса и значений аппроксимирующей кривой, полученной по выражению (1.10) для значений времени t8 =t0 +t0 +1,6T0 и t20 =t0 +t0 +4T0 . При правильном определении характеристик значения должны совпадать в пределах допустимой погрешности. На рис.1.1 приведен пример реакции объекта управления на скачок входного воздействия. В данном случае входным воздействием является значение, отображаемое на подключенном к входу объекта управления измерительном приборе, шкала которого проградуирована в процентах(%). Выходной переменной является значение, отображаемое на подключенном к выходу объекта измерительном приборе, шкала которого также проградуирована в процентах(%). Таким образом, коэффициент передачи идентифицируемого объекта будет величиной безразмерной. В соответствии с методикой определим параметры объекта управления. 1. Скачок входного воздействия подан в момент t0 , когда объект находится в стационарном состоянии. 2. Регистрация реакции объекта проводилась на самопишущем приборе типа КСП-4 со скоростью протяжки диаграммной ленты 1800 мм/час. Момент подачи скачка t0 =5с. 3. Определим чистое запаздывание t. В соответствии с рис.1.1 t=5с. 4. Определим коэффициент передачи объекта k0 :
5. Определим значение t7 для значения y7 =0,7. 11,7. 6+10=59,14[c] t7 для этого значения в соответствии с рис.1.1 соответствует 16,7с. Q7 =t7 -t0 -t=16,7-5-5=6,7[c]. 6. Определим значение y2 в момент времени t2 =t0 +t+Q/3=5+5+6,7/3=12,23[c]. По рис.1.1 находим y2 =21,15%,
Находим значение t4 , при котором y(t)=y4 =0,19. k0 Dx+y(t0 )=0,19. 11,7. 6+10=23,34[%]. По рис. 1.1 находим t4 =12,5[c]. Вычисляем Q4 : Q4 =t4 -t0 -t=12,5-5-5=2,5[c]. Определим время запаздывания объекта: t0 = t+0,5(3Q4 -Q7 )=5+0,5. (3. 2,5-6,7)=5,4[c]. Определим постоянную времени объекта: T0 =0,625(Q7 -Q4 )=0,625. (6,7-2,5)=2,625[c]. Таким образом по экспериментальной кривой определили, что объект управления может быть описан передаточной функцией
Проведем проверку правильности определения характеристик. Для этого определим значение y(t) для значений t8 и t20 . Находим: t8 =t0 +t0 +1,6T0 =5+5,4+1,6. 2,63=14,61[c]; t20 =t0 +t0 +4T0 =5+5,4+4. 2,63=20,93[c]. По рис.1.1 находим y8 =42,5[%] y20 =72[%]. С учетом требуемых начальных условий, по выражению (1.10) находим y'8 для t'8 =t0 +1,6T0 =5,4+1,6. 2,63=9,61[c], и y'20 для t'20 =t0 +4T0 =5,4+4. 2,63= 15,92[c]. t'8 и t'20 определены из условия t0 =0. В этом случае
y’8
= y’20
= Величина ошибки в первом случае :
во втором случае:
Таким образом, можно утверждать, что погрешность адекватности модели объекту управления не превышает 2,5%, что для практического использования является хорошим результатом. Для обеспечения качественной работы необходимо не только рассчитать оптимальные параметры регулятора, но и обеспечить их точную установку, т.к. погрешность установки в 10% приводит к заметному ухудшению качества регулирования. Поэтому целесообразно проводить с целью поверки определение параметров настройки регулятора. Очевидно, что в этом случае вид передаточной функции регулятора известен, что упрощает задачу. В данном разделе рассматривается идентификация П-, ПИ- и ПИД-регуляторов по их кривым разгона. 2.1. Определение параметров настройки П-регулятора. П-регулятор представляет собой усилительное звено, входным сигналом которого является сигнал рассогласования. Идентификация такого регулятора заключается в определении коэффициента передачи этого звена. Для этого необходимо на вход звена подать скачок рассогласования e (с нулевым начальным значением) и зафиксировать выходную координату y регулятора. Коэффициент передачи регулятора КR находится по формуле:
П-регулятор является статическим регулятором и не имеет динамических параметров настройки, поэтому нет смысла снимать его кривую разгона. 2.2. Определение параметров настройки ПИ-регулятора
Для определения параметров настройки ПИ-регулятора необходимо экспериментально получить его кривую разгона по обычным правилам, подав на вход скачок рассогласования e. Примерный вид этой кривой представлен на рис.2.1. Для определения коэффициента передачи регулятора (безразмерного) необходимо измерить пропорциональную составляющую закона регулирования (отрезок KR . e) и воспользоваться формулой:
Регулятор со структурой рис.2.3 описывается выражением:
и имеет взаимозависимые по KR параметры настройки. Параметр интегральной составляющей в этом случае обозначается Тиз и называется, по терминологии заводов-изготовителей, постоянной времени изодрома или просто временем изодрома. Этот параметр связан с временем интегрирования соотношением:
Как время изодрома, так и время дифференцирования часто обозначается заводами-изготовителями как ТИ , поэтому нужно точно установить структуру идентифицируемого регулятора, поскольку методика определения ТИ и Тиз по кривой разгона отличаются. Временем изодрома ПИ-регулятора называется время, в течение которого от действия интегральной (астатической) составляющей удваивается пропорциональная (статическая) составляющая закона регулирования./4/ Порядок определения Тиз показан на рис.2.1. Временем интегрирования Ти ПИ-регулятора называется время, в течение которого от действия интегральной составляющей выходная координата регулятора изменяется на величину входного скачка e от пропорциональной составляющей. Порядок определения Ти показан на рис.2.1. Очевидно, что при КR <1 Тиз >ТИ , т.е. скорость нарастания интегральной составляющей у регулятора рис.2.3 меньше, чем у рис.2.2, а при КR >1 Тиз <ТИ , т.е. скорость нарастания интегральной составляющей у регулятора рис.2.3 больше, чем у рис 2.2. При КR =1 кривые разгона регуляторов с обеими структурами совпадают.
Определение параметров настройки ПИД-регулятора. Идентификация ПИД-регулятора проводится также по его кривой разгона. Примерный вид этой кривой приведен на рис.2.4. При идентификации этого регулятора определяются уже 3 параметра: коэффициент передачи KR (пропорциональная составляющая), Время изодрома Тиз или время интегрирования ТИ (интегральная составляющая), время дифференцирования ТД (дифференциальная составляющая). Одна из возможных структур ПИД-регулятора приведена на рис.2.5. Такой регулятор описывается соотношением:
Подобно рассмотренному выше ПИ-регулятору ПИД-регулятор также может иметь структуру и общим коэффициентом передачи для разных составляющих закона регулирования. Аналогично предыдущему разделу, параметры разных составляющих закона регулирования определяются раздельно. Предварительно нужно достроить кривую разгона рис.2.4 до идеальной, продлив линию интегральной составляющей влево до пересечения с линией пропорциональной составляющей. При этом на линии пропорциональной составляющей будет отсечен отрезок KR . e. После этого параметры пропорциональной KR и интегральной составляющей ТИ или Тиз определяются аналогично разделу 2.2 по рис.2.1. Определение постоянной времени дифференцирования по кривой разгона связано со значительными погрешностями, обусловленными прежде всего низким быстродействием регистрирующего прибора, поэтому здесь не приводится методика определения ТД . Для определения этого параметра существуют специальные методики /4/, предусматривающие экспериментальное получение и обработку кривых разгона регуляторов, охваченных единичной отрицательной обратной связью. В имеющихся на кафедре полунатурных моделях САР данный режим работы не предусмотрен, поэтому методики /4/ и не рассматриваются. 2.4. Особенности кривых разгона цифровых регуляторов. Кривые разгона рис.2.1 и 2.4 характерны для аналоговых регуляторов. У цифровых регуляторов (в нашем случае это ремиконт Р-130) вследствие дискретности процесса расчета выходной координаты кривые разгона могут заметно отличаться от аналогичных у аналоговых регуляторов. Происходит это в том случае, Таким образом, как для цифровых, так и для П-, ПИ-, ПИД-регуляторов предлагается определить лишь параметры, характеризующие пропорциональную и интегральную составляющие. Объем сведений, содержащихся в данных методических указаниях, весьма ограничен. Однако он вполне достаточен для выполнения студентами предусмотренных учебными планами лабораторных работ и курсовых проектов при изучении промышленной автоматики и теории автоматического регулирования с использованием имеющихся на кафедре стендов полунатурного моделирования САР. Более подробно о практических аспектах идентификации промышленных объектов управления можно прочитать в /6/. Несмотря на указанные ограничения, обусловленные ориентированием настоящих указаний на конкретные учебные цели, оно может использоваться также в процессе проектирования и настройки промышленных САР. 1. Гурецкий Х. Анализ и синтез систем управления с запаздыванием. –М.: Машиностроение, 1974. 2. Расчет автоматических систем /под ред. Фатеева А.В. – М.: Высшая школа, 1973 3. Круг Е.К., Минина О.М. Электрические регуляторы промышленной автоматики. – М.-Л.: Госэнергоиздат, 1962. 4. Наладка средств автоматизации и автоматических систем регулирования: Справочное пособие/ А.С. Клюев, А.Т. Лебедев, С.А. Клюев, А.Г. Товарнов; под ред. А.С. Клюева. – М.: Энергоатомиздат, 1989. 5. Изерман Р. Цифровые системы управления: Пер с англ. – Мир, 1984. 6. В.Ф. Дядик, С.Н. Ливенцов, Е.В. Савельева. Руководство по определению характеристик технологических объектов управления и настройке параметров регуляторов.–Томск 1998. РЕЦЕНЗИЯна методические указания "Идентификация динамических звеньев систем автоматического регулирования" Рецензируемые методические указания предназначены для выполнения работ по идентификации динамических звеньев одноконтурных систем автоматического регулирования. Идентификация этих звеньев, моделирующих отдельные элементы контура САР: технологический объект управления и регулятор, производится по их временным характеристикам (кривым разгона). Рецензируемые методические указания предназначены для использования студентами специальностей ФТФ при выполнении предусмотренных учебным планом лабораторных работ и курсовых проектов по следующим курсам: · "Теория автоматического управления"; · "Средства автоматизации и приборы контроля химических производств отрасли"; · "Автоматика, автоматизация и автоматизированные системы управления технологическими процессами"; · "Электрические элементы систем автоматического управления". В рассматриваемых указаниях подробно приводятся конкретные методики идентификации динамических звеньев, описывающих элементы стендов полунатурного моделирования, использующихся в учебном процессе. Для облегчения понимания приводимые методики снабжены иллюстрациями. Несомненным достоинством данной работы является рассмотрение отличий кривых разгона цифровых и аналоговых регуляторов, а также ее практическая направленность. К недостаткам работы следует отнести малый объем теоретического материала, необходимого для понимания изложенных методик. Рецензируемая работа соответствует требованиям, предъявляемым к учебным методическим указаниям, и может быть рекомендована к изданию. Рецензент доцент, к.т.н. А.Н.Онищук |
(1.2)
(1.3)
; (1.4)
; (1.5)
(1.6)
(1.7)
. Если
(1.9)
;
;
, t>t0
, t0
=0; (1.10)
.
,
[%].
=73,6[%].
При скачкообразном изменении рассогласования e на входе ПИ-регулятор сначала очень быстро изменяет свою выходную координату на величину KR
.
e, пропорциональную рассогласованию, после чего выходная координата регулятора дополнительно изменяется в ту же сторону со скоростью, также пропорциональной рассогласованию. Следовательно, в ПИ-регуляторе при отклонении регулируемой величины от заданного значения мгновенно срабатывает пропорциональная (статическая) часть регулятора, а затем воздействие на объект постепенно увеличивается под действием интегральной (астатической) его части.
(2.2)
Для определения параметра, характеризующего интегральную составляющую ПИ-закона регулирования необходимо выяснить структуру идентифицируемого регулятора. ПИ-регулятор может иметь две структурные схемы рис.2.2 и рис.2.3. Регулятор со структурой рис.2.2 имеет независимые параметры настройки пропорциональной и интегральной составляющих КR
и ТИ
(постоянная времени интегрирования или просто время интегрирования) и описывается выражением:
(2.3)
(2.5)

(2.6)
когда цикл цифрового регулятора сравним или больше постоянной времени регистрирующего прибора. В нашем случае уже при цикле 1с и более может быть выявлена дискретность работы цифрового регулятора. Кроме того, цифровой регулятор имеет так называемое аппроксимационное запаздывание t/5/, пропорциональное времени цикла. Кривая разгона цифрового ПИ-регулятора может иметь вид рис.2.6. При этом статическая составляющая практически не отличается от таковой у аналогового регулятора, а астатическая (интегральная) принимает вид ступенчатой кривой. Для идентификации этой составляющей упомянутая кривая должна быть графически аппроксимирована прямой линией (пунктир на рис.2.6), дабы экспериментально полученная кривая разгона рис.2.6 была приведена к виду рис.2.1. Затем проводится идентификация интегральной составляющей как описано в разделе 2.2. Идентификация дифференциальной составляющей цифрового регулятора по кривой разгона еще более затруднена в сравнении с аналоговым регулятором.