Реферат: Студентка СПбМТК
|
Название: Студентка СПбМТК Раздел: Рефераты по медицине Тип: реферат | ||||||||||||||||||||||||||||||||||||||||||||||||||||||||||||||||||||||||||||||||||||||||||||||||||||||||||||||||||||||||||||||||||||||||||||||||||||||||||||||||||||||||||||||||||||||||||||||||||||||||||||||||||||||||||||||||||||||||||||||||||||||||||||||||||||||||||||||
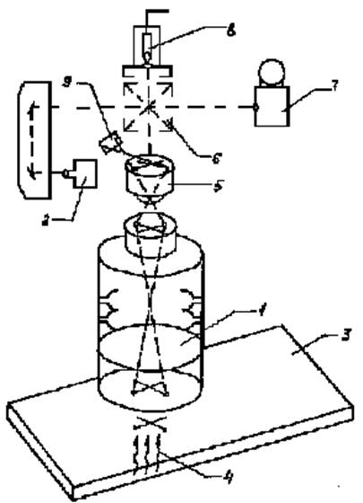
СОДЕРЖАНИЕРАЗДЕЛ 1. ОБЩАЯ ЧАСТЬ. 1. Место ангиографической аппаратуры в решении задач улучшения диагностической помощи населению и принцип получения ангиограмм. 2. Требования к техническим средствам ангиографического комплекса и принцип комплектования аппаратуры. 3. Актуальность тематики дипломного проекта. РАЗДЕЛ 2. СПЕЦИАЛЬНАЯ ЧАСТЬ. 1. Питающее устройство ангиографического аппарата. 2. Штативные устройства ангиографического комплекса. 3. Назначение и устройство стола координат ангиографического комплекса. 4. Методы визуализации рентгеновского изображения в ангиографическом комплексе. 5. Устройство для фиксации изображения в ангиографическом комплексе. 6. Расположение оборудования в ангиографическом комплексе. 7. Расчет защитных устройств от рентгеновского излучения. 8. Автоматический инъектор. 9. Расчет энергоснабжения. 10. Разработка мероприятий по техническому обслуживанию ангиографического комплекса. РАЗДЕЛ 3. ОРГАНИЗАЦИЯ ПРОИЗВОДСТВА. Организация рабочего места по монтажу и наладке ангиографического комплекса. РАЗДЕЛ 4. ЭКОНОМИКА ПРОИЗВОДСТВА. Расчет себестоимости и отпускной цены монтажа и наладки ангиографического комплекса. РАЗДЕЛ 5. МЕРОПРИЯТИЯ ПО ТЕХНИКЕ БЕЗОПАСНОСТИ И ПРОТИВОПОЖАРНОЙ ТЕХНИКЕ. 1. При работе в ангиографическом комплексе. 2. При техническом обслуживании ангиографического комплекса. ЛИТЕРАТУРА 4 7 10 11 15 18 20 34 38 40 45 49 49 55 59 62 69 72 74 РАЗДЕЛ 1. ОБЩАЯ ЧАСТЬ. 1. Место ангиографической аппаратуры в решении задач улучшения диагностической помощи населению и принцип получения ангиограмм. В последнее время наблюдается непрерывный рост числа заболеваний, связанных с сердечно-сосудистой, мозговой деятельностью организма человека и с другими органами, которые прозрачны для рентгеновского излучения. Чтобы провести диагностику таких заболеваний стали применять контрастирование. Особое место здесь занимают контрастирование сосудистой системы человека – ангиография и сердца – ангиокардиография. Увеличивается число операций на сердце в предынфарктном, инфарктном и послеинфарктном состоянии пациентов, а также развиваются операции на мозге после инсультов (шунтирование пораженных сосудов). Ни одна такая операция не обходится без предварительного ангиографического исследования. Многие нейрохирургические операции, операции на почках, на сосудах конечностей и другие операции невозможны без предварительных контрастных исследований. Для проведения таких исследований из-за нерентгеноконтрастности кровеносной системы человека в сосуды вводят специальные составы, хорошо поглощающие рентгеновское излучение. В качестве таких веществ используются йодистые соединения, хорошо растворимые в крови и в воде. После многократной циркуляции в кровеносной системе контрастные вещества выделяются из организма почками. Кроме вопроса об операбельности и планировании хода самой операции перемещение контрастного вещества вместе с кровью в сердечно-сосудистой системе человека дает возможность: - Определить морфологические изменения в сосудах (облитерации различного происхождения, тромбозы, артериовенозные фистулы, аневризмы, варикозные расширения вен, флебиты и многие другие патологические изменения). - Исследовать полости сердца, выявить наличие порока сердца и определить его тип. - Поставить диагноз заболевания органа по картине его сосудистого рисунка. При нормальном состоянии каждый орган человека имеет строго определенный рисунок. Наличие опухоли, кисты, воспалительного процесса существенно искажает структуру сосудистой сети, что дает возможность распознать с большой достоверностью наличие патологических процессов. Таким образом, можно с уверенностью предположить, что ангиографические исследования, несмотря на большую сложность их выполнения, будут все больше и больше внедряться в широкую медицинскую сеть и в том числе в сеть ургентной (скорой) помощи, например, мозговой или спинальной травм, и не будут являться уникальным методом, доступным лишь немногим центральным лечебным учреждениям. Одним из важных условий развития ангиографии явилось создание усилителей рентгеновского изображения (УРИ) с замкнутыми телевизионными системами (ЗТС). По своему функциональному и количественному составу оснащение кабинетов для ангиографии отличается большой сложностью. Однако ценность результатов, которые дает ангиография при диагностике, оправдывает затраты. При ангиографии находят применение следующие режимы: - просвечивания с использованием телевизионного экрана; - снимков. Непрерывное просвечивание позволяет при пониженной лучевой нагрузке на врача и пациента в условиях нормального освещения кабинета контролировать процесс катетеризации или зондирования, причем этот контроль может быть коллективным. Регистрацию рентгеновских изображений осуществляют: - сериями до пяти снимков на крупноформатных пленках, перемещаемых в специальных приборах – пленкосменниках или серийных кассетах при прямой экспозиции рентгеновскими лучами; - на ролевых фотопленках при съемке с выходного экрана усилителя рентгеновского изображения со скоростью 6 кадров в секунду; - на кинопленке при съемке кинокамерой того же экрана. По числу и ориентации рентгеновских пучков, используемых при исследовании, различают одно- и двухпроекционную ангиографии. При однопроекционной ангиографии пациента, лежащего на спине, просвечивают в одном вертикальном (сагиттальном) направлении. При двухпроекционной ангиографии к этому добавляется просвечивание в боковом (латеральном) направлении. Снимки во втором случае в обоих направлениях проводятся симультанно (одновременно). При некоторых видах ангиографии, в частности комбинированной, шаговое перемещение тела пациента сопровождается изменением толщины и плотности тканей органов, последовательно устанавливающихся напротив излучателя. Чтобы обеспечить при этом постоянство почернения пленки, в современных установках в соответствии с заданной программой ступенями изменяют напряжение на трубке. Как уже говорилось выше, при ангиографических исследованиях в выбранную область кровеносной системы вводят жидкое рентгеноконтрастное вещество. Это производится с помощью импульсного инъектора через катетер, вставленный в сосуд. Объем и скорость истечения вещества из шприца инъектора, число и длительность вливаний задаются программой на его пульте. В соответствие с этой программой и заранее выбранной задержкой инъектор включает рентгеновский излучатель, обеспечивая получение снимка. По окончании экспозиции он посылает в сменник команду на подготовку новой пленки и в исполнительный механизм стола на очередное шаговое перемещение его панели. Таким образом, каждому новому положению пациента относительно излучателя соответствует новый снимок. Число шагов и снимков определяется врачом и задается им на пульте управления или при помощи перфокарты. Сигналами, полученными от электрокардиографа, действие инъектора может быть привязано во времени к определенной фазе цикла работы сердца. Поэтому на снимках получаются контрастные картины сосудов, соответствующие указанным фазам. 2. Требования к техническим средствам ангиографического комплекса и принцип комплектования аппаратуры. Ангиографические исследования включают в себя два этапа: - Введение в исследуемую часть кровеносной системы контрастного вещества. - Выполнение серии снимков. Для обеспечения этих этапов в состав аппаратуры ангиографического комплекса должны входить: Инъектор. Служит для обеспечения первого этапа ангиографических исследований. Ввод контрастного вещества должен производиться в определенном количестве и в строго определенные моменты времени. Поэтому инъектор снабжается мини-ЭВМ, обеспечивающей возможность выполнения указанных операций в соответствии с ранее заданной программой. a) Рентгеновская трубка в сочетании с ЭОП и телевизионной системой. Ввод катетера осуществляется под контролем рентгенотелевизионной системы. Для этого необходимо иметь рентгеновскую трубку, работающую в режиме просвечивания, а также электронно-оптический усилитель (ЭОП), воспринимающий излучение, проходящее через объект исследования и передающий изображение на экран монитора. b) Аппаратура для обеспечения снимков. Ангиографический комплекс для двухпроекционной ангиографии должен иметь две рентгеновские трубки с повышенной мощностью, генераторное устройство, питающее эти трубки, и пульт управления. Мощность генераторного устройства должна обеспечить одновременную работу двух рентгеновских трубок. c) Стол для ангиографии (стол координат) должен обеспечивать перемещение больного в необходимую позицию и расположение исследуемой части тела в том месте, где будут производиться снимки. d) Устройство для быстрой смены кадров. Для оснащения сети лечебных учреждений и кардиологических центров необходимо создание современной разнообразной аппаратуры, которая может позволить проводить качественные контрастные исследования. К техническим средствам ангиографического комплекса предъявляются следующие требования: 1. Надежность работы. 2. Работа с аппаратом и управление им не должно отвлекать внимание врача от пациента. В течение длительного времени аппаратура должна обеспечивать удобство в работе и не вызывать усталости, то есть необходима автоматизация. 3. Для анализа динамичных функций органов снимки должны изготавливаться в определенных фазах процесса жизнедеятельности, следовательно. Аппаратура должна быть программируемой. 4. Регистрация быстроменяющихся процессов требует короткого времени экспозиции, что предъявляет высокие требования к мощности генераторного устройства. 5. Размещение агрегатов комплекса должно быть таким, чтобы не преграждать доступ к пациенту со всех сторон. 6. Обеспечение защиты от излучения обслуживающего персонала как при контроле просвечиванием, так и при изготовлении серийных снимков. К настоящему времени выделились следующие виды контрастных ангиографических исследований: - сосудов мозга (церебральные исследования); - сердечно-сосудистой системы (коронарография, васкулярная ангиография, вентрикулография); - брюшной аорты сосудов почек (аортография); периферических сосудов конечностей. Эти четыре вида исследований требуют различных методик и осуществляются на различной аппаратуре. Например, исследования сосудов мозга должно преимущественно проводиться на широкоформатной пленке в двух взаимно перпендикулярных (ортогональных) проекциях. Сердечно-сосудистая система должна исследоваться в одной или двух полипозиционных положениях (с одним или несколькими введениями контраста) с изменением положения проекций, что предъявляет к ангиографической системе дополнительные требования о быстром изменении позиций. Исследования брюшной аорты и сосудов почек проводятся в одной проекции, так же как и исследование периферических сосудов конечностей. Большинство комплексов аппаратуры для ангиографии разработано на агрегатном принципе, позволяющем медицинским учреждениям приобретать не весь комплект дорогостоящего оборудования, а по частям. Например: a) Ангиоскоп – основной блок, содержащий в себе потолочный штатив с дугой-держателем источника рентгеновского излучения и ЭОП с телевизионной камерой. Также сюда входит стол координат. b) Для возможности получения сагиттальных снимков на крупноформатную пленку, используют специальный сменник крупноформатной пленки и дополнительную трубку, которая крепится на портативном штативе и заранее центрируется на съемный аппарат. Для обеспечения бокового снимка на потолочном штативе крепится еще одна рентгеновская трубка, которая заранее центрирована со вторым устройством, для смены пленок и с исследуемой областью. Таким образом, создание аппаратуры для перечисленных выше исследований в мировой практике рентгеноаппаратостроения в основном развивалось в одном направлении: создание установок для одного или двух исследований. Узкая направленность устройств для серийных исследований удобна лишь немногим лечебным учреждениям – специализированным клиникам и институтам. Для большинства больниц и клиник широкого профиля, имеющих несколько хирургических отделений узконаправленность аппаратуры неудобна из-за того, что одному лечебному учреждению приходится приобретать несколько установок, различающихся незначительно. Для разрешения этой проблемы стали выпускать универсальные ангиографические установки, позволяющие проводить большинство контрастных исследований. 3. Актуальность тематики дипломного проекта. Благодаря применению новых ангиографических методов исследований, многие отрасли медицины получили новый толчок в своем развитии. Некоторые новые специальные отрасли, такие как сердечно-сосудистая хирургия, возникли в результате постоянного взаимодействия с ангиографией. Развитие такой сложной техники, а также самой методики рентгенологического исследования значительно повысило удельный вес как врача-рентгенолога и рентгеновского лаборанта в диагностике сердечно-сосудистых заболеваний, так и роль рентгенотехника, монтирующего, обслуживающего и ремонтирующего эту аппаратуру. Свою задачу врач-рентгенолог сможет выполнить лишь в том случае, если оборудование ангиографического комплекса будет всегда исправно и правильно настроено. Оно должно обеспечивать четкую работу во всех режимах, что возможно только при соблюдении правил и норм технического обслуживания. Современные ангиографические аппараты представляют собой сложные электротехнические и электромеханические устройства, и она продолжает усложняться. Очень важным является и правильное планирование ангиографического кабинета. Здесь большую роль играет не только удобное расположение ангиографической аппаратуры, которая должна обеспечивать свободный доступ к пациенту, но и порядок проведения подготовительных операций перед исследованием, в соответствии с которыми должны располагаться комнаты ангиографического комплекса. Это предъявляет высокие требования к уровню знаний, как обслуживающего персонала, так и проектировщиков. Все это говорит о том, что тема дипломного проекта актуальна. РАЗДЕЛ 2. СПЕЦИАЛЬНАЯ ЧАСТЬ. 1. Питающее устройство ангиографического аппарата. Рентгеновским питающим устройством (УРП) называется комплекс электротехнической, электромеханической и электронной аппаратуры, обеспечивающий питание рентгеновской трубки, выбор, регулирование и стабилизацию режимов ее работы, ее защиту от перегрузки при проведении различных видов исследований, а также взаимодействие всех частей рентгеновского аппарата. Тенденция развития УРП: a)введение микропроцессорной техники для автоматизации управления аппаратом, повышения удобства обслуживания, расширения автоматики управления по исследуемым органам тела, технической диагностики, повышения надежности, уменьшения массы и габаритов; использование преобразователей напряжения на повышенной частоте для получения анодного напряжения рентгеновских трубок. К питающим устройствам ангиографических комплексов предъявляются более жесткие требования, чем в других аппаратах. Причиной таких условий является динамика сердца и его сравнительно быстрые сокращения (0,2 – 0,3 секунды), что ведет к необходимости уменьшения выдержек вплоть до 0,01 – 0,02 секунды. Из-за значительной плотности тканей сердца величина экспозиции при напряжении U = (80 – 100) кВ должна составлять не менее 20 – 25 мАс. Такой режим может быть осуществлен питающим устройством мощностью 50 кВт (I = 600 мА при U = 83 кВ, t = (0,02 – 0,05) сек). При рентгенологическом исследовании коронарных сосудов необходимо учитывать быстрые и сложные движения в виде сокращений сердца и пульсирующего продвижения крови по сосудам. Анализ рентгенограмм, сделанных последовательно с частотой снимков 6 снимков в секунду при контрастировании коронарных сосудов, должен позволять оценить скорость кровотока. В разные моменты времени сердечного цикла на разных участках эта скорость может принимать значения от 15 до 20 см/с. Чтобы динамическая нерезкость изображения не превышала 0,25 мм, рентгенограмму коронарного сосуда следует выполнять с выдержкой 0,002 – 0,001 секунды. Вследствие малых размеров коронарные сосуды даже при контрастировании весьма слабо различаются на фоне сердца. Поэтому при коронарографии следует выбирать снимочные параметры, исходя из требования обеспечения максимальной контрастной чувствительности. Для этого следует выбирать минимально возможное анодное напряжение. В сочетании с короткими выдержками малые напряжения требуют резко повышенных токов. Для снимков коронарных сосудов используют аппараты с импульсным питающим устройством. Современные импульсные аппараты обеспечивают мощность 150 кВт в импульсе. При этом крупноформатные снимки коронарных сосудов получают при анодном токе 1500 – 2000 мА и выдержке 0,01 секунды. При выполнении снимков с экрана УРИ на фотопленку можно работать с выдержками более короткими (до 0,001 секунды). Скорость кровотока в магистральных сосудах, сосудах головного мозга и спинного существенно меньше, чем в коронарных. Однако, из-за значительной плотности этих сосудов мощность питающих устройств при их исследованиях должна составлять не менее 100 кВт. Работать можно с выдержками 0,05 секунды. Так, например, при аортографии работают с анодным напряжением 100 – 120 кВ при экспозиции 50 – 60 мАс (то есть с анодным током 1000 мА). При исследовании периферических сосудов, флебографии и лимфографии, где скорость кровотока сравнительно не велика, работают с выдержкой 0,1 секунды. Плотность объектов исследования при указанных видах ангиографии также несколько меньше, чем при предыдущих. Поэтому мощность применяемых в этом случае аппаратов может составить 50 кВт. Питающее устройство включает в себя генераторное устройство, пульт управления, иногда низковольтный шкаф. В последних располагаются системы регулирования, защиты, сигнализации, автоматики. Генераторные устройства ангиографических аппаратов должны обеспечить возможность работы со сравнительно небольшими напряжениями, высокими анодными токами и короткими выдержками. Для ангиографических исследований обычно используют мощный трехфазный генератор с 6-ти или 12-ти вентильным выпрямителем, дающим практически постоянное анодное напряжение. Включение и выключение анодного напряжения (высокого) осуществляется электронным коммутатором (синхронизирующее реле времени). При однопроекционной ангиографии используется одно генераторное устройство. При двухпроекционной ангиографии возникает необходимость питать симультанно две рентгеновские трубки. В этом случае необходимо либо генераторное устройство большой мощности, либо два генераторных устройства. В некоторых современных аппаратах во время просвечивания автоматика определяет плотность исследуемого объекта и в соответствии с заданной длительностью серии и частотой кадров, устанавливает оптимальные параметры киносъемки (кВ, длительность импульса, кВт), которые выводятся на индикаторы уже во время просвечивания. Значение кВ может быть предварительно задано в зависимости от исследуемого органа. Таким образом, достигается требуемая контрастность. Изменение плотности объекта в процессе исследования учитывается автоматикой во время съемки серии кинокадров путем повторной оптимизации параметров съемки. Экспозиция каждого кадра отсчитывается специальной системой, которая автоматически снимает высокое напряжение после каждого кадра на время, необходимое для смены кадров. Выдержка, установленная с помощью автоматического экспонометра, выводится на индикатор после окончания экспозиции. Автоматика современных аппаратов дает возможность программирования полной последовательности исследований. В соответствии с заданной программой система излучатель – ЭОП поворачивается и устанавливается в требуемую позицию. При этом микропроцессоры жестко контролируют все перемещения устройства. Технические характеристики аппарата MSI –1250 фирмы ДЖЕНЕРАЛ – ЭЛЕКТРИК. 1. Аппарат питается от сети переменным током с частотой 50 Гц, напряжением 220/380 В. Разброс питающего напряжения не должен превышать ±10% и перекос фаз питающего напряжения не должен превышать ±5%. Допустимые режимы питающего напряжения: - 1000 мА при напряжении 100 кВ; - 1250 мА при напряжении 80 кВ; - 700 мА при напряжении 125 кВ; - 500 мА при напряжении 150 кВ. 2. Напряжение может быть плавно установлено при съемках в пределах от 35 до 150 кВ, а при просвечивании в пределах от 40 до 110 кВ независимо друг от друга. 3. Реле времени обеспечивает диапазон выдержек от 0,003 до 5 секунд ступенчато и выдержки 0,003; 0,006; 0,012 секунд. 4. Частота коммутации до 3 снимков в секунду. 5. Выпрямление осуществляется 12-ти вентильным выпрямителем на полупроводниковых вентилях. 6. Трехкнопочная установка (мА, кВ, с). 7. Двухкнопочная (мА, кВ) с предварительным выбором нагрузки рентгеновской трубки или по желанию. 8. Однокнопочная установка (кВ) в соединении с автоматом ФЛ – 300 (автоматическим экспонометром). 9. Аппарат имеет полностью автоматизированную защиту от перегрузок для всех режимов рентгеновской трубки. 2. Штативные устройства ангиографического комплекса. Проекционный принцип теневого рентгеновского изображения объекта (полученного путем облучения приемника излучения модулированным объектом исследования первичного пучка излучения) предопределяет необходимость ориентации объекта исследования относительно источника и приемника излучения. Взаимное расположение этих трех элементов определяется методикой исследования и создается с помощью специальных рентгенодиагностических устройств – штативов, осуществляющих линейные и угловые перемещения обследуемого, источника излучения и приемника и их относительное согласованное перемещение в процессе исследования. Комплекс рентгенодиагностического устройства или устройств с другим необходимым оборудованием часто называют рабочим местом применительно к определенной методике или области рентгенологического исследования. Рабочее место в общем случае может содержать любое число штативов, связанных между собой требованиями методики исследования. Непрерывное совершенствование известных и появление новых методик рентгенологического исследования, а также совершенствование приемников излучения приводит к разработке новых и совершенствованию известных рентгенодиагностических устройств, к постоянному обновлению штативов рентгенодиагностических аппаратов. Штативные устройства все время совершенствуются, чтобы улучшить условия работы медперсонала (врача и рентгенлаборанта) и повысить пропускную способность рентгеновского кабинета. Для закрепления рентгеновских трубок, используемых в ангиографических комплексах, УРИ, кино и фотокамер, мониторов, а иногда и столов для пациента, служат различные потолочные телескопические штативы. Применение потолочных штативов обусловлено необходимостью освободить пространство вокруг стола для беспрепятственной работы персонала во время ангиографического исследования.При этом необходимо обеспечить высокую точность перемещения и фиксации рабочих положений перечисленных частей ангиографического комплекса. В простейшем основном комплекте рентгеновского ангиографического комплекса к потолочному штативу крепится дуга-держатель с источником излучения с одной стороны и РЭОП – с другой. Задачей этого потолочного штатива является обеспечение большого количества свободы пары источник излучения – приемник. По потолочным рельсам штатив перемещается вдоль стола пациента. Вертикальное перемещение дуги обеспечивается телескопическими трубками. В заданном положении дуга удерживается пружинным уравновешивателем. Очень важно, чтобы для горизонтального перемещения потолочного штатива не требовалось больших усилий со стороны врача, проводящего катетеризацию. Для закрепления дополнительных рентгеновских трубок, формирующих пучки излучения для сагиттальных и латеральных снимков на крупноформатных пленках, служат отдельные потолочные штативы. Штатив трубки для сагиттальных снимков может быть неподвижным, особенно, если она работает в сочетании с пленкосменником, расположенным под столом пациента стационарно. Штатив трубки для латеральных снимков перемещается вдоль стола пациента по потолочным рельсам. Это необходимо для правильной установки этой РТ относительно пленкосменника для латеральных снимков. Регулирование высоты кожуха рентгеновских трубок, присоединенных к потолочному штативу, производится с помощью телескопических трубок с пружинным уравновешивателем. Защитный кожух с РТ может поворачиваться вокруг горизонтальной оси, что дает возможность направлять центральный луч под разными углами к столу пациента. Для установки требуемой высоты защитного кожуха на потолочном штативе имеется освещенная шкала в сантиметрах. Все движения и перемещения потолочных штативов закрепляются электротормозами.Штативы выполняются стационарными (напольного, потолочного или напольно-потолочного крепления) и передвижными – транспортабельными со свободным перемещением по полу. Используют штативы в сочетании с рентгенодиагностическими столами. В качестве механической конструкции, связывающей излучатель и приемник, применяют дугообразный поворотный кронштейн, который посредством направляющего механизма обеспечивает поперечную ротацию излучателя и приемника на угол 90о . Параметры дугообразного кронштейна и массы элементов подбирают так, чтобы неуравновешенность системы была наименьшей. В этих же целях применяют маятник, если штатив работает со столом, продольная ось которого совпадает с поперечной осью у штатива. Продольная ротация осуществляется в достаточно больших пределах (больше 360о ) и ограничивается допустимыми изгибами электрических кабелей излучателя и УРИ. Ввиду того, что масса излучателя достаточно больше по сравнению с массой других элементов, в штативах для просвечивания и снимков стараются применять не уравновешиватели, а электроприводные механизмы перемещения. Они дают возможность дистанционно управлять движениями элементов при ангиографических исследованиях, проводимых в насыщенных аппаратурой кабинетах, когда подход к штативу затруднен. Штативы снабжают хорошо различимыми шкалами линейных и угловых перемещений излучателя и пультами управления, размещаемыми в удобном месте. Рассмотрим конструкцию штативного устройства фирмы ДЖЕНЕРАЛ-ЭЛЕКТРИК. Это устройство представляет собой модель MSI-1500 потолочного типа, телескопическая. Оно предназначено для крепления рентгеновской трубки второго и третьего рабочего места, с помощью которого осуществляется крупноформатная съемка. Также на устройстве крепятся электронно-оптический усилитель и две съемочные камеры: кино и флюорография. Потолочный штатив передвигается по рельсам в двух направлениях. Степень передвижения дает возможность выполнения многосторонних задач, направленных на проведение рентгенологического исследования. И поэтому первостепенным требованием является то, чтобы для горизонтального движения потолочного штатива электронно-оптического преобразователя (ЭОП) не требовалось большого усилия со стороны врача, проводящего катетеризацию, так как на штативе закрепляется рентгеновская трубка, то в зависимости от конструкции первого, он может быть фиксированным или подвижным в двух направлениях по потолочным рельсам. Регулировка высоты рентгеновского кожуха рентгеновской трубки, присоединенного к потолочному штативу, производится с помощью телескопических штативов. Рентгеновская трубка подвешена так, что имеет возможность вращаться вокруг своей оси, перпендикулярной вертикальной оси таким образом, что главный луч с поверхностью стола закрывает различные углы. Для возможной репродукции вертикального положения на потолочном штативе имеется освещенная шкала в сантиметрах. Закрепляется штатив в нужном месте с помощью электротормозов. 3. Назначение и устройство стола координат ангиографического комплекса. Стол координат является частью ангиографического комплекса. Он содержит в себе рентгеновскую трубку и позволяет перемещать больного в нужную позицию, приспосабливать исследуемую часть к месту, где будут производиться снимки. Все аппараты группируются вокруг стола координат. Стол координат должен давать возможность размещения обычного механизма для смены кадров с высотой в 800 мм под столом и вне его. Следующим требованием является возможность большого передвижения деки в боковом и продольном направлениях. Двухстороннее перемещение деки стола позволяет обеспечить более точную установку кадров при просвечивании и изготовлении снимков. Также это очень удобно обслуживающему персоналу. Такие принадлежности как держатели рук, инъекционный аппарат и другие присоединяются к обычным столбикам на краю стола. При оформлении стола надо иметь ввиду, кроме минимальной фильтрации луча, удовлетворительную грузоподъемность без деформации, материал не дающий рентгеновской тени и возможность легкой стерилизации. Рассмотрим конструкцию стола координат фирмы ДЖЕНЕРАЛ-ЭЛЕКТРИК. Операционный стол или стол координат поставляется двух типов: 1. Стол со строго горизонтальной декой. 2. Стол с люлькообразной декой. Первый тип стола передвигается в двух направлениях оси координат: горизонтальном и вертикальном. Второй тип стола, помимо этих двух перемещений, осуществляет движение вокруг своей оси ±90о , что дает большие удобства при рентгеновских исследованиях. Такое устройство также позволяет РТ и УРИ оставаться неподвижными, а исследуемую часть тела приспосабливать к ним. Большая смещаемость деки по длине позволяет подвести исследуемую часть тела точно над устройством смены кадра. Дека стола также может быть поднята вверх или опущена вниз в соответствии с ростом врача. Устанавливаются оба стола на тумбу, которая прикреплена к полу. Управление этими двумя столами осуществляется выносным пультом управления, в котором сосредоточены все пункты управления двумя столами. Тумба осуществляет и вторую роль: внутри ее укреплена рентгеновская трубка, которая дает защиту от рентгеновского излучения. Для фиксирования больного в косом положении используется специальная люлька, поворачиваемая электромотором на желаемый угол. По краям деки имеются специальные рельсы, на которых крепятся дополнительные приспособления, такие как: держатели рук, датчик давления, ампулы с физиологическим раствором и другие приспособления. Контроль за исследуемой частью тела осуществляется посредством рентгенотелевизионной системы. 4. Методы визуализации рентгеновского изображения в ангиографическом комплексе. Для визуализации рентгеновского изображения используют РЭОП, который сочетается:- с телекамерой и телевизионной системой, дающей возможность наблюдать рентгеновское изображение на экране монитора; - с кинокамерой; - с устройством для видеомагнитной записи; - с камерой, осуществляющей снимки с экрана РЭОП на малоформатную плоскую или рулонную пленку (типа флюорографической камеры). Применение РЭОП дает возможность: 1.Производить просвечивание в незатемненных помещениях при резко уменьшенной интенсивности излучения. 2.Резко уменьшить лучевую нагрузку на пациента и на врача. 3.Уменьшить рассеянное излучение. 4.Дополнительно регулировать четкость и контрастность изображения. Обеспечить постоянный контроль в течение всего ангиографического исследования. Видеомагнитофон дает возможность записать на магнитную ленту наблюдаемое изображение. Непосредственно после записи изображение может воспроизводиться, что дает возможность контролировать усиленность полученного результата еще в присутствии на столе пациента. Благодаря этому быстро и результативно решается вопрос о достаточности проведенного исследования или о необходимости повторения снимка. Кроме того, проявляющиеся короткое время аномалии могут быть в процессе исследования не замечены врачом. Зато они становятся очевидными при осмотре видеозаписи с растяжением масштаба времени. Высокая степень свечения экрана дает возможность часть светового потока направить в другие системы для фиксации изображения. Для этого используются специальные оптические системы, состоящие из линз и полупрозрачных зеркал, расположенных под требуемыми углами (рис. 1). Они называются распределителями света и бывают 2-х и 3-х канальными. Для управления работой этой системы служит специальный электронный шкаф с микропроцессорами. Кино- и фотосъемка с экрана УРИ приобретает особенно важное значение при исследованиях, требующих очень коротких выдержек (ангиография, коронарография). Скорость съемки при этом достигает до 200 снимков в секунду.
Рис. 1. Схема специальной оптической системы. Кинокамеры могут использоваться 35-ти и 16-ти миллиметровые и обеспечивают съемку изображения с экрана УРИ на кинопленку. Кинокамеры обеспечивают самую большую чувствительность из всех средств фиксации изображения и дают возможность обеспечить фиксацию изображения с хорошим качеством при дозе 0,09 мР на снимок (для сравнения – необходимая доза на снимок при непосредственной рентгенографии составляет 0,5 мР на снимок). Это дает возможность фиксировать снимки, выполненные при очень коротких выдержках и сравнительно небольших напряжениях, как это требуется, например, при коронарографии. Кинокамеры обеспечивают максимальную частоту смены кадров (90 – 200 кадров в секунду). В связи с этим киносъемка позволяет фиксировать во много раз более быстротекущие процессы, чем при любых других методах съемки. Кроме того, она дает возможность последовательного охвата гемодинамики, и воспроизведения в режиме растяжения времени. В результате, выявляются дополнительные диагностические возможности, например, изучение функциональности сердечных клапанов, дефектов сердечных перегородок, которые проявляются только в течение доли времени продолжительности систолы. Киноимпульсный режим значительно уменьшает нерезкость при движении органов, благодаря использованию чрезвычайно кратковременных импульсов рентгеновского излучения. Постоянное почернение пленки при киноимпульсном режиме обеспечивается системой автоматической регулировки экспозиции. Датчиком этой системы является автоматический экспонометр, фиксирующий дозу излучения в доминантной области (в области, важной для получения хорошего качества изображения). Сигнал усилителя на выходе экспонометра может быть использован для регулирования напряжения на рентгеновской трубке. Примеры кинокамер фирмы Сименс: 1. Еклаир 16 с 16-ти миллиметровой пленкой (формат кадра 16x16), частота смены кадров до 200 снимков в секунду, кассета содержит до 30 м пленки на катушках. 2. Аррифлекс 35 с 35-ти миллиметровой пленкой (формат кадра 35x35), частота смены кадров до 80 снимков в секунду, кассета содержит 60 м пленки. 3. Арритехно 35 с 35-ти миллиметровой пленкой с частотой съемки до 150 кадров в секунду, с быстросъемными кассетами, содержащими 60 м пленки. В кинокамерах используют различные объективы, позволяющие по-разному использовать формат кадра (от нормального до ограниченного по длине, по ширине или со всех сторон). Недостатками киносъемки с экрана УРИ являются малые размеры кадра. При необходимости получения большого поля снимка применяются фотокамеры. Они могут использовать как роликовую пленку, так и плоские пластины рентгеновской пленки. С помощью специального фланца они быстро подключаются к распределителю света. Камеры дают возможность выполнять одиночные и серийные снимки со скоростью до 6 снимков в секунду. Примером камеры с роликовой пленкой может служить камера СИРКАМ – 7 фирмы Сименс. Это автоматическая камера с 70-ти миллиметровой роликовой пленкой. Заправка пленки осуществляется с помощью специального фидера при дневном свете. Малая объемность пленки облегчает архивирование. В камере имеется две кассеты – подающая и приемная. Кинематическая схема представлена на рисунке 2. Через объектив выходное изображение усилителя яркости подается на пленку, которая с помощью двигателя подачи пленки протягивается после снимка на 1 кадр и прижимается к объективу специальным роликом. Отснятая пленка попадает в приемную кассету. Приемная кассета в любое время может быть вынута из камеры. Пленка при этом отрезается специальным ножом, управляемым деблокирующей клавишей (в нормальном положении он заблокирован специальным механическим затвором). В рентгеновском генераторе, работающем с камерой, предусмотрена блокировка, не разрешающая включение высокого напряжения в случае, если: - в магазин запаса не вставлена подающая кассета; - приемная кассета приняла максимально допустимое для нее количество снимков (приемная кассета значительно меньше подающей); - приемная кассета вынута из камеры; В случае если магазин запаса пуст, или если приемная кассета может принять еще только десять снимков, осуществляется приснятие на пленку данного пациента с заполненной перфокарты, которая вставляется в специальную щель в камере. Вмонтированный в камеру счетный механизм нумерует последовательно каждый снимок (также путем приснятия). На панели управления камерой расположены следующие органы управления и сигнализации: 1. Ступенчатый переключатель для выбора частоты кадров. 2. Цифровая индикация числа снимков, находящихся в приемной кассете. 3. Цифровая индикация общего количества кадров, изъятых из магазина запаса (израсходованные). 4. Кнопка автоматического возврата цифровой индикации на 0 (при укладке новой пленки в подающую кассету). 5. Индикация нумерации кадров, которая получается на снимке.
Рис. 2. Кинематическая схема камеры с рольной пленкой. 1. Подающая кассета (магазин запаса) 2. Объектив. 3. Вспомогательный затвор (служит для защиты пленки от засветки при перемотке кадра). 4. Фланец быстрого подключения камеры к светораспределительному устройству. 5. Система перемотки пленки электрическим приводом. 6. Прижимной ролик пленки. 7. Нож для обрезания пленки. 8. Приемная кассета.
Примером камеры для листовой пленки может служить камера СИРКАМ-100 той же фирмы Сименс. В данной камере используется листовая пленка шириной 100 мм. Камера обеспечивает одиночные и серийные снимки с частотой 2 кадра в секунду. Оптическая схема камеры представлена на рисунке 3. Рис. 3. Оптическая схема камеры с плоскими пленками. 1. Изображение на выходе экрана УРИ. 2. Объектив камеры. 3. Система зеркал для съемки изображения. 4. Рама изображения. 5. Изображение на пленке. 6. 6-ти разрядный счетчик для нумерации кадров. 7. 2-х разрядный счетчик для нумерации снимков каждого пациента. 8. Система зеркал и линз для маркировки пленки. Камера имеет 2 кассеты (подающую кассету запаса и приемную кассету). После того, как вставлена и та и другая кассета, 1-ая пленка автоматически транспортируется в позицию съемки. Выходные изображения усилителя яркости через комбинацию объективов и посредством системы зеркал подается на пленку, находящуюся у рамки изображения. Одновременно с рентгеновским снимком осуществляется маркировка пленки, которая может производиться по выбору либо шестизначным числом, принимаемым от счетчика для нумерации кадров, либо приснятием данных пациента со вставленной перфокарты. Дополнительно принимается 2-хзначное число, указывающее порядок снимка данного пациента. Для приснятия этих данных служит специальная система зеркал и линз (8). После снимка экспонированная пленка переводится механической системой в приемную кассету. Готовность камеры к съемке сигнализируется зеленой лампой на пульте управления камеры. Загорание этой лампы свидетельствует о том, что: - пленка находится в рамке изображения; - идентификационная карта пациента вставлена; - запас пленки в подающей кассете имеется; - приемная кассета не полная и готова к принятию экспонированной пленки. Если одно из этих условий не выполнено, то включение высокого напряжения в ГУ автоматически блокируется. Магазин запаса вмещает 65 пленок, магазин приема – 20 пленок. Диаметр изображения на пленке – 95 мм. По сравнению со снимками на крупноформатные пленки рассмотренные камеры имеют следующие преимущества: 1. Существенная экономия во времени (ускорение процесса съемки). 2. Экономия пленки и уменьшение объема архивного фонда. 3. Доза облучения значительно меньше (0,1 мР на снимок), чем при непосредственной рентгенографии (0,5 мР на снимок). 4. Применение камер для малоформатных снимков облегчает поддержание стерильности в рентгенооперационной (по сравнению с применением пленкосменников для крупноформатных снимков). Несмотря на все преимущества метода рантгенографии с электроннооптическим усилителем, исключительно важным методом остается съемка на крупноформатные пленки. Особенно это важно, например, для исследования мелких анатомических деталей, при выполнении обзорной кардиоангиографии с показом полостей сердца, малого круга кровообращения и грудной дуги аорты и т.д. Для смены пленки при получении крупноформатных снимков используются специальные устройства, состоящие из: - подающей кассеты (магазина), в которую закладываются неэкспонированные пленки; - приемной кассеты (бункера), куда поступают пленки после экспонирования; - пары усиливающих экранов, между которыми располагается пленка при экспонировании; - механизма для перемещения пленки. Движение пленок из подающей кассеты в положение для экспонирования, а затем в приемную кассету осуществляется системой валов с шестеренчатой и кулачковой передачей, работающих от электропривода. В момент экспонирования пленка зажимается между 2-мя усиливающими экранами (верхним и нижним). На время перемещения пленки нижний экран отводится на небольшое расстояние вниз, чтобы не мешать передвижению пленки. Существует несколько типов таких пленкосменников: 1. АОТ. Магазин рассчитан на 30 крупноформатных пленок. Площадь кадра 30x30 см. Скорость съемки до 6 кадров в секунду. 2. ПУК – упрощенная система АОТ. Магазин рассчитан на 20 пленок. Формат 35x35 и 24x24см. Скорость съемки до 3 кадров в секунду. Этот пленкосменник значительно меньше по габаритам, чем АОТ и сейчас применяется чаще. Кинематическая схема представлена на рисунке 4. Аналогично системе ПУК работает система «Максимакс». В последнее время считают, что при съемке на крупноформатную пленку не нужна большая скорость смены кадров. Это обусловлено тем, что при необходимости быстрой смены кадров используется киносъемка.
Крупноформатные же снимки предназначаются для наблюдения основных моментов продвижения контрастного вещества и его направленности, чтобы обнаружить приобретенные органические поражения сердца и сосудов, либо их врожденные изменения. Снимки на крупноформатную пленку обеспечивают хорошее разрешение как отдельных деталей, так и во времени. Рис. 4. Кинематическая схема пленкосменника ПУК. 1. Устройство для зацепления и подачи пленок. 2. Ролик, втягивающий пленку. 3. Участок деки, где экспонируется пленка. 4. Прижимной столик с нижним усиливающим экраном. 5. Верхний усиливающий экран. 6. Ролик, направляющий пленку в приемную кассету. 7. Приемная кассета. Включение серийной съемки осуществляется инъектором и может быть синхронизировано с фазами сердечной деятельности (с биопотенциалами сердца). Для 2-х проекционной ангиографии нужно использовать 2 пленкосменника. Синхронность их работы обеспечивается специальным блоком логической памяти. Установка программы съемки осуществляется с помощью программатора, на котором высвечивается выбранное количество снимков в секунду и экспозиция каждого снимка. Есть возможность запрограммировать нужную последовательность импульсов во времени (например, на 1-ой секунде - снимок, на 2-ой – 2 снимка или 3 снимка и т.д.). С программатора сигнал поступает в блок памяти, обрабатывается там и подается в блок управления пленкосменником. Методы визуализации рентгеновского изображения разберем на примере ангиографического комплекса фирмы ДЖЕНЕРАЛ-ЭЛЕКТРИК. В данном комплексе для визуализации рентгеновского изображения используют ЭОП, который сочетается: 1. С телевизионным устройством, дающим возможность наблюдать рентгеновское изображение на экране. 2. С кинокамерой. 3. С устройством для видеомагнитнофонной записи. Для передачи изображения на монитор служит телевизионная установка, которая крепится на потолочном телескопическом штативе. На выходе ЭОП находится телевизионная камера, спомощью которой мы можем осуществить телевизионный контроль по мониторам и качество изображения будет зависеть от двух факторов: - Качество изображения электронно-оптического усилителя. - Качество передачи изображения телекамеры. Процесс преобразования рентгеновского изображения в электронное и дальнейшая его передача показан на рисунке 5. При просвечивании с ЭОП и телевизионной системой изображение получается более четким, что дает возможность сократить время исследования. Применение телевизионных систем дает возможность регулировать четкость и контрастность изображения и обеспечить постоянный контроль в течении всего ангиографического исследования. Большая скорость сокращения сердца вызывает размытость изображения. Допустимые пределы размытости изображения могут быть получены только путем сокращения времени экспонирования в диапазоне до нескольких миллисекунд. Существенного сокращения времени экспонирования можно добиться с помощью техники рентгенографии с электроннооптическим усилителем. Это возможно благодаря значительному уменьшению дозы излучения.
Рис. 5. Процесс преобразования рентгеновского излучения в электронное. 1. Электроннооптический преобразователь. 2. Флюорографическая камера. 3. Стол координат. 4. Рентгеновские лучи. 5. Система объектив - линзы. 6. Система зеркал. 7. Кинокамера. 8. Передающая телевизионная трубка. 9. Сенсор для автоматического контроля. Помимо ЭОП к методам визуализации рентгеновского изображения относится электронный шкаф. Он представляет собой сложную конструкцию, состоящую из: - блока регулировки; - линейного трансформатора; - флюоро-контактора; - блока питания системы кино; - блока управления камеры 105 мм; - блока контроля мА; - системы регулировки кино; - панели реле. Также непосредственную связь с электронным шкафом имеют: - выносной сенсор; - цифровой дисплей; - видеомагнитофон; - пульт управления. При киносъемке с помощью электронного шкафа и телекамеры можно осуществлять контроль момента съемки, показанном на рисунке 6. Запускаем кинокамеру, работает рентгеновская трубка, с помощью электроннооптического усилителя изображение передается на телекамеру, потом на электронный шкаф и на видеоканал.
Рис. 6. Функциональная схема визуализации рентгеновского изображения. 5. Устройство для фиксации изображений в ангиографическом комплексе. Кроме рассмотренных выше методов визуализации и фиксации рентгеновского изображения, а в частности кинокамер, которые обеспечивают самую большую чувствительность из всех средств фиксации изображения и дают возможность обеспечить фиксацию изображения с хорошим качеством. Несмотря на разнообразие и специфику различных методов исследования, все они имеют одинаковый тракт обработки информации.
Рассмотрим тракт преобразования изображения при ангиографическом исследовании (рис. 7). Рис. 7. Блок-схема тракта преобразования рентгеновского изображения. Приемником изображения служит ЭОП с телевизионной трубкой ТТ. АЦП осуществляет квантование, то есть преобразование электрических телевизионных сигналов в цифровую форму. Изображение в цифровой форме вводится в память вычислительной машины (оперативно - запоминающее устройство). В микропроцессор (МП) изображение поступает в виде массива данных. В нем происходит обработка информации в соответствии с заданной программой. Далее в ЦАП происходит преобразование цифровой формы в аналоговую. Обработанное таким образом изображение поступает на видео - контрольное устройство (ВКУ). Рассмотрим также конкретное устройство , позволяющее фиксировать рентгеновское изображение на крупноформатную пленку. Устройство для смены кадров крупноформатной пленки MSI – 1250. В ангиографическом комплексе должно быть устройство для быстрой смены крупноформатных рентгеновских пленок 35x35 см, при съемке со скоростью до трех кадров в секунду. Таким образом этим требованиям удовлетворяет распределительная система MAXIMAX, которая комплектуется с ангиографическим комплексом фирмы ДЖЕНЕРАЛ-ЭЛЕКТРИК.
Это устройство состоит из сменщика пленок, в который входит съемочная камера, передающая и приемочная кассета, программатор и питающая система. Оно представлено на рисунке 8. Рис. 8. Устройство для смены кадров. Все электрические соединения этой системы показаны на рисунке 9. Рис. 9. Электрическая функциональная схема устройства для смены кадров. Движение пленок из подающей кассеты через усиливающий экраны с отведением и прижиманием одного из них и поступление их в приемную кассету (бункер) осуществляется системой валов с шестеренчатой и кулачковой передачей, работающими от электропривода. Также для повседневной практики ангиографических исследований хорошо зарекомендовала себя серийная техника, дающая возможность выполнять до трех крупноформатных снимков в секунду. Наряду с отличной разрешимостью отдельных деталей, эти снимки дают также хорошее разрешение во времени. Применение двух сериографов данной модификации для работы в режиме с одной или двумя рентгеновскими трубками одновременно, может быть использовано для проведения всех ангиографических исследований центральных или периферических участков сердечно-сосудистой системы. Включение серийной съемки может осуществляться инъектром или регулятором по фазе сердца. Особое значение имеет вторая возможность, благодаря преимуществу, которое дает управление инъектором и съемкой от биопотенциала сердца. Применение двухпроекционной съемки позволяет не только получить качественные снимки, но и сэкономить рентгеновскую пленку контрастное вещество при проведении исследований, а также обезопасить больного от ненужных побочных последствий. Синхронность работ двух сменщиков пленки осуществляется блоком логической памяти, который указан на рисунке 9. Установка программы съемки производится с помощью программатора, на котором высвечиваются количество снимков в секунду и экспозиция каждого снимка. На программаторе набирается программа с помощью сенсорного устройства. Этот сигнал с программатора поступает в блок памяти, который обрабатывает этот сигнал в зависимости от режима работы, которых три: одноместный, с поворотом на 180о , с поворотом на 360о . Этот отработанный сигнал попадает на схему блока памяти, на схему управления сменщика пленки, которую запускает сам сменщик пленки. Включение всей системы производится через программатор. 220 В идет на питающее устройство, в котором сосредоточено питание сменщика пленки и питание остальных частей аппарата. Так как это микропроцессорная техника, питание осуществляется напряжением ±5 В, ±12 В, ±60 В. 60 В подается на мониторы сменщиков пленки. Питание стабилизировано. 6. Расположение оборудования в ангиографическом комплексе. Ангиографический комплекс создается в специальных Научно-исследовательских институтах, крупных городских и областных больницах. Если комплекс иностранного производства, то к оборудованию прилагается план его расположения. Ангиографический комплекс представляет собой сочетание рентгеновского кабинета и операционной. Для осуществления всех этапов исследования в составе ангиографического комплекса необходимо иметь: предоперационную, стерилизационную, операционную, пультовую (или комнату управления), кабинет врача и фотолабораторию. Предоперационная предназначена для подготовки персонала и больного к исследованию. Она должна располагаться смежно с операционной и отделяться рентгенозащитной дверью. В ней должны стоять шкафы для хранения инструментов, вешалки для защитных фартуков, умывальники, стулья. Площадь предоперационной 10 –12 м2 . Рядом с ней должна находиться каталка со съемными носилками для транспортировки больного. Стерилизационная предназначена для стерилизации, подготовки и хранения стерильных инструментов. Она должна находиться смежно с предоперационной и операционной и соединяться с последней через рентгенозащитное передаточное окно. Площадь стерилизационной 8 – 10 м2 . В рентгеновской операционной выполняются непосредственно ангиографические исследования. Ее оснащение зависит от назначения кабинета. В ангиографических кабинетах общего назначения выполняю контрастные исследования кровеносных сосудов, исследуют сердце и коронарные сосуды. Для ангиографических комплексов в состав оборудования операционных входят три рентгеновских излучателя, два генераторных устройства, усилитель рентгеновского изображения с телевизионной установкой и телекамерой, устройство для смены кадров, инъектор для введения контрастного вещества, блок питания, видеомагнитофон, наркозно дыхательная система, контрольно-диагностическая аппаратура. Во время проведения катетеризации сосудов под телевизионным контролем связь рентгенолога с рентгенолаборантом, находящимся в пультовой, поддерживается по двустороннему переговорному устройству. Площадь операционной составляет 48 – 52 м2 . В пультовой размещается : пульт управления, шкафы питания или электронный шкаф, контрольное устройство, видео- и киносистемы, цифровой дисплей. Комната управления является смежным помещением с рентгенооперационной, поэтому к ней предъявляются повышенные санитарно-гигиенические требования. Смотровое окно должно быть не менее 100x150 см, чтобы через него могли наблюдать за больным несколько человек (рентгенолог, хирург и другие специалисты). В кабинете врача обрабатываются результаты исследований, анализируются рентгенограммы, составляется и печатается протокол исследований. Здесь должны быть письменный стол и большие демонстрационные негатоскопы, стол с кинопроектором для анализа кинофильмов и шкафы для хранения оперативного массива рентгенограмм. Фотолабораторию желательно располагать смежно с процедурной и пультовой, что будет создавать оптимальные условия работы для рентгенолаборанта и сокращать время ожидания результатов исследования. Особенность оснащения фотолаборатории ангиографического комплекса состоит в наличии оборудования для обработки фото- и кинопленки. Площадь фотолаборатории 10 – 12 м2 . 7. Расчет защитных устройств от рентгеновского излучения. Защиту ангиографического комплекса рассчитывают на стадии проектирования учреждения с учетом типа аппарата, его размещения в помещении и времени работы. Цель расчета – обеспечить допустимый уровень мощности экспозиционной дозы и излучения на выходной поверхности защитного элемента. Предельно допустимые мощности дозы находятся в зависимости от категории облучения. В соответствии с Санитарными правилами работы с рентгеновским и ионизирующим излучением в учреждениях РФ установлены следующие категории облучения: Категория А . Это лица, работающие в помещении рентгеновского кабинета, связанные по своей профессии с работой с ионизирующим излучением. Категория Б . Это лица, работающие в помещениях, смежных с рентгеновским аппаратом, но не работающие непосредственно с рентгеновским излучением. Категория В . Это остальные лица из населения. Соответственно дозовые пределы этих категорий: 1,3 мР/час; 0,325 мР/час; 0,05 мР/час. Для лиц категории А установлена большая допустимая доза , так как они находятся под врачебным контролем, который ведется систематически, для них установлен рабочий день. Более продолжительный отпуск и укороченный минимальный стаж работы. Для проведения расчета также необходимо знать следующие параметры: 1. Номинальное напряжение Uном = 100 кВ, анодный ток Iа = 1 мА. 2. Высота помещений Н = 4 м. 3. Толщина перекрытий Нп = 0,35 м. 4. Номер этажа, на котором находится ангиографический комплекс – 3. 5. Расчетные расстояния от излучателя до стен, пола и потолка. В данном комплексе предусмотрена защита стен, пола и потолка, так как ангиографический комплекс находится на третьем этаже. Расчетные расстояния определим из проекта рентгеновского кабинета (рис.10, рис.11). При расчете защиты пола исходят из того, что человек, находящийся в помещении ниже, имеет рост 2 м. Для определения расчетных расстояний пола и потолка также необходимо знать высоту помещения, наименьшее расстояние РТ до пола и потолка, толщину межэтажных перекрытий. Рис. 10. Эскиз расположения источника излучения для расчета защитных устройств стен. Здесь расстояния R1 и R2 являются минимальными расстояниями от РТ до соответствующих стен. R1 = 2 м и R2 = 3 м. Рис. 11. Эскиз расположения источника излучения для расчета защитных устройств пола и потолка. Расчетные расстояния для защиты пола: R пола = r2 +Hп +r3, R пола = 1,3 + 0,35 + 2 = 4,65 м, где r2 = 1,3 м; r3 = Н – r4 = 4 – 2 = 2 м. Расчетные расстояния для защиты потолка: R пот = r1 +Hп, R пот = 0,8 + 0,35 = 4,65 м, где r1 = 0,8 м. Вычислим коэффициенты ослабления ионизирующего излучения для стен, пола и потолка по формуле:
где Iа – анодный ток; R – соответственно расчетное расстояние; D – допустимая мощность дозы (в зависимости от категории). 1. Рассчитаем коэффициент для стены Б:
2. Рассчитаем коэффициент для стены В:
3. Рассчитаем коэффициент для пола:
4. Рассчитаем коэффициент для потолка:
Из таблицы толщины защиты из свинца находим ближайшее расчетным значениям, но обязательно большее число. dстБ = 3,7 мм. dстВ = 2 мм. dпола = 2,2 мм. dпот = 2,9 мм При расчете и выполнении защитных устройств всегда необходимо учитывать защитные свойства уже имеющихся стен, пола и потолка. Зная толщину кирпичной или бетонной стены, пола или потолка, можно, пользуясь таблицей свинцовых эквивалентов строительных материалов, определить их свинцовый эквивалент. Если он равен или больше той толщины свинца, которая требуется по выполненному расчету, то никакой добавочной защиты не требуется. Если же он меньше требуемой толщины, то лучше всего покрыть стену, пол или потолок слоем баритобетонной штукатурки, то есть материалом, обладающим большим свинцовым эквивалентом. Имеются кирпичные стены толщиной 350 мм и 150 мм. По таблице их свинцовые эквиваленты соответственно равны 3,1 мм и 1,2 мм. Считают, что свинцовый эквивалент имеющихся пола и потолка равен 0,4 мм (железобетонные панели). Дополнительный слой равен разности расчетного значения свинцовой защиты и свинцового эквивалента. Соответственно: -для стены Б Dd = 0,6 мм; -для стены В Dd = 0,8 мм; -для пола Dd = 1,8 мм; -для потолка Dd = 2,5 мм; Из таблицы свинцовых эквивалентов строительных материалов выбираем соответствующие этим значениям толщины баритобетонных слоев. -Для стены Б Д = 18 мм -Для стены В Д = 18 мм -Для пола Д = 34 мм -Для потолка Д = 51,5 мм. Для стены используются баритобетонная штукатурка, а для пола и потолка используют порошковый баритобетон, который посыпают на пол под деревянное покрытие (для потолка на пол верхнего этажа). На стену баритобетонная штукатурка накладывается следующим образом: в стену заделываются металлические штыри 10 мм, к которым приваривают металлический каркас с ячейками 200*200 мм. К ним крепят стальную сетку. На полученную конструкцию накладывают штукатурку. Толщина баритобетонной штукатурки по стальной сетке не превышает 35 мм. Все защитные слои располагают на внутренней стене рентгенооперационной для исключения рассеянного излучения, которое особенно сильно возникает в деревянных частях конструкций. 8. Автоматический инъектор. Автоматический инъектор предназначен для непрерывного и прерывистого введения контрастного вещества в исследуемую область кровеносной системы и импульсного включения рентгеновских излучателей. Автоматический инъектор устанавливается на легком напольном штативе с четырехколесной опорой и состоит из следующих основных узлов: 1. Инъекторный блок с инъекционным шприцем. 2. Блок упавления. 3. Устройство для создания высокого давления. 4. Система подогрева контрастного вещества. В данном комплексе применяется автоматический инъектор марки МАРК-4, который показан на рисунке 10. Рис. 10. Автоматический инъектор. Шприц укрепляется на специальной головке, которая может быть установлена либо на кронштейне стола для катетеризации, либо на кронштейне инъекционного блока. Применяется два способа создания давления жидкости при инъекции: 1. Собственным компрессорным устройством с электромеханическим приводом. 2. От общей пневматической сети учреждения. Для предотвращения утечки раствора между поршнем и стенкой шприца на боковой поверхности поршня протачивают кольцевые канавки, в которые вставляются уплотнительные кольца. Такой инъектор способен развивать давление до 75 кг/см2 . Из баллона с высоким давлением воздух через редуктор поступает в цилиндр шприца и давит на поршень. В инъекторах применяются шприцы двух типов: - Стандартные металлостекляные, допускающие повторное использование после стерилизации. - Специальные из прозрачного пластика для однократного применеия. Шприц окружен с боков кожухом, в котором под действием насоса циркулирует нагретая вода. Она нагревается электроэлементом таким образом, чтобы контрастное вещество имело температуру 37 – 38 о С. Температура воды регулируется автоматически. Датчиком системы автоматического регулирования служит контактный термометр. Для контроля температуры контрастного вещества используется контрольный термометр, расположенный на панели инъектора. Блок задержки осуществляет эту операцию либо на ввод контрастного вещества, либо на съемку. Поэтому работа автоматического шприца синхронизирована с работой сменщика пленки. Инъектор системы МАРК-4 может работать в режимах непрерывного и интермитирующего введения. Движение поршня шприца осуществляется от электромотора. Для управления моментами начала ввода контрастного вещества часто используют биотоки сердца, что позволяет вводить контрастное вещество порциями в определенные фазы сердечного цикла. Продолжительность инъекции при таком введении составляет 0,1 – 0,5 секунды. Скорость введения контрастного вещества различна в зависимости от исследуемой части кровеносной системы. Кроме того, она зависит от внутреннего диаметра катетера. Выходная часть шприца имеет коническую форму и заполнение его контрастным веществом происходит в вертикальном положении. Благодаря этому воздушные пузырьки, оказавшиеся на стенках цилиндра шприца, поднимаются вверх. Дозированное введение контрастного вещества в определенные фазы дает возможность: 1. Обеспечить более щадящий режим для пациента и уменьшить вероятность возникновения чрезвычайных ситуаций. 2. Экономить контрастное вещество. 3. Улучшить качество изображений за счет незначительного перекрытия контраста от одной инъекции до другой. Инъектор характеризуется следующими данными: - Скорость истечения контрастного вещества 2 – 60 мл/сек. - Давление на поршень шприца 7 – 75 кг/см2 . - Задержка запуска рентгеновского излучателя относительно начала импульса инъекции 0,1 – 7 сек. - Индикация положения шприца (индикация объема в шприце контрастной жидкости) 0 – 100 мл. - Ограничение объема инъектируемой за один импульс жидкости – механическое (за счет определенного перемещения поршня шприца). - Инъекция – одиночная или серийная. - Синхронизация – по электрокардиограмме (сигналы от электрокардиографа). Эти ограны управления располагаются на лицевой панели блока управления. В соответствии с программой, установленной органами управления, инъектор обеспечивает ввод контрастного вещества, а затем в требуемом режиме включает рентгеновский излучатель. По окончании экспозиции он отсылает команду в пленкосменник для подготовки новой пленки и в исполнительный механизм стола на очередное шаговое перемещение его панели. Органы управления и настройки показаны на рисунке 11. Рис.11. Органы управления автоматического инъектора. 1. Кнопка включения. 2. Кнопка системы. 3. Сигнальный огонек. 4. Модуль объема. 5. Сенсорное устройство. 6. Модуль скорости. 7. Сенсорное устройство установки скорости. 8. Модуль задержки. 9. Сенсорное устройство установки температуры . 10. Пульт управления. 11. Шкала количества контрастного вещества. 12. Колба с контрастным веществом. 13. Устройство для создания высокого давления. В современных аппаратах управление инъектром осуществляется с помощью микро-ЭВМ. При этом используется запоминающее устройство с жесткими программами и устройством считывания с магнитных карт. ЭВМ же выдает сигналы на включение высокого напряжения на рентгеновской трубке, смену кадра после экспозиции и шаговое перемещение стола пациента, если оно предусмотрено условиями исследования. 9. Расчет энергоснабжения. Питание рентгеновских кабинетов осуществляется от трансформаторной подстанции (ТП), понижающей высокое напряжение распределительной сети. Для меньшего влияния резких изменений сетевого напряжения, которые вызваны включением и выключением других потребителей ТП. Питание, как рентгеновского аппарата, так и ангиографического комплекса осуществляют непосредственно от достаточно мощной подстанции. Ангиографический комплекс фирмы ДЖЕНЕРАЛ-ЭЛЕКТРИК питается отельным кабелем, присоединенным к подстанции. Энергоснабжение данного комплекса представлено на рисунке 12. От трансформатора подстанции ток передается в учреждение либо воздушной линией с проводами из алюминия или меди, либо низковольтным кабелем с алюминиевыми или медными жилами. Воздушная линия или кабельная проводка вводится в здание к главному магистральному щиту здания (МЩ). От МЩ электроэнергия передается разным потребителям по различным цепям: в осветительную сеть через групповые осветительные щитки, различным силовым приемникам - через силовые щитки и непосредственно к аппарату. Учитывая все сказанное, при расчетах берут трансформаторную подстанцию большей мощности, чем в расчетном значении.
Рис. 13. Схема энергоснабжения. ТП - трансформаторная подстанция. МЩ - магистральный щит. АОЩ - щиток аварийного освещения. АК - ангиографический комплекс. Рзд - остальные потребители здания. Росв - осветительная сеть. При проектировании лечебного учреждения, учитывая возможность пополнения рентгеновского отделения новыми аппаратами, необходимо выбрать трансформаторную подстанцию достаточной мощности. Для расчета энергоснабжения в данном ангиографическом комплексе имеем: 1. Мощность аппарата: - При снимках Рсн = 100 кВА, cosjсн = 0,95. - При просвечивании Рпр = 4 кВА, cosjпр = 0,97. 2. Мощность осветительной сети Росв = 4 кВт, cosjосв = 0,95. 3. Мощность, потребляемая термоустройствами ангиографического комплекса: Рсуш.шк. = 2,4 кВт - 2 шт. Ршсс = 0,8 кВт - 1 шт. Ртерм = SРсуш.шк + SРшсс = 2*2,4 + 0,8 = 5,6 кВт. 4. Мощность потребителей, подключенных к розеткам: Рроз = 0,2*0,6*N кВт, где N - число розеток в помещениях. Рроз = 0,2*0,6*48 = 5,76 кВт. 5. Мощность, потребляемая остальными потребителями здания: Рзд = 36 кВт, cosjзд = 0,93. По имеющимся данным определяем: а) активную результирующую мощность, потребляемую от трансформаторной подстанции. Ракт = Рзд + Рсн* cosjсн + Ртерм + Росв + Рроз Ракт = 36 + 100*0,95 + 5,6 +4 + 5,76 = 146,36 кВт. б) реактивную результирующую мощность, потребляемую от трансформаторной подстанции. Рреакт = где sinjзд
= sinjосв
= sinjсн
= Рреакт = в) Определяем суммарную мощность всех потребителей трансформаторной подстанции. Робщ = г) По таблице типономиналов выбираем мощность трансформаторной подстанции: Ртп = 160 кВА. Расчет сечения токоведущей жилы. При расчете сечения проводов принимаем, что рабочие режимы аппаратов должны быть обеспечены при отключении напряжения не более чем на ±10 % при включении аппарата на полную нагрузку. Итак, допустимые потери напряжения ΔU = 10 % от Uном. Потери в трансформаторной подстанции при максимальной нагрузке, как правило, не превышают 5 %. Для проведения расчетов условно принимаем, что оставшиеся 5 % допустимых потерь напряжения распределяются примерно поровну между участками ТП – МЩ и МЩ – АК (т.е. по 2,5 %). Расчет сечения токоведущей жилы кабеля или провода на участке ТП – МЩ. Для проведения расчета необходимы следующие данные: Напряжение сети Uс = 220/380 В. Частота сети fс = 50 Гц. Длина провода на участке ТП – МЩ Lтп-мщ = 120 м. На данном участке падение напряжения не должно превышать 2,5 % от номинального напряжения. Сечение одной токоведущей жилы рассчитывается по формуле:
где М – момент нагрузки М = Робщ xLтп-мщ = 146,36 x 120 = 17563,2 кВт*м С – коэффициент, который зависит от материала проводника, рода тока и величины напряжения. Его значение находят из таблиц: для трехфазной цепи с нулем при Uс = 380/220 В С = 72. ΔU% = 2,5 % - потери напряжения на участке ТП – МЩ.
По таблице находим ближайшее расчетному значению сечения число: Sвыб = 120 мм2 при Iпр.доп. = 350 А. Определим величину тока на расчетном участке:
На расчетном участке фактический ток Iтп-мщ = 233,37 А, следовательно, выбранное сечение Sвыб = 120 мм2 при Iпр.доп. = 350 А подходит по токовой нагрузке. Таким образом, для проводки на участке ТП-МЩ принимаем кабель марки АВ 3x120 + 1x35. Фактические потери напряжения на расчетном участке:
Расчет сечения на участке МЩ – АК. Для аппарата фирмы ДЖЕНЕРАЛ-ЭЛЕКТРИК сопротивление питающей сети не должно превышать 0,3 Ом. Расчетное сечение провода на участке МЩ – АК находим по формуле:
где ρ – удельное сопротивление материала. Lмщ-ак – расстояние от МЩ до силового щита аппарата. Lмщ-ак = (N - 1)(2H – h + Hп) + Lпл, где N – номер этажа, N = 3 Н – высота помещений, Н = 4 м. H – высота, на которой расположены щитки, h = 1,6 м. Нп – толщина перекрытий, Нп = 0,35 м. Lпл – длина кабеля по плану, Lпл = 35,55 м. Lмщ-ак = (3 - 1)(2*4 – 1,6 + 0,35) + 35,55 = 49,05 м. Rа – допустимое сопротивление на участке МЩ – АК. Для проводки от МЩ до АК выбираем провод марки ПРТО с медными жилами, следовательно ρ = 0,017 Определим допустимое сопротивление на участке: Rа = Rпд – (Rтп +Rтп-мщ), где где ΔU = 5%*Uхх = 19 В. Uхх = 380 В. Σiтп-мщ = Iф = 233,37 А.
Rа = 0,3 – (0,08 + 0,051) = 0,17 Ом.
Выбираем провод сечением Sвыб = 16 мм2 при Iпр.доп. = 75 А. Для проверки сечения по длительно-допустимому току принимаем величину тока:
где Следовательно, выбранное сечение провода подходит по длительно-допустимому току. Окончательно выбираем кабель марки ПРТО 3x16 + 1x10. Определим фактическое сопротивление проводов на участке от МЩ до АК:
Определяем фактическое сопротивление проводов на участке ТП – АК: Rтп-ак = Rмщ-ак + Rтп + Rтп-мщ, Rтп-ак = 0,16 +0,08 +0,051 = 0,29 Ом. Это сопротивление не превышает сопротивление падения сети Rпс = 0,3 Ом для ангиографического комплекса. 10. Разработка мероприятий по техническому обслуживанию ангиографического комплекса. Система технического обслуживания и ремонта медицинской техники представляет собой комплекс взаимосвязанных организационно-технических положений и мероприятий, необходимых для поддержания и восстановления качества изделий при эксплуатации. Существует отраслевой стандарт системы технического обслуживания и ремонта медицинской техники (СТОИР МТ), на основании которого организуются мероприятия по техническому обслуживанию. Положения, устанавливаемые данным стандартом, должны применяться как обязательные общие требования и конкретизироваться на всех стадиях проектирования, испытаний, изготовления, эксплуатации, технического обслуживания и ремонта. Требования технического обслуживания с учетом специфики аппарата должны быть более конкретно оговорены в ремонтных и эксплуатационных документах. Эксплуатационная и ремонтная документация на изделия медицинской техники подлежит согласованию с Головным техническим и метрологическим институтом Министерства РФ. Техническое обслуживание и ремонт медицинской техники осуществляют технические службы учреждений здравоохранения, предприятия системы МЕДТЕХНИКА, ведомственные технические службы. Основным назначением технического обслуживания (ТО) является выявление и предупреждение отказов и неисправностей ангиографического аппарата путем своевременного выполнения работ, обеспечивающих их работоспособность в течение планового периода между очередными обслуживаньями. Виды технического обслуживания должны устанавливаться в техническом задании, технических условиях и эксплуатационной документации на каждый разработанный ангиографический аппарат в соответствии с требованиями данного стандарта. Устанавливаются следующие виды технического обслуживания: текущее и плановое ТО. Данные виды технического обслуживания различаются периодичностью проведения, содержанием и объемом работ. Содержание, порядок и правила проведения предусмотренных для данного аппарата видов технического обслуживания указываются в эксплуатационных документах. Состав работ каждого вида ТО определяется разработчиком изделия на основе общих рекомендаций с учетом назначения, конструкции и условий применения аппарата. Эксплуатационная документация для каждого вида ТО должна указывать технологическую последовательность выполнения работ, порядок и правила выполнения основных операций, распределение обязанностей между исполнителями, а также общие виды или неоперационные нормативы времени и трудоемкости работ. Текущее техническое обслуживание проводится на месте специалистами службы МЕДТЕХНИКА с целью установления необходимости выполнения непланового технического обслуживания и определения его содержания, объема и способов выполнения. Назначением текущего ТО является проведение минимального необходимого объема работ, обеспечивающего работоспособность ангиографического аппарата до очередного планового ТО. Текущее ТО выполняется, при необходимости, по результатам текущей проверки технического состояния (ПТС). В отдельных случаях текущее ТО может производиться по результатам ПТС перед использованием, а также после использования изделия. Перечень и содержание работ, проводимых на аппарате, после его использования, должны указываться в эксплуатационной документации. Плановое ТО аппарата производится в плановом порядке в установленные сроки. Периодичность объем проведения планового технического обслуживания определяется разработчиком с учетом назначения, конструктивных особенностей, сложности, надежности изделия и условий его эксплуатации и указываются в эксплуатационной документации. Основное назначение планового ТО состоит в определении степени изменения технического состояния аппарата после предыдущего планового ТО; в выявлении его изношенных или поврежденных составных частей; проведении настроечно-регулировочных и планово-предупредительных работ, обеспечивающих безопасное функционирование изделия в течении периода до следующего планового ТО. При техническом обслуживании ангиографического комплекса специалистами службы МЕДТЕХНИКА выполняется типовой перечень работ: 1. Общая протирка и очистка изделия от пыли, грязи и т.п. 2. Подтяжка всех ослабленных крепежных элементов, уплотнений, сальников. 3. Замена отказавших предохранителей, индикаторных ламп и т.д. 4. Четкость срабатывания и фиксации переключателей, тумблеров, контакторов и реле, компенсаторов, крепление ручек. 5. Текущие планово-предупредительные работы, специфические для данного ангиографического комплекса, необходимость, состав и содержание которых должно быть установлено в эксплуатационной документации. Весь этот перечень работ, если это необходимо, выполняется при текущем ТО. При плановом ТО выполняются работы текущего ТО, а также некоторые другие работы: 1. Проверка оболочки высоковольтных кабелей, отсутствие течи масла и воздушных пузырей в кожухах трубок, соединительных кабелей, проводов и шлангов, заземления аппарата. 2. Проверка состояния потолочных рельс, тросовой системы, каретки и уравновешивателя на штативе снимков, средств индивидуальной защиты от рентгеновского излучения. 3. Проверка защиты рентгеновской трубки от перегрузки. Все эти работы выполняются два раза в месяц. 4. Удаление следов коррозии и окисления с наружных поверхностей аппарата. 5. Смазка основных механизмов и узлов. 6. Замена смазки и рабочих жидкостей. 7. Проверка соответствия выдержек реле времени и пускового устройства вращения анода. 8. Проверка схемы аппарата согласно карты сопротивлений и напряжений. Этот перечень работ выполняется один раз в шесть месяцев. Существуют также работы, которые выполняются один раз в два года – это такие как: полная комплексная настройка и регулировка аппарата на всех режимах, сдача в поверку электроизмерительных приборов. Также есть мероприятия, которые проводятся через еще больший промежуток времени – пять лет, это такие работы, как проверка качества трансформаторного масла, его замена в генераторном устройстве и т.п. Кроме этого перечня ряд работ выполняется медицинским персоналом данного ангиографического комплекса: проверка готовности рабочих мест к работе, проверка исправности кассет и наличия в них пленки, проверка перед работой аппарата работы светового центратора, установка режимов работы аппарата соответственно его характеристикам, установка защитных ширм на рабочие места и т.п. В основном все перечисленные работы выполняются каждый день перед началом работы аппарата и излагаются в разделе ПОДГОТОВКА К РАБОТЕ эксплуатационной документации данного аппарата. РАЗДЕЛ 3. ОРГАНИЗАЦИЯ ПРОИЗВОДСТВА. Организация рабочего места по монтажу и наладке ангиографического комплекса. Монтаж рентгеновского аппарата возможен только при наличии утвержденного в рентгеноцентре технологического проекта ангиографического комплекса, который создается на основании действующих ГОСТов и стандартов, оговаривающих как строительные нормы и правила, так и нормы защиты от рентгеновского излучения. Полнота и качество выполнения монтажно-наладочных работ в значительной мере определяют возможность безотказной эксплуатации аппарата, а документирование технических характеристик периода монтажа и наладки обеспечивают эффективность периодического контроля технического состояния аппарата. Протоколы испытания аппарата при наладке следует хранить в контрольно-техническом журнале ангиографического комплекса. На основании проекта производится проверка готовности помещений рентгеновского кабинета к монтажу аппарата. К началу монтажа в помещении кабинета должны быть завершены строительные работы и подготовлены необходимые технологические коммутации. 1. Выполнен ввод силового кабеля или пучка проводов питающей сети (однофазного или трехфазного напряжения в зависимости от типа аппарата), оканчивающийся рубильником или автоматическим выключателем с ручным приводом. При этом активное сопротивление проводки не должно превышать допустимого значения, которое зависит от мощности аппарата данного типа (в соответствии с ГОСТом 26140-84). Следует также проверить отклонение величины питающего напряжения от номинальной величины (без нагрузки аппарата), которое не должно превышать ±10 %. Питающая сеть к аппарату и питание освещения кабинета, вентиляции и другого вспомогательного оборудования, не связанного с аппаратом функционально, должны быть выполнены раздельно. Так как рентгеновское отделение является мощным потребителем, то его питание осуществляется по отдельной линии. Заранее, до начала монтажных работ, необходимо определить: - напряжение питающей подстанции; - мощность питающей подстанции (запас мощности должен быть не менее 30 %); - род тока питающей сети; - сопротивление сети и подводящей линии. 2. Выполнены каналы и трубопроводы для прокладки в них соединительных кабелей между составными частями аппарата (рабочими местами), а также прокладка заземляющих проводов или шин вторичного заземления. Каналы должны иметь цементированные и бетонированные чистые боковые стенки и закрываться съемными крышками. Сечение каналов и трубопроводов должны быть достаточны для свободной прокладки в них кабеля. 3. Ввод контурного заземления от заземлителя (находящегося в непосредственном соприкосновении с землей) должен быть независим от питающей сети. Сопротивление заземляющего устройства (от заземлителя до ввода в кабинет) измеряют до начала монтажа. Протокол измерения предъявляется медицинским учреждением (заказчиком) предприятию «Медтехника», выполняющему монтажно-наладочные работы. 4. В помещении рентгеновского отделения должна быть выполнена приточно-вытяжная вентиляция с не менее чем 4-х кратным обменом воздуха в час. 5. Необходимо проверить качество выполнения сантехнических работ: во всех рентгенодиагностических процедурных и фотолабораториях должно быть горячее и холодное водоснабжение. 6. Обязательно перед началом работ необходимо проверить соответствие площадей помещений нормам СНИП и СПР, а также наличие стационарных защитных устройств от неиспользованного РИ в виде барито-бетонной штукатурки в соответствии с актом приемки помещений. 7. Необходимо проверить наличие осветительных приборов. Освещение должно быть естественным и искусственным. Естественное освещение осуществляется через окна. 8. Температура в помещении процедурной комнаты должна быть +20±2о С. В качестве нагревательных приборов должны быть использованы приборы закрытого типа. 9. Пол в кабинете должен быть только деревянный, стены окрашены в светлые, теплые тона, потолок должен быть белым. Обо всех несоответствиях электромеханик сообщает администрации лечебно-профилактического учреждения. Приступать к монтажу аппарата следует при наличии акта о приемке помещения и протокола измерения сопротивления питающей сети. Наличие этих документов и детальное ознакомление электромеханика с технологическим проектом и самими помещениями позволяет избежать работ по доделке помещений в процессе монтажа или простоев уже смонтированной аппаратуры. Далее электромеханик производит операции, перечисленные в технологической карте по монтажу и наладке ангиографического комплекса (см. Раздел 4). Таким образом, организация участка по монтажу и наладке ангиографического комплекса сводится к организации предмонтажных работ. РАЗДЕЛ 4. ЭКОНОМИКА ПРЕДПРИЯТИЯ. Расчет себестоимости и отпускной цены монтажа и наладки ангиографического комплекса. Себестоимость работ по ремонту, монтажу и техническому обслуживанию – это денежное выражение затрат предприятия на производство этих работ. Для расчета полной себестоимости и отпускной цены монтажа и наладки ангиографического комплекса необходимы следующие данные, представленные в таблице 1. Таблица 1. Исходные данные для экономического расчета полной себестоимости монтажа и наладки аппарата.
Также к исходным данным для расчета монтажа и наладки ангиографического аппарата являются: -Операционно-технологическая карта монтажа и наладки аппарата. -Спецификация на материалы и детали, употребляемые для монтажа и наладки. -Оптовые цены на материалы и детали. Таблица 2 представляет собой операционно-технологическую карту, в которой указаны все необходимые операции по монтажу и наладке ангиографического комплекса, разряды этих операций, нормы времени, часовые тарифные ставки и вычисляются расценки. Таблица 2. Операционно-технологическая карта монтажа и наладки.
Прямая заработная плата (ЗПпр ) на монтаж и наладку аппарата равна сумме расценок и составляет 4484,71 руб. Определяем основную заработную плату:
где П – премии и доплаты для рабочих;
где Ппд – планируемый процент премий и доплат для рабочих (в таблице 1). Определяем дополнительную заработную плату:
где Пдз – процент дополнительной заработной платы для рабочих (в таблице 1). Определяем отчисления по единому социальному налогу:
где Есн – процент единого социального налога (в таблице 1). Определяем цеховые расходы:
где Цк –цеховая косвенная расходов (в таблице 1). Определим общезаводские расходы:
где Ор – процент общезаводских расходов. Определяем стоимость материалов: Основанием для расчета стоимости материалов является норма расхода материалов и действующие цены на них. Произведем расчет стоимости основных материалов, затраченных на монтаж аппарата. Расчет представлен в таблице 3. Таблица 3.
Стоимость материалов (См ) равна 47,50 руб. Определим стоимость материалов с транспортно – заготовительными расходами:
где Смтз – транспортно - заготовительные расходы;
где ТЗр – процент транспортно – заготовительных расходов. Определяем цеховую себестоимость:
Сц = 7175,54+ 1076,33+ 29547,17+53,20 + 7591,72 = 18850,96 , руб. Определяем заводскую себестоимость:
Определяем внепроизводственные расходы:
где Вр – процент внепроизводственных расходов. Определяем полную себестоимость монтажа аппарата:
Определяем отпускную цену монтажа и наладки ангиографического комплекса:
где П – планируемый процент прибыли
На основании вышепроизведенных расчетов заполним форму калькуляции себестоимости монтажа и наладки ангиографического комплекса, сведенную в таблицу 4. Таблица 4. Калькуляция себестоимости.
Для наглядности приведем круговую диаграмму калькуляции себестоимости. Рис 9. Круговая диаграмма калькуляции полной себестоимости монтажа и наладки ангиографического комплекса. РАЗДЕЛ 5. Мероприятия по технике безопасности и противопожарной технике. 1. При работе в ангиографическом комплексе. Правила техники безопасности. Задачей техники безопасности является создание безопасных условий труда, полностью исключающих возможность травматизма. Причинами травматизма являются, как правила, не случайные обстоятельства, а постоянно существующие на рабочих местах опасности, в отношении которых не были приняты своевременно меры по устранению. Основной опасностью в ангиографическом кабинете является опасность облучения рентгеновскими лучами. Они оказывают вредное воздействие на организм человека. В промышленности мы встречаемся с двумя видами рентгеновского излучения: целевого назначения (используемое) и неиспользуемое рентгеновское излучения. Средства и методы защиты для обоих видов излучения одинаковые, разница лишь в том, что при целевом назначении рентгеновского источника задается заведомо уровень интенсивности излучения и в установках, где оно используется уже при проектировании, сразу предусматриваются меры и средства защиты. Биологическое воздействие рентгеновского излучения связано с ионизационным эффектом в тканях живого организма и зависит от величины поглощенной энергии. Величину поглощенной энергии оценивают дозой облучения и мощностью дозы. Доза облучения – это величина энергии, поглощаемой единицей массы облучаемого вещества. За единицу дозы принят Рентген (Р). Мощность дозы – доза, поглощаемая в массе вещества за единицу времени. Предельно допустимые мощности дозы находятся в зависимости от категории облучения. В соответствии с Санитарными правилами работы с рентгеновским и ионизирующим излучением в учреждениях РФ установлены следующие категории облучения: Категория А . Это лица, работающие в помещении рентгеновского кабинета, связанные по своей профессии с работой с ионизирующим излучением. Категория Б . Это лица, работающие в помещениях, смежных с рентгеновским аппаратом, но не работающие непосредственно с рентгеновским излучением. Категория В . Это остальные лица из населения. При работе с рентгеновскими излучателями необходим строгий дозиметрический контроль. Дозиметрический контроль является важной частью службы безопасности и включает в себя измерение индивидуальных доз облучения работающих. Контроль интенсивности излучения на рабочем месте, контроль эффективности защитной экранировки установок. Уровень излучения от каждой установки проверяется один раз в полгода и после каждого нарушения защитной экранировки. Нельзя вводить аппарат в эксплуатацию после монтажа без приема дозиметристов. Измерение мощности дозы за защитными средствами производится при максимальном анодном напряжении, при наименьшем расстоянии от источника и на рабочих местах. Снижение уровня излучения на рабочих местах и ликвидация его воздействия на обслуживающий персонал достигается применением общих и индивидуальных средств защиты. К общим средствам защиты относятся: экранированные помещения от возможности проникновения излучения в соседние помещения и от возможности возникновения вторичного излучения, возникающего при отражении первичного излучения большой энергии, как от различных поверхностей, так и от стен и потолков; экранирование самого источника и пименение экранов дистанционного управления. К индивидуальным средствам защиты относятся: защитные очки, козырьки из просвинцованного стекла, просвинцованные резиновые фартуки, перчатки, юбочки, защита расстоянием и временем. Проект ангиографического кабинета должен быть согласован с органами санитарного надзора. В нем должна быть приложена должностная пояснительная записка с указанием расчета защиты и дозиметрических размеров. Правила противопожарной техники. При работе в ангиографическом кабинете с рентгеновским аппаратом необходимо соблюдать правила противопожарной безопасности. При эксплуатации аппарата возможны чрезмерные нагревания изоляции обмоток и других элементов оборудования, что может послужить причиной возникновения пожара. Поэтому в зависимости от пожарной опасности применяются аппараты, препятствующие возникновению пожара. В вентиляционных каналах может скапливаться горючая смесь, пыль, которая может воспламеняться. И поэтому во всех системах вентиляции должно быть обращено большое внимание на устройство каналов вентиляции. Системы двигателей и пусковых установок для вентиляционных механизмов должны бать подобраны и смонтированы в строгом соответствии с требованиями для данной категории пожарной опасности помещения. Отопительные системы разделяются на местные и центральные. В рентгенокабинетах желательно иметь центральную связь отопления, которая является менее опасной в пожарном отношении. Персонал рентгенокабинета обязан знать и строго выполнять правила пожарной безопасности, пройти инструктаж о соблюдении противопожарного режима в отделении, а также должен быть обучен действиям на случай возникновения пожара и оказания помощи пострадавшим. Руководитель отделения назначает ответственного за пожарную безопасность в каждом кабинете. В каждом помещении отделения должна быть вывешена таблица с указанием ответственного за противопожарную безопасность. В каждом кабинете должен быть пенный огнетушитель и обеспечен свободный доступ к нему, а также электрощиткам и электромоторам. Не допускается перегрузка электросети, применение электропроводов с поврежденной или пересохшей изоляцией, некалиброванных плавких вставок. Площади ангиографического комплекса должны соответствовать нормам. Сетевой рубильник ставится не далеко от пульта управления и на высоте не более 1,6 метра, что создает возможность обесточить ангиографический аппарат в случае возникновения пожара. Если в кабинете имеется наркозно-дыхательная аппаратура, то пол покрывают антистатическим линолеумом. Использованная рентгеновская пленка, либо видеокассета должны храниться в архиве, двери которого должны быть обиты металлической жестью. Около лестничной площадки подвешены огнетушители в таком месте, что в случае возникновения пожара ими будет удобно воспользоваться. 2. При техническом обслуживании ангиографического комплекса. При техническом обслуживании аппарата необходимо соблюдать общие требования безопасности. 1. К самостоятельной работе по техническому обслуживанию допускаются лица не моложе 18 лет, пригодные по состоянию здоровья и имеющие квалификацию группы не ниже 4. При этом они должны иметь при себе удостоверение, подтверждающее право на допуск к работе, должны быть обучены правилам техники безопасности и, уметь оказать первую медицинскую помощь. 2. Основой организации безопасной работы электромеханика является повышение технической грамотности, дисциплина и овладение безопасной и рациональной работой, строгое выполнение всех мероприятий, обеспечивающих безопасность работ. 3. При техническом обслуживании элементов аппарата под напряжением необходимо выполнять следующие мероприятия: -Находящиеся под напряжением силовые части должны располагаться перед регулировщиком или только с одной его стороны. -Организация постоянного надзора за регулировщиком при работе. -Регулировщик должен применять пригодные изолирующие защитные средства и приспособления. -До начала работ необходимо проверить наличие и исправность инструмента, защитных средств. Защитные средства, непроверенные и без клейма, свидетельствующего о их пригодности, должны быть изъяты из употребления. -Регулировщику запрещается применять защитные средства, не удовлетворяющие требованиям мер безопасности и регулировать прибор, находящийся под напряжением без использования защитных средств. -Защитные средства и приспособления должны исключать случайное прикосновение регулировщика к неизолированным токоведущим частям. -Все подключения и отключения контрольно-измерительных приборов при регулировке, требующие разрыва электрических цепей, находящиеся под напряжением, должны производиться только при полном снятии напряжения. 4. Для технического обслуживания ангиографического комплекса необходимо организовать рабочее место. 5. Регулировка должна производиться в присутствии второго лица, имеющего группу по технике безопасности не ниже четвертой. ЛИТЕРАТУРА 1. Тихонов К.Б. Техника рентгенологического исследования. Медицина Л., 1978 г. 2. Под ред. Переслегина И.А. Технические средства рентгенодиагностики. М., Медицина, 1981 г. 3. Под ред. Клюева В.В. Рентгенотехника. Машиностроение, М., 1980 г. 4. Санитарные правила работы при проведении медицинских рентгенологических исследований. 1981 г. 5. Кишковский А.Н., Тютин Л.А. Медицинская рентгенотехника. М., Медицина. 6. Строительные нормы и правила. 7. Карпов Ф.Ф., Козлов В.Н. Справочник по расчету проводов и кабелей. Энергия. М., 1976 г. |
||||||||||||||||||||||||||||||||||||||||||||||||||||||||||||||||||||||||||||||||||||||||||||||||||||||||||||||||||||||||||||||||||||||||||||||||||||||||||||||||||||||||||||||||||||||||||||||||||||||||||||||||||||||||||||||||||||||||||||||||||||||||||||||||||||||||||||||







