ХАРАКТЕРИСТИКА ОБ’ЄКТА ГОСПОДАРСЬКОЇ ДІЯЛЬНОСТІ "МАШИНА ДЛЯ ВИЙМАННЯ АНОДНИХ ШТИРІВ АЛЮМІНІЄВОГО ЕЛЕКТРОЛІЗЕРА" ЯК ОБ’ЄКТА ДОСЛІДЖЕННЯ”

Страница 13

Заступник начальника

КП ХКБМ Л.Г. Луценко

4.5 Креслення

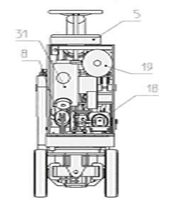
Машина для виймання анодних штирів алюмінієвого електролізера

Фіг. 1

Фіг. 2

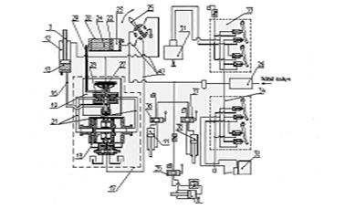
Машина для виймання анодних штирів алюмінієвого електролізера

Фіг. 3

Фіг. 4

4.6 Реферат

Реферат

1. Об'єкт винаходу. Машина для виймання анодних штирів алюмінієвого електролізера.

2. Галузь застосування. Винахід належить до області електрометалургії, зокрема до устроїв для виймання анодних штирів з електролізних ванн з боковим підводом струму.

3. Сутність винаходу. Машина, що містить самохідне шасі, поворотну платформу, де розміщені робочий орган з захватом, який закріплений на опорно-направляючому пристрою, пневмопривід, гідровузол, що складається з плунжерного насосу, який має дві гідравлічні порожнини і пневматичну частину та клапанного розподільника, який включає до себе чотири зворотних клапана та клапан, що керується, пневмогідроперетворювач, механізм повороту платформи, механізми подачі і підйому робочого органу, гідравлічні та пневматичні магістралі, сидіння для оператора. Пневмогідроперетворювач виконаний як циліндр, де внутрішня порожнина за допомогою поршня розділена на пневматичну і гідравлічну, до того ж два зворотних клапана і зворотний клапан, що керується, встановлені з можливістю перепуску рідини в лінії пневмогідро перетворювач—клапанний розподільник—гідравлічні порожнини насосу і робочий орган, а два інших зворотних клапана встановлені з можливістю перепуску рідини, по черзі, в лінії гідравлічна порожнина насосу— клапанний розподільник—робочий орган, з одночасним перепуском рідини в лінії пневмогідроперетворювач—гідравлічна порожнина насосу. Крім того, механізм подачі робочого органа, гідровузол, механізм повороту платформи, пневмогідроперетворювач і сидіння для оператора встановлені один над другим, а робочий орган і сидіння для оператора розміщені на одній лінії.

5. РОЗРОБКА ДОКУМЕНТІВ ЗАЯВКИ НА ПРОМИСЛОВИЙ ЗРАЗОК

5.1 Вимоги щодо документів заявки на промисловий зразок

5.1.1 Загальні вимоги до змісту документів заявки - Заявку складають українською мовою;- Документи заявки, які потребують подальшого перекладу, можуть бути подані мовою оригіналу в одному примірнику, їх переклад - також у одному примірнику.Якщо опис промислового зразка викладено іншою мовою, то для збереження дати подання його переклад повинен надійти до Укрпатенту протягом двох місяців від дати подання заявки;- Заявка не повинна містити матеріалів, що суперечать публічному порядку, принципам гуманності і моралі, зневажливих висловлювань стосовно промислових зразків та результатів діяльності інших осіб, а також відомостей і матеріалів, які вочевидь не стосуються або не є необхідними для визнання документів такими, що відповідають вимогам цих Правил;- В описі промислового зразка і пояснювальних матеріалах до опису використовують, як правило, стандартизовані терміни і скорочення, а за їх відсутності - загальновживані в науковій і технічній літературі.При використанні термінів і скорочень, що не є загальновживаними, необхідно пояснити їх значення при першомувживанні в тексті.- В описі промислового зразка необхідно зберігати єдність термінології, тобто одні й ті самі ознаки повинні називатися однаково. 5.1.2 Вимога єдності промислового зразка- Згідно з пунктом 3 статті 11 Закону заявка повинна стосуватися одного промислового зразка і може містити його варіанти (вимога єдності). 5.13 Склад заявкиЗаявка повинна містити:-заяву про видачу патенту в одному примірнику;-комплект зображень виробу (власне виробу чи у вигляді його макета, - або малюнка), що дають повне уявлення про зовнішній вигляд виробу у двох примірниках;-опис промислового зразка в одному примірнику;-креслення, схему, карту в одному примірнику. 5.1.4 Заява про видачу патентуЗаяву про видачу патенту (далі - заява) подають за встановленою формою, наведеною в додатку до цих Правил. Якщо відомості не можуть бути повністю розміщені за браком місця у відповідних графах, то їх наводять на додатковому аркуші за тією самою формою із зазначенням у відповідній графі заяви -"див. на окремому аркуші". 5.1.5 Комплект зображень виробу- Комплект зображень виробу (власне виробу чи у вигляді його макета або малюнка) повинен давати повне уявлення про зовнішній вигляд виробу. Зокрема, комплект зображень тривимірного виробу може містити загальний вигляд виробу, вигляди спереду, зліва, справа, ззаду, зверху, знизу та зображення фрагментів виробу тощо. Для двовимірного виробу достатньо, як правило, навести одне зображення. Комплект зображень виробу з повторюваним малюнком має містити окреме зображення цього малюнка.- Комплект зображень виробу, який може трансформуватися (розчинятися, складатися тощо), такого як холодильник, пилосос, кухонний комбайн тощо, має містити окреме зображення такого виробу у трансформованому вигляді.- Комплект зображень набору (комплекту) виробів має містити зображення загального вигляду набору (комплекту) та зображення потрібних виглядів кожного виробу, що входить до набору (комплекту). Якщо загальний вигляд набору (комплекту) виробів технічно неможливо представити на одному зображенні, комплект зображень набору (комплекту) виробів має містити зображення фрагментів набору (комплекту), сукупність яких дає повне уявлення про загальний вигляд набору (комплекту).- Зображення виробу, однією із суттєвих ознак якого є колір, наводяться в кольоровому виконанні. В іншому разі зображення виробу наводяться лише в чорно-білому виконанні.- Зображення виробу мають бути чіткими і ясними. Виріб зображається повністю при рівномірному освітленні на нейтральному фоні, як правило, без сторонніх предметів. Окремі деталі виробу мають добре проглядатися не тільки на освітленому, але й на тіньовому його боці.- Зображення виробу представляються фотографіями та/або іншими репродукціями, виконаними будь-якими засобами, зокрема засобами комп'ютерної графіки. Їх розмір має бути в межах від 30х30 мм до 160х160 мм.- Фотографії та інші репродукції наклеюються або відтворюються безпосередньо на аркушах білого паперу формату А4. На одному аркуші паперу розміщуються не більше 25 зображень виробу.- На кожному аркуші комплекту зображень виробу зверху зазначається назва промислового зразка. Якщо промисловий зразок стосується набору (комплекту) виробів, під назвою промислового зразка зазначається назва виробу, зображення якого представлені на аркуші.- Під кожним зображенням виробу зазначаються номер зображення та вид вигляду ("Загальний вигляд", "Вигляд спереду" іт. ін.), назва фрагмента тощо. Номер зображення виробу складається з двох чисел, розділених крапкою. Перше число означає номер варіанта виробу, друге число - порядковий номер вигляду виробу. Наприклад, зображення першого варіанта виробу нумеруються відповідно 1.1, 1.2, 1.3 і т. ін., зображення десятого варіанта виробу нумеруються відповідно 10.1, 10.2, 10.3 і т. ін. Зображення загального вигляду виробу нумерується першим, потім інші вигляди. Зображення загального вигляду набору (комплекту) виробів або його фрагментів нумеруються в порядку, установленому цим пунктом для нумерації зображень виробу. 5.1.6 Опис промислового зразкаОпис містить такі розділи:- назва промислового зразка;- прізвище, ініціали автора промислового зразка;- призначення та галузь застосування промислового зразка;- перелік зображень, креслень та схем, схем та карт;Назва промислового зразка повинна характеризувати його призначення, відображати його суть і, за можливості, відповідати певній рубриці МКПЗ. Назва промислового зразка маловідомого або нового призначення повинна містити посилання на галузь його застосування, наприклад: "Машина для виймання анодних штирів алюмінієвого електролізера". Якщо промисловий зразок має варіанти виконання відповідно до пункту 3.4 цих Правил, то після назви в дужках указують кількість варіантів. Зокрема, якщо колір є суттєвою ознакою виробу, то варіантами виконання такого виробу можуть бути варіанти його виконання у різних кольорах, наприклад: "Чайний сервіз (три варіанти)".Розділ "Призначення та галузь застосування промислового зразка" доцільно починати словами: "Заявляється зовнішній вигляд виробу, призначеного для .". Далі за текстом розкривається, в якій галузі промисловості або іншій сфері діяльності буде використовуватись заявлений виріб із зазначенням його функціонального призначення. За потреби, у цьому ж розділі вказуються об'єкти (системи), з якими використовується виріб.5.1.7 Креслення, схеми, карти- Креслення, схеми та карти включаються до складу заявки в разі потреби пояснення суті промислового зразка, визначення габаритів та співвідношень розмірів загального вигляду виробу чи його елементів, пояснення ергономічних особливостей зовнішнього вигляду виробу тощо.- Креслення, схеми та карти мають бути пояснені в описі промислового зразка та відповідати зображенням виробу.- Креслення та схеми позначаються словом "Рисунок" з відповідним тексту опису наскрізним номером, а саме: "Рисунок 1", "Рисунок 2" тощо. На кожному аркуші креслень та схем зазначається назва промислового зразка.- Креслення та схеми виконуються відповідно до правил креслення на щільному, білому, гладкому папері чіткими чорними лініями і штрихами, які не витираються, без розтушовування і розмальовування.- Конфекційна карта виробу (зразок тканини, шкіри, фурнітури, обробки тощо, що рекомендується для виготовлення виробу) представляється, якщо промисловий зразок стосується виробу легкої та текстильної промисловості. Конфекційна карта виробу з повторюваним малюнком (килими, тканини тощо) представляється в розмірі цього малюнка.